LEMON Manuals: Even more car manuals for everyone: 1960-2025
Home >> Toyota >> 2009 >> Venza 2.7 E, AWD >> Repair and Diagnosis >> Engine Performance >> System >> Engine Control System (1AR-FE) - System Testing, Removal & Installation >> EVAP System >> Description
April 5, 2026: LEMON Manuals is launched! Read the announcement.

EVAP System: Description

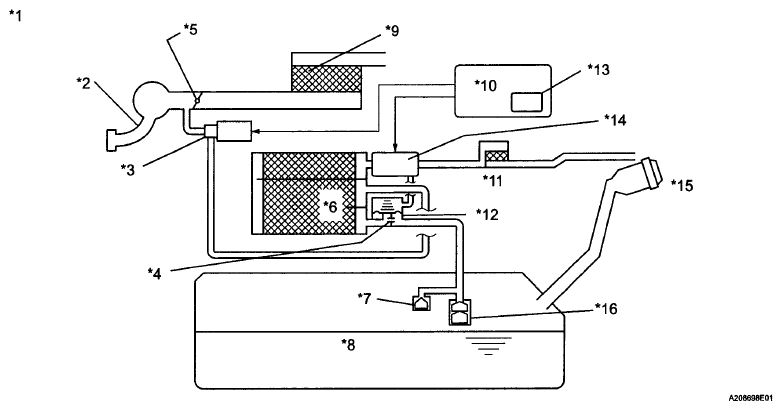
Fig 1: Identifying SFI System Components
G06023306Courtesy of © TOYOTA, LICENSE AGREEMENT TMS1002

Text in Illustration 

ILLUSTRATION LEGEND

*1 Location of EVAP (Evaporative Emission) System *2 Purge VSV
*3 EVAP Hose (to Intake Manifold) *4 EVAP Hose (from Canister)
*5 Canister Pump Module *6 Canister
*7 Air Filter *8 Air Inlet Port
*9 Fuel Cap *10 Fuel Tank
*11 Purge Line *12 Refueling Valve

HINT:

The canister pressure sensor, the leak detection pump and the vent valve are built into the canister pump module.

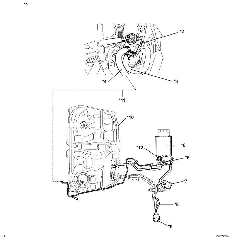
Fig 2: EVAP System Diagram
G06023307Courtesy of © TOYOTA, LICENSE AGREEMENT TMS1002

Text in Illustration 

ILLUSTRATION LEGEND

*1 EVAP System Circuit *2 Intake Manifold
*3 Purge VSV *4 Restrictor (0.08 inch)
*5 Throttle Valve *6 Canister
*7 Cut-off Valve *8 Fuel Tank
*9 Air Cleaner *10 ECM
*11 Canister Filter *12 Refueling Valve
*13 Soak Timer *14 Canister Pump Module
*15 Fuel Cap *16 Roll-Over Valve
NOTE: In this vehicle's EVAP system, turning on the vent valve does not seal off the EVAP system. To check for leaks in the EVAP system, disconnect the air inlet vent hose and apply pressure from the atmospheric side of the canister.

While the engine is running, if a predetermined condition (closed-loop, etc.) is met, the purge VSV is opened by the ECM and stored fuel vapors in the canister are purged into the intake manifold. The ECM changes the duty cycle of the purge VSV to control purge flow volume.

The purge flow volume is also determined by the intake manifold pressure. Atmospheric pressure is allowed into the canister through the vent valve to ensure that the purge flow is maintained when negative pressure (vacuum) is applied to the canister.

The following 2 monitors run to confirm the appropriate EVAP system operation.

  1. Key-off monitor 

    This monitor checks for EVAP (Evaporative Emission) system leaks and canister pump module malfunctions. The monitor starts 5 hours* after the ignition switch is turned off. At least 5 hours are required for the fuel to cool down to stabilize the EVAP pressure, thus making the EVAP system monitor more accurate.

    The leak detection pump creates negative pressure (vacuum) in the EVAP system and the pressure is measured. Finally, the ECM monitors for leaks from the EVAP system, and malfunctions in both the canister pump module and purge VSV based on the EVAP pressure.

    HINT:

    *: If the engine coolant temperature is not below 35°C (95°F) 5 hours after the ignition switch is turned off, the monitor check starts 2 hours later. If it is still not below 35°C (95°F) 7 hours after the ignition switch is turned off, the monitor check starts 2.5 hours later.

  2. Purge flow monitor 

    The purge flow monitor consists of the 2 monitors. The 1st monitor is conducted every time and the 2nd monitor is activated if necessary.

    • The 1st monitor

      While the engine is running and the purge VSV is on (open), the ECM monitors the purge flow by measuring the EVAP pressure change. If negative pressure is not created, the ECM begins the 2nd monitor.

    • The 2nd monitor

      The vent valve is turned off (open) and the EVAP pressure is measured. If the variation in the pressure is less than 0.4 kPa-g (3.0 mmHg-g), the ECM interprets this as the purge VSV being stuck closed, and illuminates the MIL and sets DTC P0441 (2 trip detection logic).

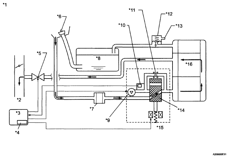
    Atmospheric pressure check:

    In order to ensure reliable malfunction detection, the variation between the atmospheric pressures, before and after conduction of the purge flow monitor, is measured by the ECM.

    Fig 3: EVAP System Diagram - Atmospheric Pressure Check
    G06023308Courtesy of © TOYOTA, LICENSE AGREEMENT TMS1002

    Text in Illustration 

    ILLUSTRATION LEGEND

    *1 EVAP Purge Flow *2 to Intake Manifold
    *3 ECM *4 Soak Timer
    *5 Purge VSV (on) *6 Fuel Cap
    *7 Canister Filter *8 Fuel Tank
    *9 Leak Detection Pump (off) *10 Canister Pressure Sensor
    *11 Reference Orifice (0.02 inch) *12 Refueling Valve
    *13 to Atmosphere *14 Vent Valve (off)
    *15 Canister Pump Module *16 Canister
    COMPONENT OPERATION

    Component Operation
    Canister Contains activated charcoal to absorb EVAP (Evaporative Emissions) generated in fuel tank.
    Cut-off valve Located in fuel tank. Valve floats and closes when fuel tank is 100% full.
    Purge VSV (Vacuum Switching Valve) Opens or closes line between canister and intake manifold. ECM uses purge VSV to control EVAP purge flow. In order to discharge EVAP absorbed by canister to intake manifold, ECM opens purge VSV. EVAP discharge volume to intake manifold controlled by purge VSV duty cycle (current-carrying time) (Open: on; Closed: off).
    Refueling valve Controls EVAP pressure from fuel tank to canister. Valve consists of diaphragm, spring and restrictor (diameter: 0.08 inch.) - When fuel vapor and pressure inside fuel tank increase, valve opens. While EVAP purged, valve closes and restrictor prevents large amount of vacuum from affecting pressure in fuel tank. Valve opens while refueling.
    Roll-over valve Located in fuel tank. Valve closes by its own weight when vehicle overturns to prevent fuel from spilling out.
    Soak timer Built into ECM. To ensure accurate EVAP monitor, measures 5 hours (+/-15 min) after ignition switch is turned off. This allows fuel to cool down, stabilizing EVAP pressure. When approximately 5 hours elapsed, ECM activates (refer to Fig 6).
    Canister pump module Consists of (a) to (d) below. Canister pump module cannot be disassembled.
    (a) Vent valve Vents and closes EVAP system. When ECM turns valve on, EVAP system is closed. When ECM turns valve off, EVAP system is vented. Negative pressure (vacuum) is created in EVAP system to check for EVAP leaks by closing purge VSV, turning on vent valve (closing it) and operating leak detection pump (refer to Fig 4).
    (b) Canister pressure sensor Indicates pressure as voltage. ECM supplies regulated 5 V to canister pressure sensor, and uses feedback from sensor to monitor EVAP system pressure (refer to Fig 5).
    (c) Leak detection pump Creates negative pressure (vacuum) in EVAP system for leak check.
    (d) Reference orifice Has opening with 0.02 inch diameter. Vacuum is produced through orifice by closing purge VSV, turning off vent valve and operating leak detection pump to monitor reference pressure. Reference pressure indicates small leak of EVAP.
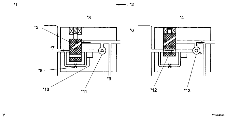
    Fig 4: EVAP System Diagram
    G06023309Courtesy of © TOYOTA, LICENSE AGREEMENT TMS1002

    Text in Illustration 

    ILLUSTRATION LEGEND

    *1 Canister Pump Module (Fig 4) *2 Airflow
    *3 Condition: Purge Flow *4 Condition: Leak Check
    *5 Vent Valve: off (vent) *6 to Canister Filter (Atmosphere)
    *7 Canister *8 Reference Orifice (0.02 Inch)
    *9 From Refueling Valve *10 Canister Pressure Sensor
    *11 Leak Detection Pump: off *12 Vent Valve: on (closed)
    *13 Leak Detection Pump: on - -
    Fig 5: Canister Pressure Sensor Output Voltage Graph
    G06023179Courtesy of © TOYOTA, LICENSE AGREEMENT TMS1002
    Fig 6: Canister Pressure Sensor Circuit Diagram
    G06023289Courtesy of © TOYOTA, LICENSE AGREEMENT TMS1002