LEMON Manuals: Even more car manuals for everyone: 1960-2025
Home >> Toyota >> 2009 >> Venza 3.5 K, AWD >> Repair and Diagnosis >> Engine Performance >> System >> Engine Control System (2GR-FE) - System And Component Inspection, Testing And R & I >> Active Control Engine Mount System >> Inspection Procedure
April 5, 2026: LEMON Manuals is launched! Read the announcement.

Inspection Procedure

NOTE: Inspect the fuses for circuits related to this system before performing the following inspection procedure.
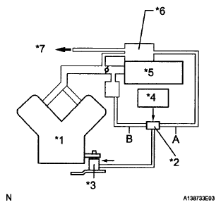
  1. CHECK VACUUM HOSES 
    1. If the hose is damaged, replace the vacuum hose assembly.
    2. Check the air and vacuum hoses for looseness, disconnection and blockage.

      Text in Illustration 

      ILLUSTRATION LEGEND

      *1 Engine
      *2 Duty Vacuum Switching Valve
      *3 Engine Mounting Insulator Assembly
      *4 ECM
      *5 Air Cleaner
      *6 Vacuum Tank
      *7 to Intake Air Control Valve Actuator
      Fig 1: Checking Vacuum Hoses
      G06023849Courtesy of © TOYOTA, LICENSE AGREEMENT TMS1002

      NG: REPAIR OR REPLACE VACUUM HOSES 

      OK: Go to next step 

  2. CHECK VACUUM 
    1. Start the engine.
    2. Disconnect the vacuum hose from the air cleaner cap.
    3. Check that the disconnected port located on the vacuum tank applies suction to your finger.

      OK: 

      Vacuum pressure exists  .

      Fig 2: Identifying Vacuum Hoses
      G04973754Courtesy of © TOYOTA, LICENSE AGREEMENT TMS1002
    4. Reconnect the vacuum hose.

      NG: CHECK AND REPLACE VACUUM SOURCE AND HOSES 

      OK: Go to next step 

  3. INSPECT DUTY VACUUM SWITCHING VALVE (OPERATION) 
    1. Remove the duty vacuum switching valve.
    2. Check operation of the duty vacuum switching valve when battery voltage is applied to the terminals of the duty vacuum switching valve connector.

      Positive battery voltage is not applied: 

      The air from pipe G is flowing out through pipes E and H  .

      Positive battery voltage is applied: 

      The air from pipe F is flowing out through pipes E and H  .

      Fig 3: Checking Operation Of Duty Vacuum Switching Valve
      G04973755Courtesy of © TOYOTA, LICENSE AGREEMENT TMS1002
    3. Reinstall the duty vacuum switching valve.

      NG: REPLACE DUTY VACUUM SWITCHING VALVE  (See REMOVAL  )

      OK: Go to next step 

  4. INSPECT DUTY VACUUM SWITCHING VALVE (RESISTANCE) 
    1. Disconnect the duty vacuum switching valve connector.
    2. Measure the resistance according to the value(s) in the table below.

      Standard Resistance 

      TESTER CONNECTION SPECIFIED CONDITIONS CHART

      Tester Connection Condition Specified Condition
      1 - 2 20°C (68°F) 19 to 21 Ω

      Text in Illustration 

      ILLUSTRATION LEGEND

      *1 Component without harness connected (Duty Vacuum Switching Valve)
    3. Fig 4: Identifying Terminals Of Duty Vacuum Switching Valve Connector
      G06023852Courtesy of © TOYOTA, LICENSE AGREEMENT TMS1002
    4. Reconnect the duty vacuum switching valve connector.

      NG: REPLACE DUTY VACUUM SWITCHING VALVE  (See REMOVAL  )

      OK: Go to next step 

  5. INSPECT FRONT ENGINE MOUNTING INSULATOR ASSEMBLY 
    1. Disconnect the vacuum hose from the front engine mount insulator assembly.
    2. Using a vacuum pump, apply vacuum of 80 kPa (600 mmHg, 25 in.Hg) and wait for 1 minute.
    3. Check that there is no change in the needle movement of the vacuum pump gauge.
    4. Check that there is no fluid leakage caused by a break in the diaphragm.

      OK: 

      Vacuum pressure exists  .

      Fig 5: Inspecting Front Engine Mounting Insulator Assembly
      G04973757Courtesy of © TOYOTA, LICENSE AGREEMENT TMS1002
    5. Reconnect the vacuum hose.

      NG: REPLACE FRONT ENGINE MOUNTING INSULATOR ASSEMBLY  (See REMOVAL  )

      OK: Go to next step 

  6. INSPECT DUTY VACUUM SWITCHING VALVE (POWER SOURCE VOLTAGE) 
    1. Disconnect the duty vacuum switching valve connector.
    2. Turn the ignition switch to ON.
    3. Measure the voltage according to the value(s) in the table below.

      Standard Voltage 

      TESTER CONNECTION SPECIFIED CONDITIONS CHART

      Tester Connection Switch Condition Specified Condition
      B4-1 - Body ground Ignition switch ON 11 to 14 V

      Text in Illustration 

      ILLUSTRATION LEGEND

      *1 Front view of wire harness connector (to Duty Vacuum Switching Valve)
      Fig 6: Identifying Terminals Of B4 Duty Vacuum Switching Valve Connector
      G06023854Courtesy of © TOYOTA, LICENSE AGREEMENT TMS1002
    4. Reconnect the duty vacuum switching valve connector.

      NG: Go to step  8

      OK: Go to next step 

  7. CHECK HARNESS AND CONNECTOR (DUTY VACUUM SWITCHING VALVE - ECM) 
    1. Disconnect the duty vacuum switching valve connector.
      Fig 7: Identifying Terminals Of B4 Duty Vacuum Switching Valve Connector
      G06023855Courtesy of © TOYOTA, LICENSE AGREEMENT TMS1002
    2. Disconnect the ECM connector.
    3. Measure the resistance according to the value(s) in the table below.

      Standard Resistance (Check for Open) 

      TESTER CONNECTION SPECIFIED CONDITIONS CHART

      Tester Connection Condition Specified Condition
      B4-2 - B39-83 (ACM) Always Below 1 Ω

      Standard Resistance (Check for Short) 

      TESTER CONNECTION SPECIFIED CONDITIONS CHART

      Tester Connection Condition Specified Condition
      B4-2 or B39-83 (ACM) - Body ground Always 10 kΩ or higher

      Text in Illustration 

      ILLUSTRATION LEGEND

      *1 Front view of wire harness connector (to Duty Vacuum Switching Valve) *2 Front view of wire harness connector (to ECM)
    4. Reconnect the ECM connector.
    5. Reconnect the duty vacuum switching valve connector.

      NG: REPAIR OR REPLACE HARNESS OR CONNECTOR (DUTY VACUUM SWITCHING VALVE - ECM) 

      OK: REPLACE ECM  (See REMOVAL  )

  8. CHECK HARNESS AND CONNECTOR (DUTY VACUUM SWITCHING VALVE - ENGINE ROOM JUNCTION BLOCK) 
    1. Disconnect the duty vacuum switching valve connector.
      Fig 8: Identifying Terminals Of B4 Duty Vacuum Switching Valve Connector
      G06023856Courtesy of © TOYOTA, LICENSE AGREEMENT TMS1002
    2. Remove the engine room junction block assembly from the engine room relay block.
    3. Disconnect the engine room junction block assembly connector.
    4. Measure the resistance according to the value(s) in the table below.

      Standard Resistance (Check for Open) 

      TESTER CONNECTION SPECIFIED CONDITIONS CHART

      Tester Connection Condition Specified Condition
      B4-1 - 1F-9 Always Below 1 Ω

      Standard Resistance (Check for Short) 

      TESTER CONNECTION SPECIFIED CONDITIONS CHART

      Tester Connection Condition Specified Condition
      B4-1 or 1F-9 - Body ground Always 10 kΩ or higher

      Text in Illustration 

      ILLUSTRATION LEGEND

      *1 Front view of wire harness connector (to Duty Vacuum Switching Valve) *3 Front view of wire harness connector (to Engine Room Junction Block Assembly)
      *2 Engine Room Junction Block Assembly - -
    5. Reconnect the engine room junction block assembly connector.
    6. Reinstall the engine room junction block assembly.
    7. Reconnect the duty vacuum switching valve connector.

      NG: REPAIR OR REPLACE HARNESS OR CONNECTOR (DUTY VACUUM SWITCHING VALVE - ENGINE ROOM JUNCTION BLOCK) 

      OK: GO TO ECM POWER SOURCE CIRCUIT