LEMON Manuals: Even more car manuals for everyone: 1960-2025
Home >> Toyota >> 2009 >> Venza 3.5 K, AWD >> Repair and Diagnosis >> Engine Performance >> System >> Engine Control System (2GR-FE) - System And Component Inspection, Testing And R & I >> ECM Power Source Circuit >> Inspection Procedure
April 5, 2026: LEMON Manuals is launched! Read the announcement.

Inspection Procedure

NOTE: Inspect the fuses for circuits related to this system before performing the following inspection procedure.
  1. CHECK HARNESS AND CONNECTOR (ECM - BODY GROUND) 
    1. Disconnect the ECM connector.
    2. Measure the resistance according to the value(s) in the table below.

      Standard Resistance 

      TESTER CONNECTION SPECIFIED CONDITIONS CHART

      Tester Connection Condition Specified Condition
      B39-81 (E1) - Body ground Always Below 1 Ω

      Text in Illustration 

      ILLUSTRATION LEGEND

      *1 Front view of wire harness connector (to ECM)
    3. Fig 1: Identifying B39 ECM Connector
      G06023893Courtesy of © TOYOTA, LICENSE AGREEMENT TMS1002
    4. Reconnect the ECM connector.

      NG: REPAIR OR REPLACE HARNESS OR CONNECTOR (ECM - BODY GROUND) 

      OK: Go to next step 

  2. INSPECT ECM (IGSW VOLTAGE) 
    1. Disconnect the ECM connector.
    2. Turn the ignition switch to ON.
    3. Measure the voltage according to the value(s) in the table below.

      Standard Voltage 

      TESTER CONNECTION SPECIFIED CONDITIONS CHART

      Tester Connection Switch Condition Specified Condition
      A41-28 (IGSW) - Body ground Ignition switch ON 11 to 14 V

      Text in Illustration 

      ILLUSTRATION LEGEND

      *1 Front view of wire harness connector (to ECM)
    4. Fig 2: Identifying B41 ECM Connector
      G06023894Courtesy of © TOYOTA, LICENSE AGREEMENT TMS1002
    5. Reconnect the ECM connector.

      NG: Go to step  7

      OK: Go to next step 

  3. INSPECT ENGINE ROOM JUNCTION BLOCK ASSEMBLY (EFI MAIN RELAY) 
    1. Remove the engine room junction block assembly from the engine room relay block.
    2. Disconnect the engine room junction block assembly connector.
    3. Measure the resistance according to the value(s) in the table below.

      Standard Resistance 

      TESTER CONNECTION SPECIFIED CONDITIONS CHART

      Tester Connection Condition Specified Condition
      1F-9 - 1 (Engine room junction block assembly) No battery voltage applied to terminals 1F-5 and 1F-12 10 kΩ or higher
      Battery voltage applied to terminals 1F-5 and 1F-12 Below 1 Ω

      Text in Illustration 

      ILLUSTRATION LEGEND

      *1 Component without harness connected (Engine Room Junction Block Assembly)
      Fig 3: Identifying Terminals Of Engine Room Junction Block Assembly Connector
      G06023895Courtesy of © TOYOTA, LICENSE AGREEMENT TMS1002
    4. Reconnect the engine room junction block assembly connector.
    5. Reinstall the engine room junction block assembly.

      NG: REPLACE ENGINE ROOM JUNCTION BLOCK ASSEMBLY  (See REMOVAL )

      OK: Go to next step 

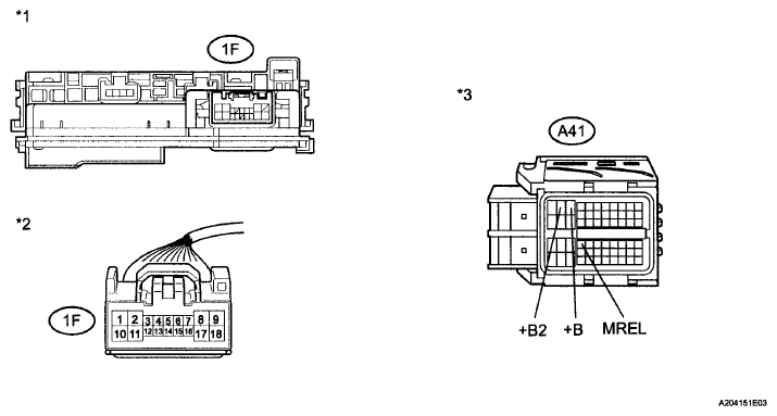
  4. CHECK HARNESS AND CONNECTOR (ENGINE ROOM JUNCTION BLOCK ASSEMBLY - ECM) 
    1. Remove the engine room junction block assembly from the engine room relay block.
      Fig 4: Identifying Terminals Of Engine Room Junction Block Assembly Connector
      G06023896Courtesy of © TOYOTA, LICENSE AGREEMENT TMS1002
    2. Disconnect the engine room junction block assembly connector.
    3. Disconnect the ECM connector.
    4. Measure the resistance according to the value(s) in the table below.

      Standard Resistance (Check for Open) 

      TESTER CONNECTION SPECIFIED CONDITIONS CHART

      Tester Connection Condition Specified Condition
      1F-9 - A41-3 (+B) Always Below 1 Ω
      1F-9 - A41-2 (+B2) Always Below 1 Ω
      1F-12 - A41-34 (MREL) Always Below 1 Ω

      Standard Resistance (Check for Short) 

      TESTER CONNECTION SPECIFIED CONDITIONS CHART

      Tester Connection Condition Specified Condition
      1F-9 or A41-3 (+B) - Body ground Always 10 kΩ or higher
      1F-9 or A41-2 (+B2) - Body ground Always 10 kΩ or higher
      1F-12 or A41-34 (MREL) - Body ground Always 10 kΩ or higher

      Text in Illustration 

      ILLUSTRATION LEGEND

      *1 Engine Room Junction Block Assembly *3 Front view of wire harness connector (to ECM)
      *2 Front view of wire harness connector (to Engine Room Junction Block Assembly) - -
    5. Reconnect the ECM connector.
    6. Reconnect the engine room junction block assembly connector.
    7. Reinstall the engine room junction block assembly.

      NG: REPAIR OR REPLACE HARNESS OR CONNECTOR (ENGINE ROOM JUNCTION BLOCK ASSEMBLY- ECM) 

      OK: Go to next step 

  5. CHECK HARNESS AND CONNECTOR (ENGINE ROOM JUNCTION BLOCK ASSEMBLY - BATTERY) 
    1. Remove the engine room junction block assembly from the engine room relay block.
    2. Disconnect the cable from the negative (-) battery terminal.
    3. Disconnect the cable from the positive (+) battery terminal.
    4. Measure the resistance according to the value(s) in the table below.

      Standard Resistance (Check for Open) 

      TESTER CONNECTION SPECIFIED CONDITIONS CHART

      Tester Connection Condition Specified Condition
      1 (Engine room junction block assembly) -Battery positive (+) terminal Always Below 1 Ω

      Standard Resistance (Check for Short) 

      TESTER CONNECTION SPECIFIED CONDITIONS CHART

      Tester Connection Condition Specified Condition
      1 (Engine room junction block assembly) - Body ground Always 10 kΩ or higher
      Fig 5: Identifying Engine Room Relay Block
      G06023897Courtesy of © TOYOTA, LICENSE AGREEMENT TMS1002

      Text in Illustration 

      ILLUSTRATION LEGEND

      *1 Engine Room Junction Block Assembly
    5. Reinstall the engine room junction block assembly.
    6. Reconnect the cable to the positive (+) battery terminal.
    7. Reconnect the cable to the negative (-) battery terminal.

      NG: REPAIR OR REPLACE HARNESS OR CONNECTOR (ENGINE ROOM JUNCTION BLOCK ASSEMBLY - BATTERY) 

      OK: Go to next step 

  6. CHECK HARNESS AND CONNECTOR (ENGINE ROOM JUNCTION BLOCK ASSEMBLY - BODY GROUND) 
    1. Remove the engine room junction block assembly from the engine room relay block.
      Fig 6: Identifying Terminals Of Engine Room Junction Block Assembly Connector
      G06023653Courtesy of © TOYOTA, LICENSE AGREEMENT TMS1002
    2. Disconnect the engine room junction block assembly connector.
    3. Measure the resistance according to the value(s) in the table below.

      Standard Resistance 

      TESTER CONNECTION SPECIFIED CONDITIONS CHART

      Tester Connection Condition Specified Condition
      1F-5 - Body ground Always Below 1 Ω

      Text in Illustration 

      ILLUSTRATION LEGEND

      *1 Engine Room Junction Block Assembly *2 Front view of wire harness connector (to Engine Room Junction Block Assembly)
    4. Reconnect the engine room junction block assembly connector.
    5. Reinstall the engine room junction block assembly.

      NG: REPAIR OR REPLACE HARNESS OR CONNECTOR (ENGINE ROOM JUNCTION BLOCK ASSEMBLY - BODY GROUND) 

      OK: PROCEED TO NEXT SUSPECTED AREA SHOWN IN PROBLEM SYMPTOMS TABLE  (See PROBLEM SYMPTOMS TABLE )

  7. INSPECT IG2 RELAY 
    1. Remove the IG2 relay from the engine room relay block.
    2. Measure the resistance according to the value(s) in the table below.

      Standard Resistance 

      TESTER CONNECTION SPECIFIED CONDITIONS CHART

      Tester Connection Condition Specified Condition
      3 - 5 No battery voltage applied to terminals 1 and 2 10 kΩ or higher
      3 - 5 Battery voltage applied to terminals 1 and 2 Below 1 Ω
      Fig 7: Measuring Resistance Between IG2 Relay Terminals
      G06023346Courtesy of © TOYOTA, LICENSE AGREEMENT TMS1002
    3. Reinstall the IG2 relay.

      NG: REPLACE RELAY (IG2 RELAY) 

      OK: Go to next step 

  8. CHECK HARNESS AND CONNECTOR (IG2 RELAY - ECM) 
    1. Remove the IG2 relay from the engine room relay block.
      Fig 8: Identifying IG2 Relay And Terminals
      G06023900Courtesy of © TOYOTA, LICENSE AGREEMENT TMS1002
    2. Disconnect the ECM connector.
    3. Measure the resistance according to the value(s) in the table below.

      Standard Resistance (Check for Open) 

      TESTER CONNECTION SPECIFIED CONDITIONS CHART

      Tester Connection Condition Specified Condition
      5 (IG2 relay terminal) - A41-28 (IGSW) Always Below 1 Ω

      Standard Resistance (Check for Short) 

      TESTER CONNECTION SPECIFIED CONDITIONS CHART

      Tester Connection Condition Specified Condition
      5 (IG2 relay terminal) or A41-28 (IGSW) - Body ground Always 10 kΩ or higher

      Text in Illustration 

      ILLUSTRATION LEGEND

      *1 Front view of wire harness connector (to ECM) *2 Engine Room Relay Block
    4. Reinstall the IG2 relay.
    5. Reconnect the ECM connector.

      NG: REPAIR OR REPLACE HARNESS OR CONNECTOR (IG2 RELAY - ECM) 

      OK: Go to next step 

  9. CHECK HARNESS AND CONNECTOR (IG2 RELAY POWER SOURCE) 
    1. Remove the IG2 relay from the engine room relay block.
    2. Measure the voltage according to the value(s) in the table below.

      Standard Voltage 

      TESTER CONNECTION SPECIFIED CONDITIONS CHART

      Tester Connection Condition Specified Condition
      3 (IG2 relay terminal) - Body ground Always 11 to 14 V

      Text in Illustration 

      ILLUSTRATION LEGEND

      *1 Engine Room Relay Block
    3. Fig 9: Identifying IG2 Relay And Terminals
      G06023901Courtesy of © TOYOTA, LICENSE AGREEMENT TMS1002
    4. Reinstall the IG2 relay.

      NG: REPAIR OR REPLACE HARNESS OR CONNECTOR (IG2 RELAY - BATTERY) 

      OK: Go to next step 

  10. CHECK HARNESS AND CONNECTOR (IG2 RELAY - BODY GROUND) 
    1. Remove the IG2 relay from the engine room relay block.
    2. Measure the resistance according to the value(s) in the table below.

      Standard Resistance 

      TESTER CONNECTION SPECIFIED CONDITIONS CHART

      Tester Connection Condition Specified Condition
      2 (IG2 relay terminal) - Body ground Always Below 1 Ω

      Text in Illustration 

      ILLUSTRATION LEGEND

      *1 Engine Room Relay Block

      Result 

      RESULT REFERENCE

      Result Proceed to
      OK (w/o Smart Key System) A
      OK (w/ Smart Key System) B
      NG C
    3. Reinstall the IG2 relay.
      Fig 10: Identifying IG2 Relay And Terminals
      G06023901Courtesy of © TOYOTA, LICENSE AGREEMENT TMS1002

      B: Go to step  13

      C: REPAIR OR REPLACE HARNESS OR CONNECTOR (IG2 RELAY - BODY GROUND) 

      A: Go to next step 

  11. CHECK HARNESS AND CONNECTOR (IG2 RELAY - IGNITION SWITCH ASSEMBLY) 
    1. Remove the IG2 relay from the engine room relay block.
      Fig 11: Identifying IG2 Relay And Terminals
      G06023903Courtesy of © TOYOTA, LICENSE AGREEMENT TMS1002
    2. Disconnect the ignition switch assembly connector.
    3. Measure the resistance according to the value(s) in the table below.

      Standard Resistance (Check for Open) 

      TESTER CONNECTION SPECIFIED CONDITIONS CHART

      Tester Connection Condition Specified Condition
      1 (IG2 relay terminal) - D12-6 (IG2) Always Below 1 Ω

      Standard Resistance (Check for Short) 

      TESTER CONNECTION SPECIFIED CONDITIONS CHART

      Tester Connection Condition Specified Condition
      1 (IG2 relay terminal) or D12-6 (IG2) - Body ground Always 10 kΩ or higher

      Text in Illustration 

      ILLUSTRATION LEGEND

      *1 Engine Room Relay Block *2 Front view of wire harness connector (to Ignition Switch Assembly)
    4. Reinstall the IG2 relay.
    5. Reconnect the ignition switch assembly connector.

      NG: REPAIR OR REPLACE HARNESS OR CONNECTOR (IG2 RELAY - IGNITION SWITCH ASSEMBLY) 

      OK: Go to next step 

  12. INSPECT IGNITION SWITCH ASSEMBLY 
    1. Disconnect the ignition switch assembly connector.
    2. Measure the resistance according to the value(s) in the table below.

      Standard Resistance 

      TESTER CONNECTION SPECIFIED CONDITIONS CHART

      Tester Connection Ignition Switch Position Specified Condition
      All terminals LOCK 10 kΩ or higher
      2 - 3 ACC Below 1 Ω
      2 - 3 - 4, 6 - 7 ON Below 1 Ω
      1 - 2 - 4, 6 - 7 - 8 START Below 1 Ω

      Text in Illustration 

      ILLUSTRATION LEGEND

      *1 Component without harness connected (Ignition Switch Assembly)
    3. Fig 12: Identifying Terminals Of Ignition Switch Assembly Connector
      G06023351Courtesy of © TOYOTA, LICENSE AGREEMENT TMS1002
    4. Reconnect the ignition switch assembly connector.

      NG: REPLACE IGNITION SWITCH ASSEMBLY  (See REMOVAL )

      OK: REPAIR OR REPLACE HARNESS OR CONNECTOR (IGNITION SWITCH ASSEMBLY - BATTERY) 

  13. CHECK HARNESS AND CONNECTOR (IG2 RELAY - POWER MANAGEMENT CONTROL ECU) 
    1. Disconnect the power management control ECU connector.
      Fig 13: Identifying Terminals Of Power Management Control ECU Connector
      G06023905Courtesy of © TOYOTA, LICENSE AGREEMENT TMS1002
    2. Remove the IG2 relay from the engine room relay block.
    3. Measure the resistance according to the value(s) in the table below.

      Standard Resistance (Check for Open) 

      TESTER CONNECTION SPECIFIED CONDITIONS CHART

      Tester Connection Condition Specified Condition
      1 (IG2 relay terminal) - D42-8 (IG2D) Always Below 1 Ω

      Standard Resistance (Check for Short) 

      TESTER CONNECTION SPECIFIED CONDITIONS CHART

      Tester Connection Condition Specified Condition
      1 (IG2 relay terminal) - D42-8 (IG2D) - Body ground Always 10 kΩ or higher

      Text in Illustration 

      ILLUSTRATION LEGEND

      *1 Front view of wire harness connector (to Power Management Control ECU) *2 Engine Room Relay Block
    4. Reconnect the power management control ECU connector.
    5. Reinstall the IG2 relay.

      NG: REPAIR OR REPLACE HARNESS OR CONNECTOR (IG2 RELAY - POWER MANAGEMENT CONTROL ECU) 

      OK: GO TO SMART KEY SYSTEM  (See SMART KEY SYSTEM (FOR ENTRY FUNCTION) )