LEMON Manuals: Even more car manuals for everyone: 1960-2025
Home >> Toyota >> 2009 >> Venza 3.5 K, AWD >> Repair and Diagnosis >> Engine Performance >> System >> Engine Control System (2GR-FE) - System And Component Inspection, Testing And R & I >> EVAP System >> Inspection Procedure
April 5, 2026: LEMON Manuals is launched! Read the announcement.

Inspection Procedure

NOTE:
  • Inspect the fuses for circuits related to this system before performing the following inspection procedure.
  • The Techstream is required to conduct the following diagnostic troubleshooting procedure.

HINT:

  1. CONFIRM DTC 
    1. Turn the ignition switch off and wait for 10 seconds.
    2. Turn the ignition switch to ON.
    3. Turn the ignition switch off and wait for 10 seconds.
    4. Connect the Techstream to the DLC3.
    5. Turn the ignition switch to ON.
    6. Turn the Techstream on.
    7. Enter the following menus: Powertrain / Engine / Trouble Codes.
    8. Confirm DTCs and freeze frame data.

      If any EVAP system DTCs are set, the malfunctioning area can be determined using the table below.

      NOTE: If the reference pressure difference between the first and second checks is greater than the specification, all the DTCs relating to the reference pressure (P043E, P043F, P2401, P2402 and P2419) are stored.
      Fig 1: EVAP System - Related DTCs Chart
      G06023305Courtesy of © TOYOTA, LICENSE AGREEMENT TMS1002
  2. PERFORM EVAPORATIVE SYSTEM CHECK (AUTO OPERATION) 
    NOTE:
    • The Evaporative System Check (Automatic Mode) consists of 5 steps performed automatically by the Techstream. It takes a maximum of approximately 18 minutes.
    • Do not perform the Evaporative System Check when the fuel tank is more than 90% full because the cut-off valve may be closed, making the fuel tank leak check unavailable.
    • Do not run the engine during this operation.
    • When the temperature of the fuel is 35°C (95°F) or more, a large amount of vapor forms and any check results become inaccurate. When performing the Evaporative System Check, keep the fuel temperature below 35°C (95°F).
    1. Connect the Techstream to the DLC3.
    2. Turn the ignition switch to ON.
    3. Turn the Techstream on.
    4. Clear the DTCs (See DTC CHECK / CLEAR ).
    5. Enter the following menus: Powertrain / Engine / Utility / Evaporative System Check / Automatic Mode.
    6. After the EVAP SYSTEM CHECK is completed, check for pending DTCs by entering the following menus: Powertrain / Engine / Trouble Codes.

      HINT:

      If no pending DTCs are displayed, perform the Monitor Confirmation (see "Diagnostic Help" menu). After this confirmation, check for pending DTCs. If no DTCs are displayed, the EVAP system is normal.

  3. PERFORM EVAPORATIVE SYSTEM CHECK (MANUAL OPERATION) 
    Fig 2: EVAP System Malfunction Chart - Manual Operation
    G06023866Courtesy of © TOYOTA, LICENSE AGREEMENT TMS1002
    NOTE:
    • In the Evaporative System Check (Manual Mode), perform the series of 5 Evaporative System Check steps manually using the Techstream.
    • Do not perform the Evaporative System Check when the fuel tank is more than 90% full because the cut-off valve may be closed, making the fuel tank leak check unavailable.
    • Do not run the engine during this operation.
    • When the temperature of the fuel is 35°C (95°F) or more, a large amount of vapor forms and any check results become inaccurate. When performing the Evaporative System Check, keep the fuel temperature below 35°C (95°F).
    1. Connect the Techstream to the DLC3.
    2. Turn the ignition switch to ON.
    3. Turn the Techstream on.
    4. Clear the DTCs (See DTC CHECK / CLEAR ).
    5. Enter the following menus: Powertrain / Engine / Utility / Evaporative System Check / Manual Mode.
  4. PERFORM EVAPORATIVE SYSTEM CHECK (STEP 1/5) 
    Fig 3: EVAP System Malfunction Chart - Step 1/5
    G06023867Courtesy of © TOYOTA, LICENSE AGREEMENT TMS1002
    1. Check the EVAP pressure in step 1/5.

      Result 

      TEST RESULT REFERENCE

      DTC(1) Test Result Suspected Trouble Area Proceed to
      - Virtually no variation In EVAP pressure Not yet determined A
      P0451 EVAP pressure fluctuates by +/-0.3 kPa (2.25 mmHg) or more Canister pressure sensor signal noise B
      (1) These DTCs are already present in the ECM when the vehicle arrives and are confirmed in the "CONFIRM DTC" procedures above.

      B: Go to step  29

      A: Go to next step 

  5. PERFORM EVAPORATIVE SYSTEM CHECK (STEP 1/5 TO 2/5) 
    Fig 4: EVAP System Malfunction Chart - Step 1/5 To 2/5
    G06023868Courtesy of © TOYOTA, LICENSE AGREEMENT TMS1002
    1. Check the EVAP pressure in steps 1/5 and 2/5.

      Result 

      TEST RESULT REFERENCE

      DTC(1) Test Result Suspected Trouble Area Proceed to
      - Virtually no variation In EVAP pressure during step 1/5. Then decreases to reference pressure Not yet determined A
      P2402 Small difference between EVAP pressures during steps 1/5 and 2/5 Leak detection pump stuck ON B
      (1) These DTCs are already present in the ECM when the vehicle arrives and are confirmed in the "CONFIRM DTC" procedures above.

      HINT:

      The first reference pressure is the value determined in step 2/5.

      B: Go to step  22

      A: Go to next step 

  6. PERFORM EVAPORATIVE SYSTEM CHECK (STEP 2/5) 
    Fig 5: EVAP System Malfunction Chart - Step 2/5
    G06023317Courtesy of © TOYOTA, LICENSE AGREEMENT TMS1002

    HINT:

    Make a note of the pressures checked in steps (a) and (b) below.

    1. Check the EVAP pressure 4 seconds after the leak detection pump is activated*.

      *: The leak detection pump begins to operate as step 1/5 finishes and step 2/5 starts.

    2. Check the EVAP pressure again when it has stabilized. This pressure is the reference pressure.

      Result 

      TEST RESULT REFERENCE

      DTC(1) Test Result Suspected Trouble Area Proceed to
      - EVAP pressure In step (b) between -4.85 kPa and -1.057 kPa (-36.4 mmHg and -7.93 mmHg) Not yet determined A
      P043F and P2401 EVAP pressure In step (b) -1.057 kPa (-7.93 mmHg) or more
      • Reference orifice high-flow
      • Leak detection pump stuck OFF
      B
      P043E EVAP pressure In step (b) below -4.85 kPa (-36.4 mmHg) Reference orifice clogged C
      P2419 EVAP pressure In step (a) more than -1.057 kPa (-7.93 mmHg) Vent valve stuck closed D
      (1) These DTCs are already present in the ECM when the vehicle arrives and are confirmed in the "Confirm DTC" procedures above.

      B: Go to step  11

      C: Go to step  29

      D: Go to step  20

      A: Go to next step 

  7. PERFORM EVAPORATIVE SYSTEM CHECK (STEP 2/5 TO 3/5) 
    Fig 6: EVAP System Malfunction Chart - Step 2/5 To 3/5
    G06023318Courtesy of © TOYOTA, LICENSE AGREEMENT TMS1002
    1. Check the EVAP pressure in step 3/5.

      Result 

      TEST RESULT REFERENCE

      DTC(1) Test Result Suspected Trouble Area Proceed to
      - EVAP pressure Increases by 0.3 kPa (2.25 mmHg) or more within 10 seconds of proceeding from step 2/5 to step 3/5 Not yet determined A
      P2420 No variation In EVAP pressure despite proceeding from step 2/5 to step 3/5 Vent valve stuck open (vent) B
      P0451 No variation in EVAP pressure during steps 1/5 through 3/5 Canister pressure sensor output value stuck C
      (1) These DTCs are already present in the ECM when the vehicle arrives and are confirmed in the "Confirm DTC" procedures above.

      B: Go to step  19

      C: Go to step  29

      A: Go to next step 

  8. PERFORM EVAPORATIVE SYSTEM CHECK (STEP 3/5) 
    Fig 7: EVAP System Malfunction Chart - Step 3/5
    G06023319Courtesy of © TOYOTA, LICENSE AGREEMENT TMS1002
    1. Wait until the EVAP pressure change is less than 0.1 kPa (0.75 mmHg) for 30 seconds.
    2. Measure the EVAP pressure and record it.

      HINT:

      A few minutes are required for the EVAP pressure to become saturated. When there is little fuel in the fuel tank, it takes up to 15 minutes.

  9. PERFORM EVAPORATIVE SYSTEM CHECK (STEP 4/5) 
    Fig 8: EVAP System Malfunction Chart - Step 4/5
    G06023320Courtesy of © TOYOTA, LICENSE AGREEMENT TMS1002
    1. Check the EVAP pressure in step 4/5.

      Result 

      TEST RESULT REFERENCE

      DTC(1) Test Result Suspected Trouble Area Proceed to
      - EVAP pressure increases by 0.3 kPa (2.25 mmHg) or more within 10 seconds of proceeding from step 3/5 to step 4/5 Not yet determined A
      P0441 EVAP pressure Increases by 0.3 kPa (2.25 mmHg) or more within 10 seconds of proceeding from step 3/5 to step 4/5 Problems In EVAP hose between purge VSV and Intake manifold B
      P0441 Variation In EVAP pressure less than 0.3 kPa (2.25 mmHg) for 10 seconds, after proceeding from step 3/5 to step 4/5 Purge VSV stuck closed C
      (1) These DTCs are already present in the ECM when the vehicle arrives and are confirmed in the "Confirm DTC" procedures above.

      B: Go to step  15

      C: Go to step  12

      A: Go to next step 

  10. PERFORM EVAPORATIVE SYSTEM CHECK (STEP 5/5) 
    Fig 9: EVAP System Malfunction Chart - Step 5/5
    G06023873Courtesy of © TOYOTA, LICENSE AGREEMENT TMS1002
    1. Check the EVAP pressure in step 5/5.
    2. Compare the EVAP pressure in step 3/5 and the second reference pressure (step 5/5).

      Result 

      TEST RESULT REFERENCE

      DTC(1) Test Result Suspected Trouble Area Proceed to
      - EVAP pressure from step 3/5 lower than second reference pressure (step 5/5) Not yet determined (no leakage from EVAP system) A
      P0441 and P0455 EVAP pressure from step 3/5 higher than [second reference pressure (step 5/5) x 0.2]
      • Purge VSV stuck open
      • EVAP gross leak
      B
      P0456 EVAP pressure from step 3/5 higher than second reference pressure (step 5/5) EVAP small leak B
      (1) These DTCs are already present in the ECM when the vehicle arrives and are confirmed in the "CONFIRM DTC" procedures above.

      A: Go to step  35

      B: Go to step  12

  11. PERFORM EVAPORATIVE SYSTEM CHECK (STEP 3/5) 
    Fig 10: EVAP System Malfunction Chart - Step 3/5
    G06023874Courtesy of © TOYOTA, LICENSE AGREEMENT TMS1002
    1. Check the EVAP pressure in step 3/5.

      Result 

      TEST RESULT REFERENCE

      DTC(1) Test Result Suspected Trouble Area Proceed to
      P043F EVAP pressure less than [reference pressure] measured in step 2/5 Reference orifice high-flow A
      P2401 EVAP pressure almost same as [reference pressure] measured In step 2/5 Leak detection pump stuck off B
      (1) These DTCs are already present in the ECM when the vehicle arrives and are confirmed in the "CONFIRM DTC" procedures above.

      HINT:

      The first reference pressure is the value determined in step 2/5.

      A: Go to step  29

      B: Go to step  22

  12. PERFORM ACTIVE TEST USING TECHSTREAM (PURGE VSV) 
    1. Enter the following menus: Powertrain / Engine / Active Test / Activate the VSV for EVAP Control.
    2. Disconnect the hose (connected to the canister) from the purge VSV.

      Text in Illustration 

      ILLUSTRATION LEGEND

      *1 Purge VSV
      *2 Hose
    3. Start the engine.
    4. Using the Techstream, turn off the purge VSV (Activate the VSV for Evap Control: OFF).
      Fig 11: Identifying Purge VSV And Hose
      G06023875Courtesy of © TOYOTA, LICENSE AGREEMENT TMS1002
    5. Use your finger to confirm that the purge VSV has no suction.
    6. Using the Techstream, turn on the purge VSV (Activate the VSV for Evap Control: ON).
    7. Use your finger to confirm that the purge VSV has suction.

      Result 

      TEST RESULT REFERENCE

      Test Result Suspected Trouble Area Proceed to
      No suction when purge VSV turned off, and suction applied when turned on Purge VSV normal A
      Suction applied when purge VSV turned off Purge VSV stuck open B
      No suction when purge VSV turned on
      • Purge VSV stuck closed
      • Problems with EVAP hose between purge VSV and Intake manifold
      C
    8. Reconnect the hose.

      B: Go to step  14

      C: Go to step  15

      A: Go to next step 

  13. CHECK FUEL CAP 
    1. Check that the fuel cap is correctly installed and confirm that the fuel cap meets OEM specifications.
    2. Tighten the fuel cap until a few click sounds are heard.

      HINT:

      If an EVAP tester is available, check the fuel cap using the Techstream.

      1. Remove the fuel cap and install it onto a fuel cap adapter.
      2. Connect an EVAP tester pump hose to the adapter, and pressurize the cap to 3.2 to 3.7 kPa (24 to 28 mmHg) using an EVAP tester pump.
      3. Seal the adapter and wait for 2 minutes.
      4. Check the pressure. If the pressure is 2 kPa (15 mmHg) or more, the fuel cap is normal.

        Result 

        TEST RESULT REFERENCE

        Test Result Suspected Trouble Area Proceed to
        Fuel cap correctly Installed - A
        Fuel cap loose
        • Fuel cap improperly Installed
        • Defective fuel cap
        • Fuel cap does not meet OEM specifications
        B
        No fuel cap - C
    3. Reinstall the fuel cap.

      A: Go to step  28

      B: Go to step  26

      C: Go to step  27

  14. INSPECT PURGE VSV 
    1. Turn the ignition switch off.
    2. Disconnect the purge VSV connector.

      Text in Illustration 

      ILLUSTRATION LEGEND

      *1 Hose
      *2 Connector
      *3 Purge VSV
    3. Disconnect the hose (connected to the canister) from the purge VSV.
    4. Start the engine.
    5. Use your finger to confirm that the purge VSV has no suction.
      Fig 12: Identifying Purge VSV, Connector And Hose
      G06023876Courtesy of © TOYOTA, LICENSE AGREEMENT TMS1002

      Result 

      TEST RESULT REFERENCE

      Test Result Suspected Trouble Area Proceed to
      No suction ECM A
      Suction applied Purge VSV B
    6. Reconnect the purge VSV connector.
    7. Reconnect the hose.

      A: Go to step  34

      B: Go to step  30

  15. CHECK EVAP HOSE (PURGE VSV - INTAKE AIR SURGE TANK ASSEMBLY) 
    1. Disconnect the hose (connected to the intake air surge tank assembly) from the purge VSV.

      Text in Illustration 

      ILLUSTRATION LEGEND

      *1 Purge VSV
      *2 Hose (to Intake Air Surge Tank Assembly)
    2. Start the engine.
    3. Use your finger to confirm that the hose has suction.
      Fig 13: Identifying Purge VSV And Hose
      G06023877Courtesy of © TOYOTA, LICENSE AGREEMENT TMS1002

      Result 

      TEST RESULT REFERENCE

      Test Result Suspected Trouble Area Proceed to
      Suction applied EVAP hose between purge VSV and Intake air surge tank assembly normal A
      No suction
      • Intake manifold port
      • EVAP hose between purge VSV and Intake air surge tank assembly
      B
    4. Reconnect the hose.

      B: Go to step  25

      A: Go to next step 

  16. INSPECT PURGE VSV 
    1. Remove the purge VSV.
    2. Apply battery voltage to the terminals of the purge VSV.

      Text in Illustration 

      ILLUSTRATION LEGEND

      *1 Purge VSV
    3. Using an air gun, confirm that air flows from port A to port B.
      Fig 14: Applying Battery Voltage To Terminals Of Purge VSV Terminals
      G06023878Courtesy of © TOYOTA, LICENSE AGREEMENT TMS1002

      Result 

      TEST RESULT REFERENCE

      Test Result Condition Suspected Trouble Area Proceed to
      Air flows Battery voltage Is applied to purge VSV terminals Purge VSV normal A
      No air flow Battery voltage Is applied to purge VSV terminals Purge VSV B
    4. Install the purge VSV.

      B: Go to step  30

      A: Go to next step 

  17. CHECK WIRE HARNESS (POWER SOURCE OF PURGE VSV) 
    1. Disconnect the purge VSV connector.
    2. Turn the ignition switch to ON.
    3. Measure the voltage according to the value(s) in the table below.

      Text in Illustration 

      ILLUSTRATION LEGEND

      *1 Front view of wire harness connector (to Purge VSV)
      Fig 15: Identifying Terminals Of B34 Purge VSV Connector
      G06023327Courtesy of © TOYOTA, LICENSE AGREEMENT TMS1002

      Result 

      TESTER CONNECTION SPECIFIED CONDITIONS CHART

      Tester Connection Switch Condition Specified Condition Suspected Trouble Area Proceed to
      B34-1 - Body ground Ignition Switch ON 11 to 14 V Normal A
      Other than result above Wire harness or connectors between purge VSV and ECM B
    4. Reconnect the purge VSV connector.

      B: Go to step  31

      A: Go to next step 

  18. CHECK WIRE HARNESS (PURGE VSV - ECM) 
    1. Disconnect the ECM connector.
      Fig 16: Identifying Terminals Of B34 Purge VSV Connector
      G06023880Courtesy of © TOYOTA, LICENSE AGREEMENT TMS1002
    2. Disconnect the purge VSV connector.
    3. Measure the resistance according to the value(s) in the table below.

      Standard Resistance (Check for Open) 

      TESTER CONNECTION SPECIFIED CONDITIONS CHART

      Tester Connection Condition Specified Condition
      B34-2 - B39-63 (PRG) Always Below 1 Ω

      Standard Resistance (Check for Short) 

      TESTER CONNECTION SPECIFIED CONDITIONS CHART

      Tester Connection Condition Specified Condition
      B34-2 or B39-63 (PRG) - Body ground Always 10 kΩ or higher

      Text in Illustration 

      ILLUSTRATION LEGEND

      *1 Front view of wire harness connector (to Purge VSV) *2 Front view of wire harness connector (to ECM)
    4. Reconnect the purge VSV connector.
    5. Reconnect the ECM connector.

      OK: Go to step  34

      NG: Go to step  31

  19. INSPECT CANISTER PUMP MODULE (POWER SOURCE FOR VENT VALVE) 
    1. Disconnect the canister pump module connector.
      Fig 17: Identifying Terminals Of L13 Canister Pump Module Connector
      G06023881Courtesy of © TOYOTA, LICENSE AGREEMENT TMS1002
    2. Turn the ignition switch to ON.
    3. Measure the voltage according to the value(s) in the table below.

      Result 

      TESTER CONNECTION SPECIFIED CONDITIONS CHART

      Tester Connection Switch Condition Specified Condition Suspected Trouble Area Proceed to
      L13-9 (VLVB) - Body ground Ignition switch ON 11 to 14 V
      1. Wire harness between vent valve and ECM
      2. Vent valve
      3. ECM
      A
      Below 3 V Power source wire harness of vent valve B

      Text in Illustration 

      ILLUSTRATION LEGEND

      *1 Front view of wire harness connector (to Canister Pump Module)
    4. Reconnect the canister pump module connector.

      B: Go to step  31

      A: Go to next step 

  20. INSPECT CANISTER PUMP MODULE (VENT VALVE OPERATION) 
    1. Disconnect the canister pump module connector.
    2. Apply battery voltage to VLVB and VGND terminals of the canister pump module.
    3. Touch the canister pump module to confirm the vent valve operation.

      Text in Illustration 

      ILLUSTRATION LEGEND

      *1 Component without harness connected (Canister Pump Module)
      Fig 18: Applying Battery Voltage To VLVB And VGND Terminals Of Canister Pump Module
      G06023330Courtesy of © TOYOTA, LICENSE AGREEMENT TMS1002

      Result 

      TEST RESULT REFERENCE

      Condition Test Result Suspected Trouble Area Proceed to
      Apply battery voltage to terminals L13-9 (VLVB) and L13-8 (VGND) Operating
      1. Wire harness between vent valve and ECM
      2. ECM
      A
      Not operating Vent valve B
    4. Reconnect the canister pump module connector.

      B: Go to step  29

      A: Go to next step 

  21. CHECK WIRE HARNESS (ECM - CANISTER PUMP MODULE) 
    1. Disconnect the ECM connector.
      Fig 19: Identifying Terminals Of L13 Canister Pump Module Connector
      G06023883Courtesy of © TOYOTA, LICENSE AGREEMENT TMS1002
    2. Disconnect the canister pump module connector.
    3. Measure the resistance according to the value(s) in the table below.

      Result 

      TESTER CONNECTION SPECIFIED CONDITIONS CHART

      Tester Connection Condition Test Result Suspected Trouble Area Proceed to
      A41-30 (VPMP) - L13-8 (VGND) Always Below 1 Ω ECM A
      10 kΩ or higher Wire harness between ECM and canister pump module B

      Text in Illustration 

      ILLUSTRATION LEGEND

      *1 Front view of wire harness connector (to ECM) *2 Front view of wire harness connector (to Canister Pump Module)
    4. Reconnect the ECM connector.
    5. Reconnect the canister pump module connector.

      A: Go to step  34

      B: Go to step  31

  22. PERFORM ACTIVE TEST USING TECHSTREAM (ACTIVE THE VACUUM PUMP) 
    1. Turn the ignition switch off.
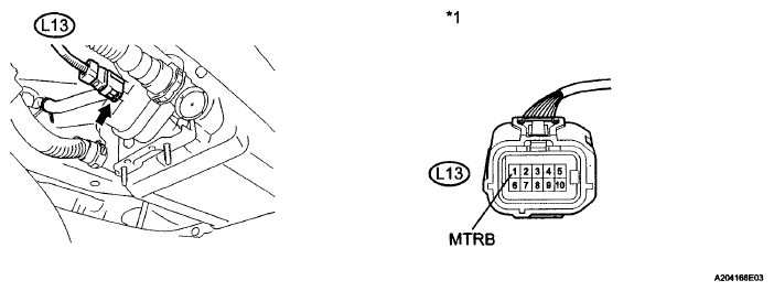
      Fig 20: Locating L13 Canister Pump Module Connector
      G06023884Courtesy of © TOYOTA, LICENSE AGREEMENT TMS1002
    2. Disconnect the canister pump module connector.
    3. Turn the ignition switch to ON.
    4. Enter the following menus: Powertrain / Engine / Active Test / Activate the Vacuum Pump.
    5. Measure the voltage according to the value(s) in the table below.

      Result 

      TESTER CONNECTION SPECIFIED CONDITIONS CHART

      Tester Connection Condition Test Result Suspected Trouble Area Proceed to
      L13-1 (MTRB) - Body ground Leak detection pump on and off (Active Test ON and OFF) Below 3 V when OFF
      11 to 14 V when ON
      1. Wire harness between leak detection pump and body ground
      2. Leak detection pump
      A
      Below 3 V when OFF and ON
      1. Wire harness between leak detection pump and ECM
      2. ECM
      B
      11 to 14 V when OFF and ON ECM C

      Text in Illustration 

      ILLUSTRATION LEGEND

      *1 Front view of wire harness connector (to Canister Pump Module)

      B: Go to step  24

      A: Go to next step 

  23. CHECK WIRE HARNESS (CANISTER PUMP MODULE - BODY GROUND) 
    1. Disconnect the canister pump module connector.
      Fig 21: Locating L13 Canister Pump Module Connector
      G06023333Courtesy of © TOYOTA, LICENSE AGREEMENT TMS1002
    2. Measure the resistance according to the value(s) in the table below.

      Result 

      TESTER CONNECTION SPECIFIED CONDITIONS CHART

      Tester Connection Condition Specified Condition Suspected Trouble Area Proceed to
      L13-6 (MGND) - Body ground Always Below 1 Ω Leak detection pump A
      10 kΩ or higher Wire harness between canister pump module and body ground B

      Text in Illustration 

      ILLUSTRATION LEGEND

      *1 Front view of wire harness connector (to Canister Pump Module)
    3. Reconnect the canister pump module connector.

      A: Go to step  29

      B: Go to step  31

  24. CHECK WIRE HARNESS (ECM - CANISTER PUMP MODULE) 
    1. Disconnect the canister pump module connector.
      Fig 22: Identifying Terminals Of L13 Canister Pump Module And A41 ECM Connector
      G06023886Courtesy of © TOYOTA, LICENSE AGREEMENT TMS1002
    2. Disconnect the ECM connector.
    3. Measure the resistance according to the value(s) in the table below.

      Result 

      TESTER CONNECTION SPECIFIED CONDITIONS CHART

      Tester Connection Condition Test Result Suspected Trouble Area Proceed to
      A41-49 (MPMP) - L13-1 (MTRB) Always Below 1 Ω ECM A
      10 kΩ or higher Wire harness between ECM and canister pump module B

      Text in Illustration 

      ILLUSTRATION LEGEND

      *1 Front view of wire harness connector (to ECM) *2 Front view of wire harness connector (to Canister Pump Module)
    4. Reconnect the canister pump module connector.
    5. Reconnect the ECM connector.

      A: Go to step  34

      B: Go to step  31

  25. INSPECT INTAKE AIR SURGE TANK ASSEMBLY (EVAP PURGE PORT) 
    1. Disconnect the EVAP hose from the intake air surge tank assembly.
    2. Start the engine.
    3. Use your finger to confirm that the port of the intake air surge tank assembly has suction.

      Result 

      TEST RESULT REFERENCE

      Test Result Suspected Trouble Area Proceed to
      Suction applied EVAP hose between Intake air surge tank assembly and purge VSV A
      No suction Intake air surge tank assembly B
    4. Reconnect the EVAP hose.

      A: Go to step  32

      B: Go to step  33

  26. CORRECTLY REINSTALL OR REPLACE FUEL CAP 

    HINT:

    • When reinstalling the fuel cap, tighten it until a few click sounds are heard.
    • When replacing the fuel cap, use a fuel cap that meets OEM specifications, and install it until a few click sounds are heard.

      NEXT: Go to step  36

  27. REPLACE FUEL CAP 

    HINT:

    When installing the fuel cap, tighten it until a few click sounds are heard.

    NEXT: Go to step  36

  28. LOCATE EVAP LEAK PART 
    1. Disconnect the vent hose.
      Fig 23: Identifying Vent Hose, Fuel Tank, Fuel Cap, Canister And Air Filter
      G06023887Courtesy of © TOYOTA, LICENSE AGREEMENT TMS1002

      Text in Illustration 

      ILLUSTRATION LEGEND

      *1 Fuel tank *4 Fuel Cap
      *2 Canister *5 Disconnect the vent hose here
      *3 Air Filter - -
    2. Connect the EVAP pressure tester tool to the canister pump module with the adapter.
      Fig 24: Connecting EVAP Pressure Tester Tool To Canister Pump Module
      G06023336Courtesy of © TOYOTA, LICENSE AGREEMENT TMS1002

      Text in Illustration 

      ILLUSTRATION LEGEND

      *1 Canister Pump Module *3 EVAP Pressure Tester Tool
      *2 Adapter - -
    3. Pressurize the EVAP system to 3.2 to 3.7 kPa (24 to 28 mmHg).
    4. Apply soapy water to the piping and connecting parts of the EVAP system.
    5. Look for areas where bubbles appear. This indicates the leak point.
    6. Repair or replace the leak point.

      HINT:

      Disconnect the hose between the canister and fuel tank from the canister. Block the charcoal canister assembly side and conduct an inspection. In this way, the fuel tank can be excluded as an area suspected of causing fuel leaks.

      NEXT: Go to step  36

  29. REPLACE CANISTER 
    1. Replace the canister assembly (See REMOVAL ).
      NOTE: When replacing the canister, check the canister pump module interior and related pipes for water, fuel and other liquids. If liquids are present, check for disconnections and/or cracks in the following: 1) the pipe from the air inlet port to the canister pump module; 2) the air filter; and 3) the fuel tank vent hose.
      Fig 25: Identifying Inspecting Area Of Fuel Tank
      G06023726Courtesy of © TOYOTA, LICENSE AGREEMENT TMS1002

      Text in Illustration 

      ILLUSTRATION LEGEND

      *1 Fuel Tank Vent Hose *3 Vent Hose
      *2 Air Inlet Port *4 Inspection Area (check for disconnection and/or cracks)

      NEXT: Go to step  36

  30. REPLACE PURGE VSV 
    1. Disconnect the connector and the 2 hoses from the purge VSV.

      Text in Illustration 

      ILLUSTRATION LEGEND

      *1 Purge VSV
    2. Remove the purge VSV.
    3. Install a new purge VSV.
    4. Reconnect the connector and 2 hoses.

      NEXT: Go to step  36

      Fig 26: Locating Purge VSV Connector And Hoses
      G06023890Courtesy of © TOYOTA, LICENSE AGREEMENT TMS1002
  31. REPAIR OR REPLACE HARNESS OR CONNECTOR 

    NEXT: Go to step  36

  32. REPLACE EVAP HOSE (INTAKE AIR SURGE TANK ASSEMBLY - PURGE VSV) 

    NEXT: Go to step  36

  33. INSPECT INTAKE AIR SURGE TANK ASSEMBLY (EVAP PURGE PORT) 
    1. Check that the EVAP purge port of the intake air surge tank assembly is not clogged. If necessary, replace the intake air surge tank assembly.

      NEXT: Go to step  36

  34. REPLACE ECM 
    1. Replace the ECM (See REMOVAL  ).

      NEXT: Go to step  36

  35. REPAIR OR REPLACE PARTS AND COMPONENTS INDICATED BY OUTPUT DTCS 
    1. Repair the malfunctioning areas indicated by the DTCs that had been confirmed when the vehicle was brought in.
  36. PERFORM EVAP SYSTEM CHECK (AUTO OPERATION) 
    NOTE:
    • The Evaporative System Check (Automatic Mode) consists of 5 steps performed automatically by the Techstream. It takes a maximum of approximately 18 minutes.
    • Do not perform the Evaporative System Check when the fuel tank is more than 90% full because the cut-off valve may be closed, making the fuel tank leak check unavailable.
    • Do not run the engine in this step.
    • When the temperature of the fuel is 35°C (95°F) or more, a large amount of vapor forms and any check results become inaccurate. When performing an Evaporative System Check, keep the fuel temperature below 35°C (95°F).
    1. Connect the Techstream to the DLC3.
    2. Turn the ignition switch to ON.
    3. Turn the Techstream on.
    4. Clear the DTCs (See DTC CHECK / CLEAR ).
    5. Enter the following menus: Powertrain / Engine / Utility / Evaporative System Check / Automatic Mode.
    6. After the Evaporative System Check is completed, check for pending DTCs by entering the following menus: Powertrain / Engine / Trouble Codes.

      HINT:

      If no pending DTCs are found, the repair has been successfully completed.

      NEXT: COMPLETED