LEMON Manuals: Even more car manuals for everyone: 1960-2025
Home >> Toyota >> 2009 >> Venza 3.5 K, AWD >> Repair and Diagnosis >> Engine Performance >> System >> Engine Control System (2GR-FE) - System And Component Inspection, Testing And R & I >> Fuel Pump Control Circuit >> Inspection Procedure
April 5, 2026: LEMON Manuals is launched! Read the announcement.

Inspection Procedure

NOTE: Inspect the fuses for circuits related to this system before performing the following inspection procedure.
  1. PERFORM ACTIVE TEST USING TECHSTREAM (ACTIVATE THE FUEL PUMP SPEED CONTROL) 
    1. Connect the Techstream to the DLC3.
    2. Turn the ignition switch to ON.
    3. Turn the Techstream on.
    4. Enter the following menus: Powertrain / Engine / Active Test / Activate the Fuel Pump Speed Control.
    5. Check the operation of the relay while operating it using the Techstream.

      OK: 

      Operating noise can be heard from the relay  .

      NG: Go to step  10

      OK: Go to next step 

  2. INSPECT ENGINE ROOM JUNCTION BLOCK ASSEMBLY (F/PMP RELAY) 
    1. Remove the engine room junction block assembly from the engine room relay block.
    2. Disconnect the engine room junction block assembly connector.
    3. Measure the resistance according to the value(s) in the table below.
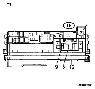
      Fig 1: Identifying Terminals Of Engine Room Junction Block Assembly Connector
      G06023652Courtesy of © TOYOTA, LICENSE AGREEMENT TMS1002

      Standard Resistance 

      TESTER CONNECTION SPECIFIED CONDITIONS CHART

      Tester Connection Condition Specified Condition
      1 (Engine room Junction block assembly) -1F-10
      • Battery voltage applied to terminals 1F-12 and 1F-5
      • Battery voltage applied to terminals 1F-2 and 1F-3
      • No battery voltage applied to terminals 1 (Engine room Junction block assembly) and 1F-13
      Below 1 Ω
      1 (Engine room junction block assembly) -1F-10
      • Battery voltage applied to terminals 1F-12 and 1F-5
      • Battery voltage applied to terminals 1F-2 and 1F-3
      • Battery voltage applied to terminals 1 (Engine room junction block assembly) and 1F-13
      10 kΩ or higher
      1 (Engine room junction block assembly) - 1F-8
      • Battery voltage applied to terminals 1F-12 and 1F-5
      • Battery voltage applied to terminals 1F-2 and 1F-3
      • No battery voltage applied to terminals 1 (Engine room junction block assembly) and 1F-13
      10 kΩ or higher
      1 (Engine room Junction block assembly) -1F-8
      • Battery voltage applied to terminals 1F-12 and 1F-5
      • Battery voltage applied to terminals 1F-2 and 1F-3
      • Battery voltage applied to terminals 1 (Engine room Junction block assembly) and 1F-13
      Below 1 Ω

      Text in Illustration 

      ILLUSTRATION LEGEND

      *1 Component without harness connected (Engine Room Junction Block Assembly)
    4. Reconnect the engine room junction block assembly connector.
    5. Reinstall the engine room junction block assembly.

      NG: REPLACE ENGINE ROOM JUNCTION BLOCK ASSEMBLY  (See REMOVAL )

      OK: Go to next step 

  3. INSPECT FUEL PUMP RESISTOR 
    1. Disconnect the fuel pump resistor.
    2. Measure the resistance according to the value(s) in the table below.

      Standard Resistance 

      TESTER CONNECTION SPECIFIED CONDITIONS CHART

      Tester Connection Condition Specified Condition
      1 - 2 20°C (68°F) 0.30 to 0.34 Ω

      Text in Illustration 

      ILLUSTRATION LEGEND

      *1 Component without harness connected (Fuel Pump Resistor)
    3. Reconnect the fuel pump resistor.
      Fig 2: Identifying Terminals Of Duty Vacuum Switching Valve Connector
      G06023852Courtesy of © TOYOTA, LICENSE AGREEMENT TMS1002

      NG: REPLACE FUEL PUMP RESISTOR  (See REMOVAL )

      OK: Go to next step 

  4. CHECK HARNESS AND CONNECTOR (ENGINE ROOM JUNCTION BLOCK ASSEMBLY - FUEL PUMP RESISTOR) 
    1. Remove the engine room junction block assembly from the engine room relay block.
      Fig 3: Identifying Terminals Of Fuel Pump Resistor Connector
      G06023915Courtesy of © TOYOTA, LICENSE AGREEMENT TMS1002
    2. Disconnect the engine room junction block assembly
    3. Disconnect the fuel pump resistor connector.
    4. Measure the resistance according to the value(s) in the table below.

      Standard Resistance (Check for Open) 

      TESTER CONNECTION SPECIFIED CONDITIONS CHART

      Tester Connection Condition Specified Condition
      1F-8 - A21-1 Always Below 1 Ω
      1F-11 - A21-2 Always Below 1 Ω

      Standard Resistance (Check for Short) 

      TESTER CONNECTION SPECIFIED CONDITIONS CHART

      Tester Connection Condition Specified Condition
      1F-8 or A21-1 - Body ground Always 10 kΩ or higher
      1F-11 or A21-2 - Body ground Always 10 kΩ or higher

      Text in Illustration 

      ILLUSTRATION LEGEND

      *1 Front view of wire harness connector (to Fuel Pump Resistor) *3 Front view of wire harness connector (to Engine Room Junction Block Assembly)
      *2 Engine Room Junction Block Assembly - -
    5. Reconnect the fuel pump resistor connector.
    6. Reconnect the engine room junction block assembly connector.
    7. Reinstall the engine room junction assembly block.

      NG: REPAIR OR REPLACE HARNESS OR CONNECTOR (ENGINE ROOM JUNCTION BLOCK ASSEMBLY - FUEL PUMP RESISTOR) 

      OK: Go to next step 

  5. INSPECT FUEL SUCTION WITH PUMP AND GAGE TUBE ASSEMBLY 
    1. Inspect the fuel suction with pump and gage tube assembly (See INSPECTION ).

      NG: REPLACE FUEL SUCTION WITH PUMP AND GAGE TUBE ASSEMBLY  (See REMOVAL )

      OK: Go to next step 

  6. CHECK HARNESS AND CONNECTOR (FUEL PUMP ASSEMBLY - ENGINE ROOM JUNCTION BLOCK ASSEMBLY) 
    1. Remove the engine room junction block assembly from the engine room relay block.
      Fig 4: Identifying Terminals Of Fuel Pump Resistor Connector
      G06023363Courtesy of © TOYOTA, LICENSE AGREEMENT TMS1002
    2. Disconnect the engine room junction block assembly connector.
    3. Disconnect the fuel suction with pump and gage tube assembly connector.
    4. Measure the resistance according to the value(s) in the table below.

      Standard Resistance (Check for Open) 

      TESTER CONNECTION SPECIFIED CONDITIONS CHART

      Tester Connection Condition Specified Condition
      L12-4 - 1F-10 Always Below 1 Ω

      Standard Resistance (Check for Short) 

      TESTER CONNECTION SPECIFIED CONDITIONS CHART

      Tester Connection Condition Specified Condition
      L12-4 or 1F-10 - Body ground Always 10 kΩ or higher

      Text in Illustration 

      ILLUSTRATION LEGEND

      *1 Front view of wire harness connector (to Fuel Suction with Pump and Gage Tube Assembly) *3 Front view of wire harness connector (to Engine Room Junction Block Assembly)
      *2 Engine Room Junction Block Assembly - -
    5. Reconnect the engine room junction block assembly connector.
    6. Reinstall the engine room junction block assembly.
    7. Reconnect the fuel suction with pump and gage tube assembly connector.

      NG: REPAIR OR REPLACE HARNESS OR CONNECTOR (FUEL PUMP ASSEMBLY - ENGINE ROOM JUNCTION BLOCK ASSEMBLY) 

      OK: Go to next step 

  7. CHECK HARNESS AND CONNECTOR (FUEL SUCTION WITH PUMP AND GAGE TUBE ASSEMBLY - BODY GROUND) 
    1. Disconnect the fuel suction with pump and gage tube assembly connector.
    2. Measure the resistance according to the value(s) in the table below.

      Standard Resistance 

      TESTER CONNECTION SPECIFIED CONDITIONS CHART

      Tester Connection Condition Specified Condition
      L12-5 - Body ground Always Below 1 Ω

      Text in Illustration 

      ILLUSTRATION LEGEND

      *1 Front view of wire harness connector (to Fuel Suction with Pump and Gage Tube Assembly)
    3. Reconnect the fuel suction with pump and gage tube assembly connector.
      Fig 5: Identifying Terminals Of L12 Fuel Suction With Pump And Gage Tube Assembly Connector
      G06023364Courtesy of © TOYOTA, LICENSE AGREEMENT TMS1002

      NG: REPAIR OR REPLACE HARNESS OR CONNECTOR (FUEL SUCTION WITH PUMP AND GAGE TUBE ASSEMBLY - BODY GROUND) 

      OK: Go to next step 

  8. CHECK HARNESS AND CONNECTOR (ENGINE ROOM JUNCTION BLOCK ASSEMBLY - ECM) 
    1. Remove the engine room junction block assembly from the engine room relay block.
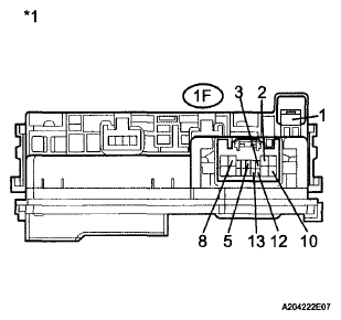
      Fig 6: Identifying Terminals Of Engine Room Junction Block Assembly Connector
      G06023918Courtesy of © TOYOTA, LICENSE AGREEMENT TMS1002
    2. Disconnect the engine room junction block assembly connector.
    3. Disconnect the ECM connector.
    4. Measure the resistance according to the value(s) in the table below.

      Standard Resistance (Check for Open) 

      TESTER CONNECTION SPECIFIED CONDITIONS CHART

      Tester Connection Condition Specified Condition
      1F-13 - A41-48 (FPR) Always Below 1 Ω

      Standard Resistance (Check for Short) 

      TESTER CONNECTION SPECIFIED CONDITIONS CHART

      Tester Connection Condition Specified Condition
      1F-13 or A41-48 (FPR) - Body ground Always 10 kΩ or higher

      Text in Illustration 

      ILLUSTRATION LEGEND

      *1 Engine Room Junction Block Assembly *3 Front view of wire harness connector (to ECM)
      *2 Front view of wire harness connector (to Engine Room Junction Block Assembly) - -
    5. Reconnect the ECM connector.
    6. Reconnect the engine room junction block assembly connector.
    7. Reinstall the engine room junction block assembly.

      NG: REPAIR OR REPLACE HARNESS OR CONNECTOR (ENGINE ROOM JUNCTION BLOCK ASSEMBLY - ECM) 

      OK: Go to next step 

  9. CHECK FUEL LINE 
    1. Check the fuel lines for leaks or blockage.

      OK: 

      No leaks or blockage  .

      NG: REPAIR OR REPLACE FUEL LINE 

      OK: PROCEED TO NEXT SUSPECTED AREA SHOWN IN PROBLEM SYMPTOMS TABLE  (See PROBLEM SYMPTOMS TABLE )

  10. CHECK HARNESS AND CONNECTOR (ENGINE ROOM JUNCTION BLOCK ASSEMBLY VOLTAGE) 
    1. Remove the engine room junction block assembly from the engine room relay block.
      Fig 7: Identifying Terminals Of Engine Room Junction Block Assembly Connector
      G06023653Courtesy of © TOYOTA, LICENSE AGREEMENT TMS1002
    2. Disconnect the engine room junction block assembly connector.
    3. Turn the ignition switch to ON.
    4. Measure the voltage according to the value(s) in the table below.

      Standard Voltage 

      TESTER CONNECTION SPECIFIED CONDITIONS CHART

      Tester Connection Switch Condition Specified Condition
      1F-2 - Body ground Ignition switch ON 11 to 14 V

      Text in Illustration 

      ILLUSTRATION LEGEND

      *1 Engine Room Junction Block Assembly *2 Front view of wire harness connector (to Engine Room Junction Block Assembly)
    5. Reconnect the engine room junction block assembly connector.
    6. Reinstall the engine room junction block assembly.

      NG: REPAIR OR REPLACE HARNESS OR CONNECTOR (IGN FUSE - ENGINE ROOM JUNCTION BLOCK ASSEMBLY) 

      OK: Go to next step 

  11. CHECK HARNESS AND CONNECTOR (ENGINE ROOM JUNCTION BLOCK ASSEMBLY - ECM) 
    1. Remove the engine room junction block assembly from the engine room relay block.
      Fig 8: Identifying Terminals Of Engine Room Junction Block Assembly Connector
      G06023920Courtesy of © TOYOTA, LICENSE AGREEMENT TMS1002
    2. Disconnect the engine room junction block assembly connector.
    3. Disconnect the ECM connector.
    4. Measure the resistance according to the value(s) in the table below.

      Standard Resistance (Check for Open) 

      TESTER CONNECTION SPECIFIED CONDITIONS CHART

      Tester Connection Condition Specified Condition
      1F-3 - A41-52 (FC) Always Below 1 Ω

      Standard Resistance (Check for Short) 

      TESTER CONNECTION SPECIFIED CONDITIONS CHART

      Tester Connection Condition Specified Condition
      1F-3 or A41-52 (FC) - Body ground Always 10 kΩ or higher

      Text in Illustration 

      ILLUSTRATION LEGEND

      *1 Engine Room Junction Block Assembly *3 Front view of wire harness connector (to ECM)
      *2 Front view of wire harness connector (to Engine Room Junction Block Assembly) - -
    5. Reconnect the ECM connector.
    6. Reconnect the engine room junction block assembly connector.
    7. Reinstall the engine room junction block assembly.

      NG: REPAIR OR REPLACE HARNESS OR CONNECTOR (ENGINE ROOM JUNCTION BLOCK ASSEMBLY - ECM) 

      OK: Go to next step 

  12. INSPECT ENGINE ROOM JUNCTION BLOCK ASSEMBLY (C/OPN RELAY) 
    1. Remove the engine room junction block assembly from the engine room relay block.
    2. Disconnect the engine room junction block assembly connector.
    3. Measure the resistance according to the value(s) in the table below.

      Standard Resistance 

      TESTER CONNECTION SPECIFIED CONDITIONS CHART

      Tester Connection Condition Specified Condition
      1 (Engine room junction block assembly) - 1F-13
      • Battery voltage applied to terminals 1F-12 and 1F-5
      • Battery voltage applied to terminals 1F-2 and 1F-3
      Below 1 Ω
      1 (Engine room junction block assembly) - 1F-13
      • Battery voltage applied to terminals 1F-12 and 1F-5
      • No battery voltage applied to terminals 1F-2 and 1F-3
      10 kΩ or higher
      Fig 9: Identifying Terminals Of Engine Room Junction Block Assembly Connector
      G06023895Courtesy of © TOYOTA, LICENSE AGREEMENT TMS1002

      Text in Illustration 

      ILLUSTRATION LEGEND

      *1 Component without harness connected (Engine Room Junction Block Assembly)
    4. Reconnect the engine room junction block assembly connector.
    5. Reinstall the engine room junction block assembly.

      NG: REPLACE ENGINE ROOM JUNCTION BLOCK ASSEMBLY  (See INTEGRATION RELAY )

      OK: REPLACE ECM  (See REMOVAL  )