LEMON Manuals: Even more car manuals for everyone: 1960-2025
Home >> Toyota >> 2010 >> Avalon Limited >> Repair and Diagnosis >> Engine Performance >> Engine Control Systems >> Engine Control System (Service Information) >> Camshaft Oil Control Valve >> Inspection >> Inspection
April 5, 2026: LEMON Manuals is launched! Read the announcement.

Camshaft Oil Control Valve: Inspection: Inspection

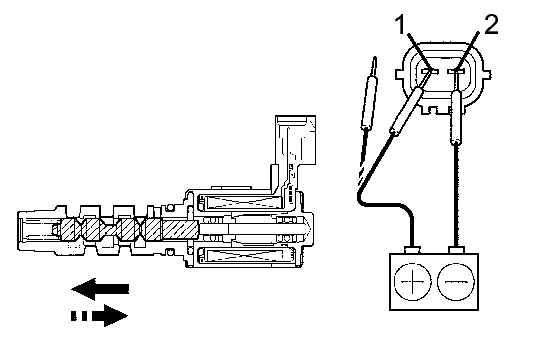
  1. INSPECT CAMSHAFT TIMING OIL CONTROL VALVE ASSEMBLY 
    1. Using an ohmmeter, measure the resistance between the terminals.
      Fig 1: Connecting Battery's Positive (+) Lead To Terminal 1 And Negative (-) Lead To Terminal
      GTY191117Courtesy of © TOYOTA, LICENSE AGREEMENT TMS1002
    2. Connect the battery's positive (+) lead to terminal 1 and negative (-) lead to terminal 2. Check the movement of the valve.
      OK:

      Condition Result
      Battery positive voltage is applied Valve moves in left arrow direction shown in illustration
      Battery positive voltage is cut off Valve moves in right arrow direction shown in illustration

      If operation is not as specified, replace the valve.