LEMON Manuals: Even more car manuals for everyone: 1960-2025
Home >> Toyota >> 2010 >> Avalon XL >> Repair and Diagnosis >> Steering >> Steering Column >> Steering Lock System (Diagnostics - Introduction) >> Steering Lock System >> System Diagram >> System Diagram
April 5, 2026: LEMON Manuals is launched! Read the announcement.

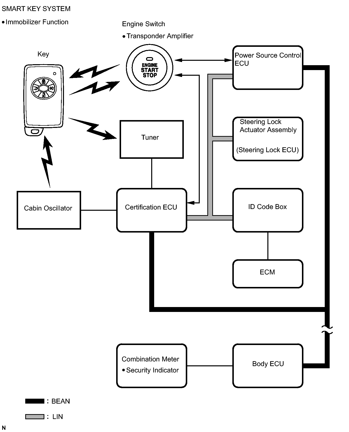
System Diagram

Fig 1: Electric Steering Lock System Diagram
GTY174547Courtesy of © TOYOTA, LICENSE AGREEMENT TMS1002
INPUT AND OUTPUT SIGNALS OF EACH ECU

Transmitting ECU
(transmitter)
Receiving ECU Signals Communication method
Power Source Control ECU Steering Lock ECU Power supply status (to steering lock motor) LIN
Steering Lock ECU
  • Certification ECU
  • Power source control ECU
  • ID code box
Sleep available status LIN
Steering Lock ECU
  • Certification ECU
  • Power source control ECU
  • ID code box
Lock/Unlock sensor status LIN
Steering Lock ECU
  • Certification ECU
  • Power source control ECU
  • ID code box
steering lock status LIN
Steering Lock ECU
  • Certification ECU
  • Power source control ECU
  • ID code box
Motor control status LIN
Steering Lock ECU
  • Certification ECU
  • Power source control ECU
  • ID code box
Diagnostic response status LIN
Steering Lock ECU
  • Certification ECU
  • Power source control ECU
  • ID code box
Lock/Unlock sensor malfunction LIN
Steering Lock ECU
  • Certification ECU
  • Power source control ECU
  • ID code box
Power supply malfunction (to steering lock motor) LIN
Steering Lock ECU
  • Certification ECU
  • Power source control ECU
  • ID code box
Motor driver malfunction LIN
Steering Lock ECU
  • Certification ECU
  • Power source control ECU
  • ID code box
Lock bar (stuck) status LIN
Steering Lock ECU
  • Certification ECU
  • Power source control ECU
  • ID code box
Push start status LIN
Steering Lock ECU
  • Certification ECU
  • Power source control ECU
  • ID code box
Lock/Unlock relay drive status LIN
Steering Lock ECU
  • Certification ECU
  • Power source control ECU
  • ID code box
Engine start control status LIN