LEMON Manuals: Even more car manuals for everyone: 1960-2025
Home >> Toyota >> 2010 >> FJ Cruiser 4WD, Part Time >> Repair and Diagnosis >> Engine Performance >> Engine Control Systems >> Engine Control System (Diagnostic Codes (P0340-P1603) >> SFI System >> DTC P0420: Catalyst System Efficiency Below Threshold (Bank 1); DTC P0430: Catalyst System Efficiency Below Threshold (Bank 2) >> Catalyst Location
April 5, 2026: LEMON Manuals is launched! Read the announcement.

Catalyst Location

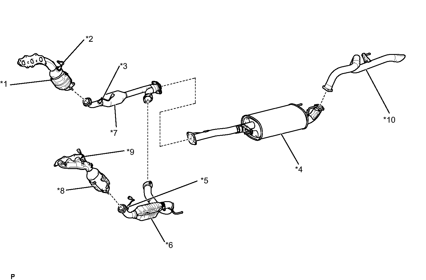
Fig 1: Identifying Catalyst, Exhaust Manifold Assembly , Air Fuel Ratio Sensors, Heated Oxygen Sensor & Exhaust Pipe Assembly
GTY189734Courtesy of © TOYOTA, LICENSE AGREEMENT TMS1002
TEXT IN ILLUSTRATION

*1 Exhaust Manifold Sub-Assembly RH (TWC: Front Catalyst) *2 Air Fuel Ratio Sensor (for Bank 1 Sensor 1)
*3 Heated Oxygen Sensor (for Bank 1 Sensor 2) *4 Center Exhaust Pipe Assembly
*5 Heated Oxygen Sensor (for Bank 2 Sensor 2) *6 No. 2 Front Exhaust Pipe Assembly (TWC: Rear Catalyst)
*7 Front Exhaust Pipe Assembly (TWC: Rear Catalyst) *8 Exhaust Manifold Sub-Assembly LH (TWC: Front Catalyst)
*9 Air Fuel Ratio Sensor (for Bank 2 Sensor 1) *10 Tail Exhaust Pipe Assembly