LEMON Manuals: Even more car manuals for everyone: 1960-2025
Home >> Toyota >> 2010 >> FJ Cruiser 4WD, Part Time >> Repair and Diagnosis >> Engine Performance >> Engine Control Systems >> Engine Control System (Diagnostic Codes (P1604-P2610) & Circuit Tests) >> SFI System >> Circuit Tests >> VC Output Circuit >> Wiring Diagram
April 5, 2026: LEMON Manuals is launched! Read the announcement.

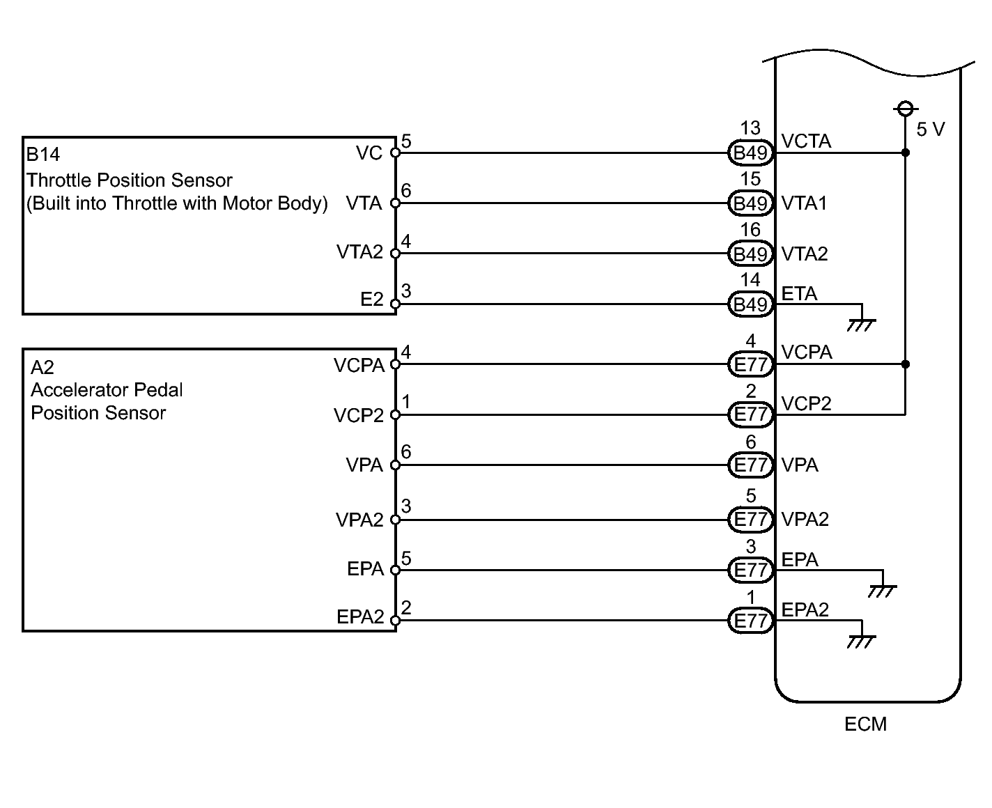
VC Output Circuit: Wiring Diagram

Fig 1: ECM - Wiring Diagram (1 Of 2)
GTY176713Courtesy of © TOYOTA, LICENSE AGREEMENT TMS1002
Fig 2: ECM - Wiring Diagram (2 Of 2)
GTY183079Courtesy of © TOYOTA, LICENSE AGREEMENT TMS1002