LEMON Manuals: Even more car manuals for everyone: 1960-2025
Home >> Toyota >> 2010 >> FJ Cruiser 4WD, Part Time >> Repair and Diagnosis >> Engine Performance >> Engine Control Systems >> Engine Control System (Diagnostic Codes (P1604-P2610) & Circuit Tests) >> SFI System >> EVAP System >> Description
April 5, 2026: LEMON Manuals is launched! Read the announcement.

EVAP System: Description

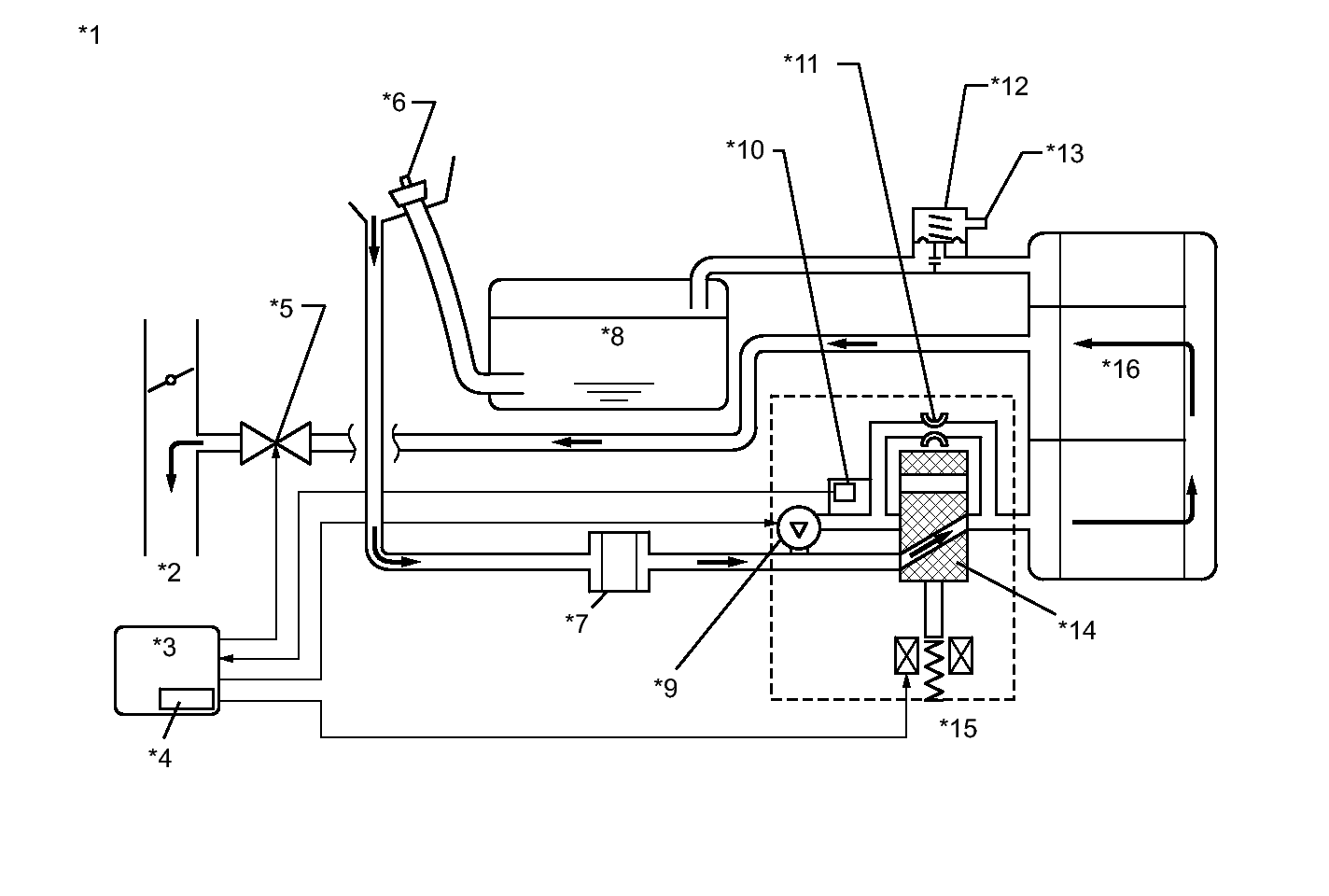
Fig 1: Identifying EVAP (Evaporative Emission) System
GTY176927Courtesy of © TOYOTA, LICENSE AGREEMENT TMS1002
TEXT IN ILLUSTRATION

*1 Location of EVAP (Evaporative Emission) System *2 Fuel Tank
*3 Canister Pump Module *4 Refueling Valve
*5 Canister *6 Canister Filter
*7 Bleeding Pipe *8 Air Inlet Port
*9 Fuel Cap *10 Purge VSV
*11 Purge Line *12 EVAP Hose (to Intake Air Surge Tank)
*13 EVAP Hose (from Canister) - -
NOTE:

The canister is located near the fuel tank, underneath the body.

HINT: 

The canister pressure sensor, the leak detection pump and the vent valve are built into the canister pump module.

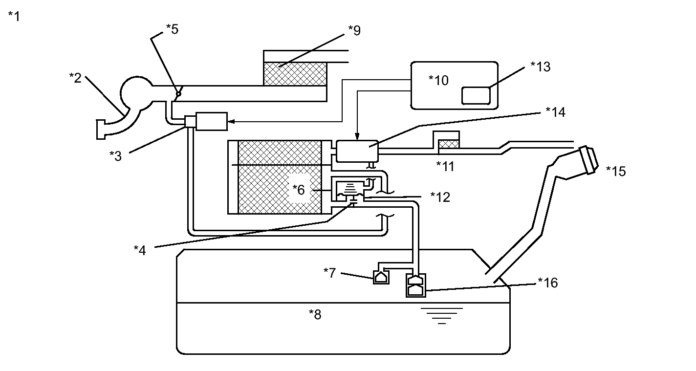
Fig 2: Identifying EVAP System Circuit
GTY168104Courtesy of © TOYOTA, LICENSE AGREEMENT TMS1002
TEXT IN ILLUSTRATION

*1 EVAP System Circuit *2 Intake Manifold
*3 Purge VSV *4 Restrictor (0.08 inch)
*5 Throttle Valve *6 Canister
*7 Cut-off Valve *8 Fuel Tank
*9 Air Cleaner *10 ECM
*11 Canister Filter *12 Refueling Valve
*13 Soak Timer *14 Canister Pump Module
*15 Fuel Cap *16 Roll-Over Valve
NOTE:

In this vehicle's EVAP system, turning ON the vent valve does not seal off the EVAP system. To check for leaks in the EVAP system, disconnect the air inlet vent hose and apply pressure from the atmosphere side of the canister.

While the engine is running, if a predetermined condition (closed-loop etc.) is met, the purge VSV is opened by the ECM and stored fuel vapors in the canister are purged to the intake manifold. The ECM changes the duty cycle ratio of the purge VSV to control purge flow volume.

The purge flow volume is also determined by the intake manifold pressure. Atmospheric pressure is allowed into the canister through the vent valve to ensure that the purge flow is maintained when the negative pressure (vacuum) is applied to the canister.

The following two monitors run to confirm appropriate EVAP system operation.

  1. Key-off monitor 

    This monitor checks for EVAP (Evaporative Emission) system leaks and canister pump module malfunctions. The monitor starts 5 hours* after the ignition switch is turned off. More than 5 hours are required to allow enough time for the fuel to cool down to stabilize the fuel tank pressure, thus making the EVAP system monitor more accurate.

    The electric leak detection pump creates negative pressure (vacuum) in the EVAP system and the pressure is measured. Finally, the ECM monitors for leaks from the EVAP system, and malfunctions in both the canister pump module and purge VSV, based on the EVAP pressure.

    HINT: 

    * : If the engine coolant temperature is not below 35°C (95°F) 5 hours after the ignition switch is turned off, the monitor check starts 2 hours later. If it is still not below 35°C (95°F) 7 hours after the ignition switch is turned off, the monitor check starts 2.5 hours later.

  2. Purge flow monitor 

    The purge flow monitor consists of the two monitors. The 1st monitor is always conducted every time and the 2nd monitor is activated if necessary.

    • The 1st monitor

      While the engine is running and the purge VSV (Vacuum Switching Valve) is ON (open), the ECM monitors the purge flow by measuring the EVAP pressure change. If negative pressure is not created, the ECM begins the 2nd monitor.

    • The 2nd monitor

      The vent valve is turned OFF (open) and the EVAP pressure is then measured. If the variation in the pressure is less than 0.5 kPa (3.75 mmHg), the ECM interprets this as the purge VSV being stuck closed, illuminates the MIL and sets DTC P0441 (2 trip detection logic).

    Atmospheric pressure check:

    In order to ensure reliable malfunction detection, the variation between the atmospheric pressures, before and after conduction of the purge flow monitor, is measured by the ECM.

    Fig 3: EVAP System - Operation Diagram
    GTY172164Courtesy of © TOYOTA, LICENSE AGREEMENT TMS1002
    TEXT IN ILLUSTRATION

    *1 EVAP Purge Flow *2 to Intake Manifold
    *3 ECM *4 Soak Timer
    *5 Purge VSV (on) *6 Fuel Cap
    *7 Canister Filter *8 Fuel Tank
    *9 Leak Detection Pump (off) *10 Canister Pressure Sensor
    *11 Reference Orifice (0.02 inch) *12 Refueling Valve
    *13 to Atmosphere *14 Vent Valve (off)
    *15 Canister Pump Module *16 Canister
    Component Operation
    Canister Contains activated charcoal to absorb EVAP (Evaporative Emissions) generated in fuel tank.
    Cut-off valve Located in fuel tank. Valve floats and closes when fuel tank 100% full.
    Purge VSV (Vacuum Switching Valve) Opens or closes line between canister and intake manifold. ECM uses purge VSV to control EVAP purge flow. In order to discharge EVAP absorbed by canister to intake manifold, ECM opens purge VSV. EVAP discharge volume to intake manifold controlled by purge VSV duty cycle ratio (current-carrying time). (Open: ON, Close: OFF)
    Refueling valve Controls EVAP pressure from fuel tank to canister. Valve consists of diaphragm, spring and restrictor (diameter: 0.08 inch). When fuel vapor and pressure inside fuel tank increase, valve opens. While EVAP purged, valve closes and restrictor prevents large amount of vacuum from affecting pressure in fuel tank. Valve opened while refueling. When valve open, adding fuel into fuel tank possible.
    Roll-over valve Located in fuel tank. Valve closes by its own weight when vehicle overturns to prevent fuel from spilling out.
    Soak timer Built into ECM. To ensure accurate EVAP monitor, measures 5 hours (+/-15 min) after ignition switch turned off. This allows fuel to cool down, stabilizing fuel tank pressure. When approx 5 hours elapsed, ECM activates, refer toFigure
    Canister pump module Consists of (a) to (d) below. Canister pump module cannot be disassembled.
    (a) Vent valve Vents and closes EVAP system. When ECM turns valve ON, EVAP system closed. When, ECM turns valve OFF, EVAP system vented. Negative pressure (vacuum) created in EVAP system to check for EVAP leaks by closing purge VSV, turning on vent valve (closed) and operating leak detection pump, refer toFigure.
    (b) Canister pressure sensor Indicates pressure as voltages. ECM supplies regulated 5 V to canister pressure sensor, and uses feedback from sensor to monitor EVAP system pressure, refer toFigure.
    (c) Leak detection pump Creates negative pressure (vacuum) in EVAP system for leak check.
    (d) Reference orifice Has opening with 0.02 inch diameter. Vacuum produced through orifice by closing purge VSV, turning off vent valve and operating leak detection pump, to monitor reference pressure. reference pressure indicates small leak of EVAP.
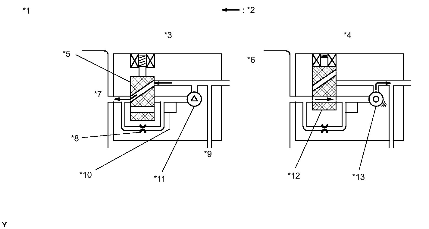
    Fig 4: EVAP System - Operation Diagram
    GTY173416Courtesy of © TOYOTA, LICENSE AGREEMENT TMS1002
    TEXT IN ILLUSTRATION

    *1 Canister Pump Module (fig. 1) *2 Airflow
    *3 Condition: Purge Flow *4 Condition: Leak Check
    *5 Vent Valve: off (vent) *6 to Canister Filter (Atmosphere)
    *7 Canister *8 Reference Orifice (0.02 Inch)
    *9 From Refueling Valve *10 Canister Pressure Sensor
    *11 Leak Detection Pump: off *12 Vent Valve: on (closed)
    *13 Leak Detection Pump: on - -
    Fig 5: Canister Pressure Sensor Specification Graph
    GTY175369Courtesy of © TOYOTA, LICENSE AGREEMENT TMS1002
    Fig 6: Soak Timer Circuit - Wiring Diagram
    GTY172618Courtesy of © TOYOTA, LICENSE AGREEMENT TMS1002