LEMON Manuals: Even more car manuals for everyone: 1960-2025
Home >> Toyota >> 2010 >> Matrix AWD L4-2.4L (2AZ-FE) >> Repair and Diagnosis >> Powertrain Management >> Computers and Control Systems >> Information Bus >> Testing and Inspection >> Component Tests and General Diagnostics >> Open in CAN Main Bus Line
April 5, 2026: LEMON Manuals is launched! Read the announcement.

Open in CAN Main Bus Line





NETWORKING: CAN COMMUNICATION SYSTEM: Open in CAN Main Bus Line
- Open in CAN Main Bus Line

DESCRIPTION

There may be an open circuit in the CAN main wire and/or the DLC3 branch wire when the resistance between terminals 6 (CANH) and 14 (CANL) of the DLC3 is 70 Ohms or higher.





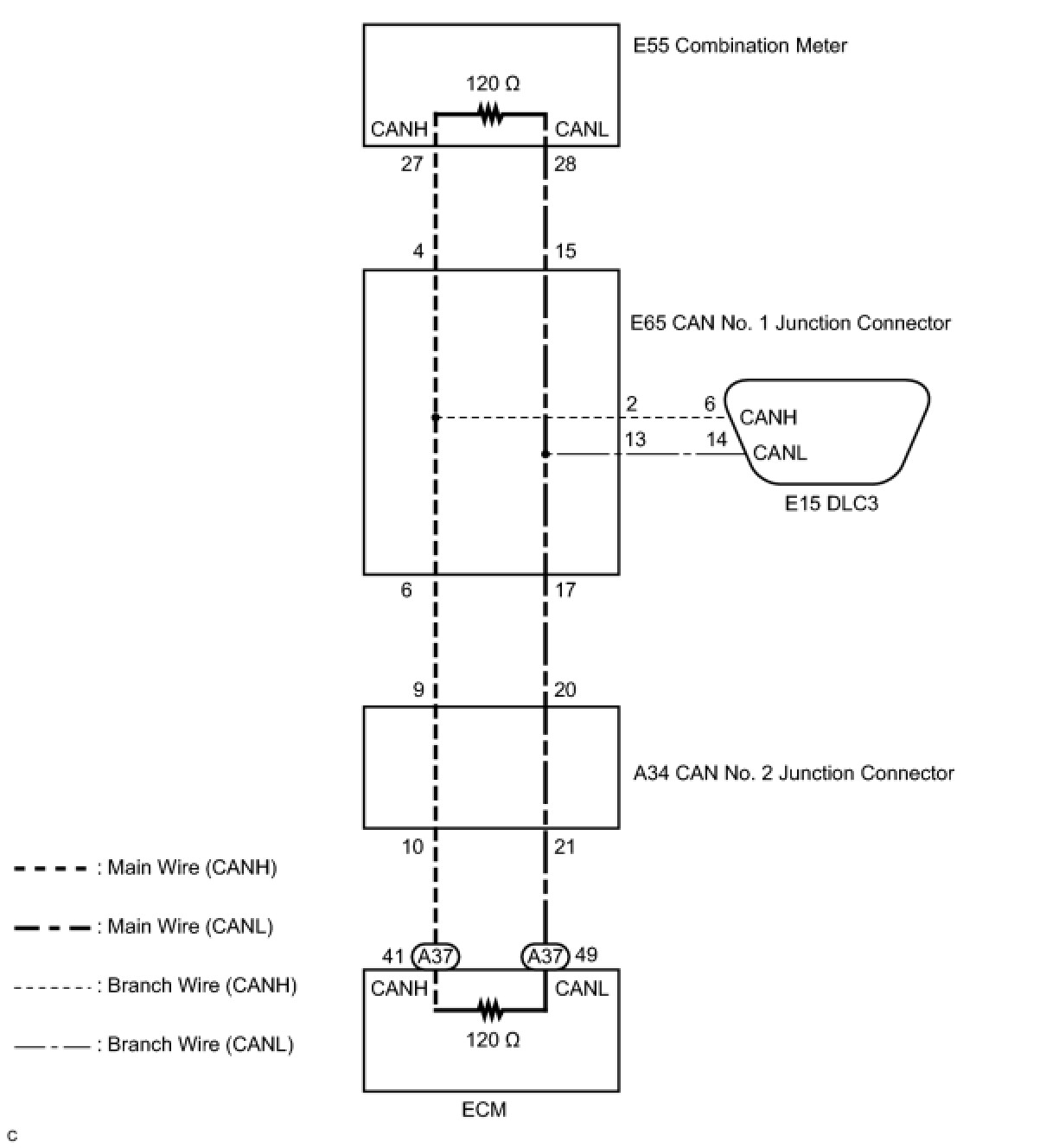
WIRING DIAGRAM





INSPECTION PROCEDURE

NOTICE:
* Turn the ignition switch off before measuring the resistance of CAN bus main wires and the CAN bus branch wires.
* After the ignition switch is turned off, check that the key reminder warning system and light reminder warning system are not in operation.
* Before measuring the resistance, leave the vehicle as is for at least 1 minute and do not operate the ignition switch, any other switches or the doors. If any doors need to be opened in order to check the connectors, open the doors and leave them open.

HINT
* Operating the ignition switch, any other switches or a door triggers related ECU and sensor communication on the CAN. This communication will cause the resistance value to change.
* Even after DTCs are cleared, if a DTC is stored again after driving the vehicle for a while, the malfunction may be occurring due to vibration of the vehicle. In such a case, wiggling the ECUs or wire harness while performing the inspection below will help determine the cause of the malfunction.

PROCEDURE

1. CHECK DLC3

(a) Turn the ignition switch off.





(b) Measure the resistance according to the value(s) in the table below.

Standard Resistance:





NOTICE:
When the measured value is 132 Ohms or higher and a CAN communication system diagnostic trouble code is output, there may be a fault besides disconnection of the DLC3 branch wire. For that reason, troubleshooting should be performed again from "HOW TO PROCEED WITH TROUBLESHOOTING" Initial Inspection and Diagnostic Overview after repairing the trouble area.

NG -- REPAIR OR REPLACE CAN BRANCH WIRE CONNECTED TO DLC3
OK -- Continue to next step.

2. CHECK FOR OPEN IN CAN BUS MAIN WIRE (CAN NO. 2 JUNCTION CONNECTOR)

(a) Turn the ignition switch off.





(b) Disconnect the CAN No. 2 junction connector.

(c) Measure the resistance according to the value(s) in the table below.

Standard Resistance:





NG -- CHECK FOR OPEN IN CAN BUS MAIN WIRE (COMBINATION METER)
OK -- Continue to next step.

3. CHECK FOR OPEN IN CAN BUS MAIN WIRE

(a) Turn the ignition switch off.

(b) Reconnect the CAN No. 2 junction connector.

(c) Disconnect the ECM connector.

(d) Measure the resistance according to the value(s) in the table below.





Standard Resistance:





Result:





C -- CHECK FOR OPEN IN CAN BUS MAIN WIRE (CAN NO. 2 JUNCTION CONNECTOR - ECM)

B -- REPLACE ECM Removal

A -- REPLACE ECM Removal

4. CHECK FOR OPEN IN CAN BUS MAIN WIRE (CAN NO. 2 JUNCTION CONNECTOR - ECM)

(a) Turn the ignition switch off.

(b) Reconnect the ECM connector.





(c) Disconnect the CAN No. 2 junction connector.

(d) Measure the resistance according to the value(s) in the table below.

Standard Resistance:





NG -- REPAIR OR REPLACE CAN MAIN WIRE OR CONNECTOR (CAN NO. 2 JUNCTION CONNECTOR - ECM)

OK -- REPLACE CAN NO. 2 JUNCTION CONNECTOR

5. CHECK FOR OPEN IN CAN BUS MAIN WIRE (COMBINATION METER)

(a) Turn the ignition switch off.

(b) Reconnect the CAN No. 2 junction connector.





(c) Disconnect the combination meter connector.

(d) Measure the resistance according to the value(s) in the table below.

Standard Resistance:





NG -- CHECK FOR OPEN IN CAN BUS MAIN WIRE (CAN NO. 1 JUNCTION CONNECTOR - COMBINATION METER)

OK -- REPLACE COMBINATION METER ASSEMBLY Removal

6. CHECK FOR OPEN IN CAN BUS MAIN WIRE (CAN NO. 1 JUNCTION CONNECTOR - COMBINATION METER)

(a) Turn the ignition switch off.

(b) Reconnect the combination meter connector.





(c) Disconnect the CAN No. 1 junction connector.

(d) Measure the resistance according to the value(s) in the table below.

Standard Resistance:





NG -- REPAIR OR REPLACE CAN MAIN WIRE OR CONNECTOR (CAN NO. 1 JUNCTION CONNECTOR - COMBINATION METER)
OK -- Continue to next step.

7. CHECK FOR OPEN IN CAN BUS MAIN WIRE (CAN NO. 1 JUNCTION CONNECTOR - CAN NO. 2 JUNCTION CONNECTOR)

(a) Turn the ignition switch off.





(b) Disconnect the CAN No. 1 junction connector.

(c) Measure the resistance according to the value(s) in the table below.

Standard Resistance:





NG -- REPAIR OR REPLACE CAN MAIN WIRE OR CONNECTOR (CAN NO. 1 JUNCTION CONNECTOR - CAN NO. 2 JUNCTION CONNECTOR)

OK -- REPLACE CAN NO. 1 JUNCTION CONNECTOR