LEMON Manuals: Even more car manuals for everyone: 1960-2025
Home >> Toyota >> 2010 >> Prius Base >> Repair and Diagnosis (Single Page) >> Accessories & Equipment >> Cruise Control Systems >> Dynamic Radar Cruise Control System (Diagnostic Codes & Circuit Tests) (Except PHV) >> Dynamic Radar Cruise Control System >> DTC C1A05: Stop Light Switch Circuit; DTC C1A4B: Stop Light Relay Circuit >> Procedure
April 5, 2026: LEMON Manuals is launched! Read the announcement.

DTC C1A05: Stop Light Switch Circuit; DTC C1A4B: Stop Light Relay Circuit: Procedure

  1. READ VALUE USING TECHSTREAM (STOP LIGHT SWITCH ASSEMBLY) 
    1. Connect the Techstream to the DLC3.
    2. Turn the power switch on (IG).
    3. Turn the Techstream on.
    4. Enter the following menus: Powertrain / Radar Cruise / Data List.
    5. Check the Data List for proper functioning of the stop light switch.
      RADAR CRUISE

      Tester Display Measurement Item/Range Normal Condition Diagnostic Note
      Stop Light SW 1 (M CPU) Stop light switch (Main-CPU) signal/ON or OFF ON: Brake pedal depressed
      OFF: Brake pedal released
      -
      Stop Light SW 1 (S CPU) Stop light switch (Sub-CPU) signal/ON or OFF ON: Brake pedal depressed
      OFF: Brake pedal released
      -
      Stop Light SW 2 (M CPU) Stop light switch (Main-CPU) signal/ON or OFF ON: Brake pedal depressed
      OFF: Brake pedal released
      -

      OK

      Display changes according to brake pedal operation described in above table.

    NG → See step   12 

    OK: Go to next step 

  2. CHECK HARNESS AND CONNECTOR (STOP LIGHT CONTROL RELAY POWER SOURCE) 
    1. Disconnect the stop light control relay connector.
      Fig 1: View Of Wire Harness Connector To Stop Light Control Relay
      GTY214012Courtesy of © TOYOTA, LICENSE AGREEMENT TMS1002
    2. Measure the voltage according to the value(s) in the table below.

      Standard Voltage

      Tester Connection Condition Specified Condition
      A28-6 (+B) - Body ground Always 11 to 14 V
      TEXT IN ILLUSTRATION

      *1 Front view of wire harness connector
      (to Stop Light Control Relay)
    3. Reconnect the stop light control relay connector.

    NG → REPAIR OR REPLACE HARNESS OR CONNECTOR (STOP LIGHT CONTROL RELAY - STOP FUSE) 

    OK: Go to next step 

  3. CHECK HARNESS AND CONNECTOR (STOP LIGHT CONTROL RELAY - BODY GROUND) 
    1. Disconnect the stop light control relay connector.
      Fig 2: View Of Wire Harness Connector To Stop Light Control Relay
      GTY214011Courtesy of © TOYOTA, LICENSE AGREEMENT TMS1002
    2. Measure the resistance according to the value(s) in the table below.

      Standard Resistance

      Tester Connection Condition Specified Condition
      A28-8 (GND) - Body ground Always Below 1 Ω
      TEXT IN ILLUSTRATION

      *1 Front view of wire harness connector
      (to Stop Light Control Relay)
    3. Reconnect the stop light control relay connector.

    NG → REPAIR OR REPLACE HARNESS OR CONNECTOR (STOP LIGHT CONTROL RELAY - BODY GROUND) 

    OK: Go to next step 

  4. CHECK HARNESS AND CONNECTOR (STOP LIGHT CONTROL RELAY - STOP LIGHT SWITCH ASSEMBLY) 
    1. Disconnect the stop light control relay connector.
      Fig 3: View Of Wire Harness Connectors To Stop Light Control Relay & Stop Light Switch Assembly
      GTY214187Courtesy of © TOYOTA, LICENSE AGREEMENT TMS1002
    2. Disconnect the stop light switch assembly connector.
    3. Measure the resistance according to the value(s) in the table below.

      Standard Resistance (Check for Open)

      Tester Connection Condition Specified Condition
      A26-1 - A28-5 (STP) Always Below 1 Ω

      Standard Resistance (Check for Short)

      Tester Connection Condition Specified Condition
      A26-1 or A28-5 (STP) - Body ground Always 10 kΩ or higher
      TEXT IN ILLUSTRATION

      *1 Front view of wire harness connector
      (to Stop Light Control Relay)
      *2 Front view of wire harness connector
      (to Stop Light Switch Assembly)
    4. Reconnect the stop light switch assembly connector.
    5. Reconnect the stop light control relay connector.

    NG → REPAIR OR REPLACE HARNESS OR CONNECTOR (STOP LIGHT CONTROL RELAY - STOP LIGHT SWITCH ASSEMBLY) 

    OK: Go to next step 

  5. CHECK HARNESS AND CONNECTOR (STOP LIGHT SWITCH ASSEMBLY - SKID CONTROL ECU) 
    1. Disconnect the stop light switch assembly connector.
      Fig 4: View Of Wire Harness Connectors To Stop Light Control Relay & Brake Booster With Master Cylinder (Skid Control ECU)
      GTY236747Courtesy of © TOYOTA, LICENSE AGREEMENT TMS1002
    2. Disconnect the brake booster with master cylinder (skid control ECU) connector.
    3. Measure the resistance according to the value(s) in the table below.

      Standard Resistance (Check for Open)

      Tester Connection Condition Specified Condition
      A26-1 - A58-33 (STP) Always Below 1 Ω

      Standard Resistance (Check for Short)

      Tester Connection Condition Specified Condition
      A26-1 or A58-33 (STP) - Body ground Always 10 kΩ or higher
      TEXT IN ILLUSTRATION

      *1 Front view of wire harness connector
      (to Stop Light Switch Assembly)
      *2 Front view of wire harness connector
      (to Brake Booster with Master Cylinder (Skid Control ECU))
    4. Reconnect the stop light switch assembly connector.
    5. Reconnect the brake booster with master cylinder (skid control ECU) connector.

    NG → REPAIR OR REPLACE HARNESS OR CONNECTOR (STOP LIGHT SWITCH ASSEMBLY - SKID CONTROL ECU) 

    OK: Go to next step 

  6. CHECK HARNESS AND CONNECTOR (STOP LIGHT CONTROL RELAY - SKID CONTROL ECU) 
    1. Disconnect the stop light control relay connector.
      Fig 5: View Of Wire Harness Connectors To Stop Light Control Relay & Brake Booster With Master Cylinder (Skid Control ECU)
      GTY235340Courtesy of © TOYOTA, LICENSE AGREEMENT TMS1002
    2. Disconnect the brake booster with master cylinder (skid control ECU) connectors.
    3. Measure the resistance according to the value(s) in the table below.

      Standard Resistance (Check for Open)

      Tester Connection Switch Condition Specified Condition
      A28-1 (OUT) - A58-6 (STP2) Always Below 1 Ω
      A28-5 (STP) - A58-33 (STP) Always Below 1 Ω
      A28-9 (ACC) - A58-3 (STP0) Always Below 1 Ω

      Standard Resistance (Check for Short)

      Tester Connection Switch Condition Specified Condition
      A28-1 (OUT) or A58-6 (STP2) - Body ground Always 10 kΩ or higher
      A28-5 (STP) or A58-33 (STP) - Body ground Always 10 kΩ or higher
      A28-9 (ACC) or A58-3 (STP0) - Body ground Always 10 kΩ or higher
      TEXT IN ILLUSTRATION

      *1 Front view of wire harness connector
      (to Stop Light Control Relay)
      *2 Front view of wire harness connector
      (to Brake Booster with Master Cylinder (Skid Control ECU))
    4. Reconnect the stop light control relay connector.
    5. Reconnect the brake booster with master cylinder (skid control ECU) connectors.

    NG → REPAIR OR REPLACE HARNESS OR CONNECTOR (STOP LIGHT CONTROL RELAY - SKID CONTROL ECU) 

    OK: Go to next step 

  7. INSPECT STOP LIGHT CONTROL RELAY 
    1. Inspect the stop light control relay. Refer to INSPECTION .

    NG → See step   18 

    OK: Go to next step 

  8. REPLACE BRAKE BOOSTER WITH MASTER CYLINDER (SKID CONTROL ECU) 
    1. Replace the brake booster with master cylinder (skid control ECU). Refer to REMOVAL .

    NEXT: Go to next step 

  9. CHECK WHETHER DTC OUTPUT RECORDS (DTC C1A05 OR C1A4B) 
    1. Connect the Techstream to the DLC3.
    2. Turn the power switch on (IG).
    3. Clear the DTCs. Refer to DTC CHECK / CLEAR .
    4. Perform the following to make sure that the DTC detection conditions are met.

      HINT: 

      If the detection conditions are not met, the malfunction cannot be detected.

      1. Drive the vehicle at a speed of 40 km/h (25 mph) or more.
      2. Turn the cruise control main switch on.
      3. Push the -SET switch to activate the cruise control.
    5. Enter the following menus: Powertrain / Radar Cruise / Trouble Codes.
    6. Read the DTCs.

      Result

      Result Proceed to
      DTC is not output A
      DTC C1A05 or C104B is output B

    B → See step   10 

    A → END 

  10. REPLACE POWER MANAGEMENT CONTROL ECU 
    1. Replace the power management control ECU. Refer to REMOVAL .

    NEXT: Go to next step 

  11. CHECK WHETHER DTC OUTPUT RECORDS (DTC C1A05 OR C1A4B) 
    1. Connect the Techstream to the DLC3.
    2. Turn the power switch on (IG).
    3. Clear the DTCs. Refer to DTC CHECK / CLEAR .
    4. Perform the following to make sure that the DTC detection conditions are met.

      HINT: 

      If the detection conditions are not met, the malfunction cannot be detected.

      1. Drive the vehicle at a speed of 40 km/h (25 mph) or more.
      2. Turn the cruise control main switch on.
      3. Push the -SET switch to activate the cruise control.
    5. Enter the following menus: Powertrain / Radar Cruise / Trouble Codes.
    6. Read the DTCs.

      Result

      Result Proceed to
      DTC is not output A
      DTC C1A05 or C104B is output B

    B → See step   19 

    A → END 

  12. CHECK HARNESS AND CONNECTOR (STOP LIGHT SWITCH ASSEMBLY - POWER SOURCE) 
    1. Disconnect the stop light switch assembly connector.
      Fig 6: View Of Wire Harness Connector To Stop Light Switch Assembly
      GTY216917Courtesy of © TOYOTA, LICENSE AGREEMENT TMS1002
    2. Measure the voltage according to the value(s) in the table below.

      Standard Voltage

      Tester Connection Condition Specified Condition
      A26-2 - Body ground Always 11 to 14 V
      TEXT IN ILLUSTRATION

      *1 Front view of wire harness connector
      (to Stop Light Switch Assembly)
    3. Reconnect the stop light switch assembly connector.

    NG → See step   17 

    OK: Go to next step 

  13. CHECK HARNESS AND CONNECTOR (STOP LIGHT SWITCH ASSEMBLY - POWER SOURCE) 
    1. Disconnect the stop light switch assembly connector.
      Fig 7: View Of Wire Harness Connector To Stop Light Switch Assembly
      GTY216917Courtesy of © TOYOTA, LICENSE AGREEMENT TMS1002
    2. Turn the power switch on (IG).
    3. Measure the voltage according to the value(s) in the table below.

      Standard Voltage

      Tester Connection Condition Specified Condition
      A26-4 - Body ground Power switch on (IG) 11 to 14 V
      TEXT IN ILLUSTRATION

      *1 Front view of wire harness connector
      (to Stop Light Switch Assembly)
    4. Reconnect the stop light switch assembly connector.

    NG → REPAIR OR REPLACE HARNESS OR CONNECTOR (STOP LIGHT SWITCH ASSEMBLY - POWER MANAGEMENT CONTROL ECU) 

    OK: Go to next step 

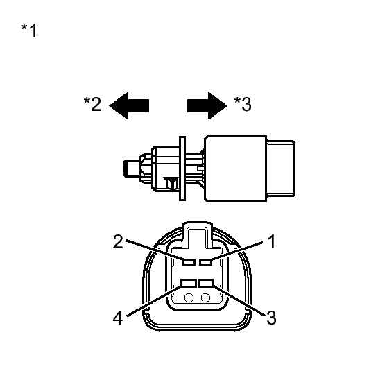
  14. INSPECT STOP LIGHT SWITCH ASSEMBLY 
    1. Remove the stop light switch assembly. Refer to REMOVAL .
      Fig 8: Inspecting Stop Light Switch Assembly
      GTY211910Courtesy of © TOYOTA, LICENSE AGREEMENT TMS1002
    2. Measure the resistance according to the value(s) in the table below.

      Standard Resistance

      Tester Connection Switch Condition Specified Condition
      1 - 2 Switch pin not pushed Below 1 Ω
      3 - 4 Switch pin not pushed 10 kΩ or higher
      1 - 2 Switch pin pushed 10 kΩ or higher
      3 - 4 Switch pin pushed Below 1 Ω
      TEXT IN ILLUSTRATION

      *1 Component without harness connected
      (Stop Light Switch Assembly)
      *2 Not pushed
      *3 Pushed
    3. Install the stop light switch assembly. Refer to INSTALLATION .

    NG → See step   20 

    OK: Go to next step 

  15. CHECK HARNESS AND CONNECTOR (STOP LIGHT SWITCH ASSEMBLY - DRIVING SUPPORT ECU) 
    1. Disconnect the stop light switch assembly connector.
      Fig 9: View Of Wire Harness Connectors To Stop Light Switch Assembly & Driving Support ECU
      GTY220880Courtesy of © TOYOTA, LICENSE AGREEMENT TMS1002
    2. Disconnect the driving support ECU connector.
    3. Measure the resistance according to the value(s) in the table below.

      Standard Resistance (Check for Open)

      Tester Connection Switch Condition Specified Condition
      A26-3 - L60-28 (ST1-) Always Below 1 Ω
      A26-1 - L60-27 (STP-) Always Below 1 Ω

      Standard Resistance (Check for Open)

      Tester Connection Switch Condition Specified Condition
      A26-3 or L60-28 (ST1-) - Body ground Always 10 kΩ or higher
      A26-1 or L60-27 (STP-) - Body ground Always 10 kΩ or higher
      TEXT IN ILLUSTRATION

      *1 Front view of wire harness connector
      (to Stop Light Switch Assembly)
      *2 Front view of wire harness connector
      (to Driving Support ECU)
    4. Reconnect the stop light switch assembly connector.
    5. Reconnect the driving support ECU connector.

    NG → REPAIR OR REPLACE HARNESS OR CONNECTOR (STOP LIGHT SWITCH ASSEMBLY - DRIVING SUPPORT ECU) 

    OK: Go to next step 

  16. CHECK HARNESS AND CONNECTOR 
    1. Disconnect the stop light switch assembly connector.
      Fig 10: Checking Harness & Connector
      GTY220690Courtesy of © TOYOTA, LICENSE AGREEMENT TMS1002
    2. Disconnect the driving support ECU connector.
    3. Disconnect the stop light control relay connector.
    4. Disconnect the brake booster with master cylinder (skid control ECU) connector.
    5. Disconnect the power management control ECU connector.
    6. Measure the resistance according to the value(s) in the table below.

      Standard Resistance (Check for Short)

      Tester Connection Switch Condition Specified Condition
      A26-1 or L60-27 (STP-) - Body ground Always 10 kΩ or higher
      A26-1 or A58-33 (STP) - Body ground Always 10 kΩ or higher
      A26-1 or A28-5 (STP) - Body ground Always 10 kΩ or higher
      A26-1 or A22-23 (STP) - Body ground Always 10 kΩ or higher
      TEXT IN ILLUSTRATION

      *1 Front view of wire harness connector
      (to Stop Light Switch Assembly)
      *2 Front view of wire harness connector
      (to Driving Support ECU)
      *3 Front view of wire harness connector
      (to Brake Booster with Master Cylinder (Skid Control ECU))
      *4 Front view of wire harness connector
      (to Stop Light Control Relay)
      *5 Front view of wire harness connector
      (to Power Management Control ECU)
      - -
    7. Reconnect the stop light switch assembly connector.
    8. Reconnect the driving support ECU connector.
    9. Reconnect the power management control ECU connector.
    10. Reconnect the stop light control relay connector.
    11. Reconnect the brake booster with master cylinder (skid control ECU) connector.

    NG → REPAIR OR REPLACE HARNESS OR CONNECTOR 

    OK → See step   21 

  17. CHECK HARNESS AND CONNECTOR (STOP LIGHT SWITCH ASSEMBLY - STOP LIGHT CONTROL RELAY) 
    1. Disconnect the stop light switch assembly connector.
      Fig 11: View Of Wire Harness Connectors To Stop Light Switch Assembly & Control Relay
      GTY221436Courtesy of © TOYOTA, LICENSE AGREEMENT TMS1002
    2. Disconnect the stop light control relay connector.
    3. Measure the resistance according to the value(s) in the table below.

      Standard Resistance (Check for Short)

      Tester Connection Switch Condition Specified Condition
      A26-2 or A28-6 (+B) - Body ground Always 10 kΩ or higher
      TEXT IN ILLUSTRATION

      *1 Front view of wire harness connector
      (to Stop Light Switch Assembly)
      *2 Front view of wire harness connector
      (to Stop Light Control Relay)
    4. Reconnect the stop light switch assembly connector.
    5. Reconnect the stop light control relay connector.

    NG → REPAIR OR REPLACE HARNESS OR CONNECTOR (STOP LIGHT SWITCH ASSEMBLY - STOP LIGHT CONTROL RELAY) 

    OK → REPAIR OR REPLACE HARNESS OR CONNECTOR (STOP LIGHT SWITCH ASSEMBLY - BATTERY) 

  18. REPLACE STOP LIGHT CONTROL RELAY. Refer to  REMOVAL 
  19. REPLACE DRIVING SUPPORT ECU. Refer to  REMOVAL 
  20. REPLACE STOP LIGHT SWITCH ASSEMBLY. Refer to  REMOVAL 
  21. REPLACE DRIVING SUPPORT ECU. Refer to  REMOVAL