LEMON Manuals: Even more car manuals for everyone: 1960-2025
Home >> Toyota >> 2010 >> Prius Base >> Repair and Diagnosis (Single Page) >> Accessories & Equipment >> Infotainment >> Navigation System (Diagnostic Codes & Circuit Tests) (Except PHV) >> Navigation System >> Circuit Test >> Navigation Receiver Assembly Power Source Circuit >> Procedure
April 5, 2026: LEMON Manuals is launched! Read the announcement.

Navigation Receiver Assembly Power Source Circuit: Procedure

  1. INSPECT NAVIGATION RECEIVER ASSEMBLY 
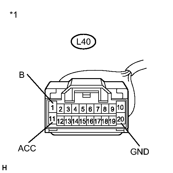
    1. Disconnect the L40 navigation receiver assembly connector (w/ "Bluetooth" Audio System).
      Fig 1: Identifying L40 Navigation Receiver Assembly Connector (W/ "Bluetooth" Audio System)
      GTY215568Courtesy of © TOYOTA, LICENSE AGREEMENT TMS1002
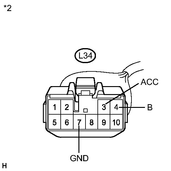
    2. Disconnect the L34 navigation receiver assembly connector (w/o "Bluetooth" Audio System).
      Fig 2: Identifying L34 Navigation Receiver Assembly Connector (W/O "Bluetooth" Audio System)
      GTY212487Courtesy of © TOYOTA, LICENSE AGREEMENT TMS1002
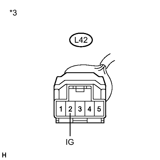
    3. Disconnect the L42 navigation receiver assembly connector.
      Fig 3: Identifying L42 Navigation Receiver Assembly Connector
      GTY222657Courtesy of © TOYOTA, LICENSE AGREEMENT TMS1002
    4. Measure the resistance according to the value(s) in the table below.

      Standard Resistance

      Tester Connection Condition Specified Condition
      L40-20 (GND) - Body ground*4 Always Below 1 Ω
      L34-7 (GND) - Body ground*5 Always Below 1 Ω
    5. Measure the voltage according to the value(s) in the table below.

      Standard Voltage

      Tester Connection Condition Specified Condition
      L40-1 (B) - L40-20 (GND)*4 Power switch off 11 to 14 V
      L40-11 (ACC) - L40-20 (GND)*4 Power switch on (ACC) 11 to 14 V
      L42-2 (IG) - L40-20 (GND)*4 Power switch on (IG) 11 to 14 V
      L34-4 (B) - L34-7 (GND)*5 Power switch off 11 to 14 V
      L34-3 (ACC) - L34-7 (GND)*5 Power switch on (ACC) 11 to 14 V
      L42-2 (IG) - L34-7 (GND)*5 Power switch on (IG) 11 to 14 V
      TEXT IN ILLUSTRATION

      *1 Front view of wire harness connector
      (to Navigation Receiver Assembly)*4
      *2 Front view of wire harness connector
      (to Navigation Receiver Assembly)*5
      *3 Front view of wire harness connector
      (to Navigation Receiver Assembly)
      • *4: w/ "Bluetooth" Audio System
      • *5: w/o "Bluetooth" Audio System

    NG → REPAIR OR REPLACE HARNESS OR CONNECTOR 

    OK → See step   2 

  2. PROCEED TO NEXT SUSPECTED AREA SHOWN IN PROBLEM SYMPTOMS TABLE. Refer to  PROBLEM SYMPTOMS TABLE