LEMON Manuals: Even more car manuals for everyone: 1960-2025
Home >> Toyota >> 2010 >> Prius Base >> Repair and Diagnosis (Single Page) >> Accessories & Equipment >> Infotainment >> Navigation System (Diagnostic Codes & Circuit Tests) (Except PHV) >> Navigation System >> Circuit Test >> Sound Signal Circuit between Navigation Receiver Assembly and Stereo Component Amplifier >> Procedure
April 5, 2026: LEMON Manuals is launched! Read the announcement.

Sound Signal Circuit between Navigation Receiver Assembly and Stereo Component Amplifier: Procedure

  1. CHECK HARNESS AND CONNECTOR (NAVIGATION RECEIVER - STEREO COMPONENT AMPLIFIER) 
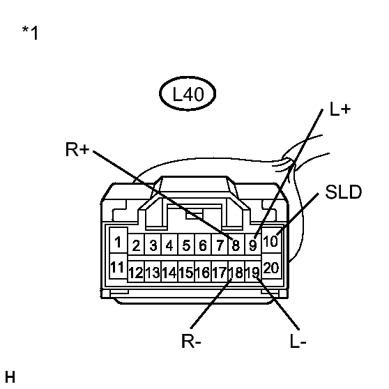
    1. Disconnect the L40 navigation receiver assembly connector.
      Fig 1: Identifying L40 Navigation Receiver Assembly Connector
      GTY215570Courtesy of © TOYOTA, LICENSE AGREEMENT TMS1002
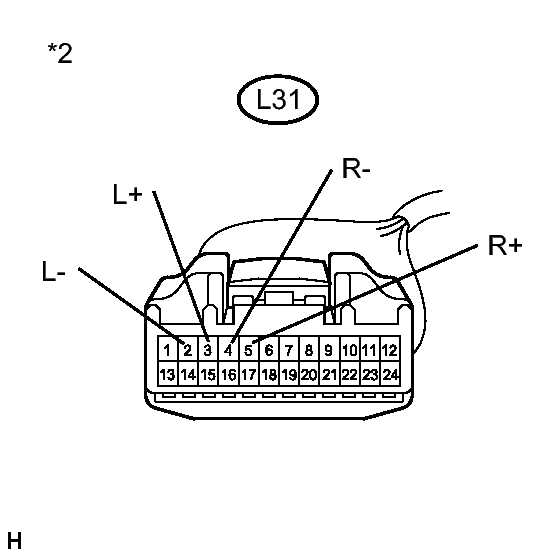
    2. Disconnect the L31 stereo component amplifier assembly connector.
      Fig 2: Identifying L31 Stereo Component Amplifier Assembly Connector
      GTY227900Courtesy of © TOYOTA, LICENSE AGREEMENT TMS1002
    3. Measure the resistance according to the value(s) in the table below.

      Standard Resistance

      Tester Connection Condition Specified Condition
      L40-8 (R+) - L31-5 (R+) Always Below 1 Ω
      L40-18 (R-) - L31-4 (R-) Always Below 1 Ω
      L40-9 (L+) - L31-3 (L+) Always Below 1 Ω
      L40-19 (L-) - L31-2 (L-) Always Below 1 Ω
      L40-10 (SLD) - Body ground Always 10 kΩ or higher
      L40-8 (R+) - Body ground Always 10 kΩ or higher
      L40-18 (R-) - Body ground Always 10 kΩ or higher
      L40-9 (L+) - Body ground Always 10 kΩ or higher
      L40-19 (L-) - Body ground Always 10 kΩ or higher
      TEXT IN ILLUSTRATION

      *1 Front view of wire harness connector
      (to Navigation Receiver Assembly)
      *2 Front view of wire harness connector
      (to Stereo Component Amplifier Assembly)

    NG → REPAIR OR REPLACE HARNESS OR CONNECTOR 

    OK → See step   2 

  2. PROCEED TO NEXT SUSPECTED AREA SHOWN IN PROBLEM SYMPTOMS TABLE. Refer to  PROBLEM SYMPTOMS TABLE