LEMON Manuals: Even more car manuals for everyone: 1960-2025
Home >> Toyota >> 2010 >> Prius Base >> Repair and Diagnosis (Single Page) >> Accessories & Equipment >> Infotainment >> Navigation System (Diagnostic Codes & Circuit Tests) (Except PHV) >> Navigation System >> Circuit Test >> Steering Pad Switch Circuit >> Procedure
April 5, 2026: LEMON Manuals is launched! Read the announcement.

Steering Pad Switch Circuit: Procedure

  1. INSPECT NAVIGATION RECEIVER ASSEMBLY 
    1. Disconnect the L41 navigation receiver assembly connector.
      Fig 1: Identifying L41 Navigation Receiver Assembly Connector
      GTY229593Courtesy of © TOYOTA, LICENSE AGREEMENT TMS1002
    2. Measure the resistance according to the value(s) in the table below.

      Standard Resistance

      Tester Connection Switch Condition Specified Condition
      L41-7 (SW1) - L41-6 (SWG) No switch pushed 95 to 105 kΩ
      L41-7 (SW1) - L41-6 (SWG) Seek+ switch pushed Below 2.5 Ω
      L41-7 (SW1) - L41-6 (SWG) Seek- switch pushed 323 to 335 Ω
      L41-7 (SW1) - L41-6 (SWG) Volume+ switch pushed 980 to 1020 Ω
      L41-7 (SW1) - L41-6 (SWG) Volume- switch pushed 3048 to 3172 Ω
      L41-8 (SW2) - L41-6 (SWG) No switch pushed 95 to 105 kΩ
      L41-8 (SW2) - L41-6 (SWG) MODE switch pushed Below 2.5 Ω
      L41-8 (SW2) - L41-6 (SWG) Voice switch pushed 3048 to 3172 Ω
      L41-8 (SW2) - L41-6 (SWG) On Hook switch pushed 323 to 335 Ω
      L41-8 (SW2) - L41-6 (SWG) Off Hook switch pushed 980 to 1020 Ω
      TEXT IN ILLUSTRATION

      *1 Front view of wire harness connector
      (to Navigation Receiver Assembly)

    NG → See step   3 

    OK → See step   2 

  2. PROCEED TO NEXT SUSPECTED AREA SHOWN IN PROBLEM SYMPTOMS TABLE. Refer to  PROBLEM SYMPTOMS TABLE 
  3. INSPECT SPIRAL WITH SENSOR CABLE SUB-ASSEMBLY 
    1. Disconnect the steering pad switch assembly and spiral with sensor cable sub-assembly connectors.
      Fig 2: Identifying Steering Pad Switch Assembly And Spiral With Sensor Cable Sub-Assembly Connectors
      GTY225190Courtesy of © TOYOTA, LICENSE AGREEMENT TMS1002
    2. Measure the resistance according to the value(s) in the table below.

      Standard Resistance

      Tester Connection Condition Specified Condition
      z9-8 (EAU) - L52-4 (EAU) Center Below 1 Ω
      2.5 rotations to the left
      2.5 rotations to the right
      z9-10 (AU1) - L52-6 (AU1) Center Below 1 Ω
      2.5 rotations to the left
      2.5 rotations to the right
      z9-9 (AU2) - L52-5 (AU2) Center Below 1 Ω
      2.5 rotations to the left
      2.5 rotations to the right
      NOTE:

      The spiral with sensor cable sub-assembly is an important part of the SRS airbag system. Incorrect removal or installation of the spiral with sensor cable sub-assembly may prevent the airbag from deploying. Refer to the service information shown in the brackets.

      HINT: 

      TEXT IN ILLUSTRATION

      *1 Component without harness connected
      (Spiral with Sensor Cable Sub-assembly)
      *2 Steering Pad Switch Assembly Side
      *3 Vehicle Side

    NG → See step   5 

    OK: Go to next step 

  4. INSPECT STEERING PAD SWITCH ASSEMBLY 
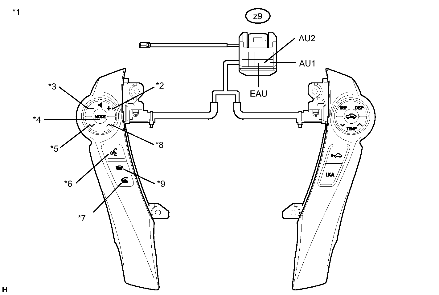
    1. Disconnect the z9 steering pad switch assembly connector.
      Fig 3: Identifying z9 Steering Pad Switch Assembly Connector
      GTY220221Courtesy of © TOYOTA, LICENSE AGREEMENT TMS1002
    2. Measure the resistance according to the value(s) in the table below.

      Standard Resistance

      Tester Connection Switch Condition Specified Condition
      z9-10 (AU1) - z9-8 (EAU) No switch pushed 95 to 105 kΩ
      z9-10 (AU1) - z9-8 (EAU) Seek+ switch pushed Below 2.5 Ω
      z9-10 (AU1) - z9-8 (EAU) Seek- switch pushed 323 to 335 Ω
      z9-10 (AU1) - z9-8 (EAU) Volume+ switch pushed 980 to 1020 Ω
      z9-10 (AU1) - z9-8 (EAU) Volume- switch pushed 3048 to 3172 Ω
      z9-9 (AU2) - z9-8 (EAU) No switch pushed 95 to 105 kΩ
      z9-9 (AU2) - z9-8 (EAU) MODE switch pushed Below 2.5 Ω
      z9-9 (AU2) - z9-8 (EAU) Voice switch pushed 3048 to 3172 Ω
      z9-9 (AU2) - z9-8 (EAU) On Hook switch pushed 323 to 335 Ω
      z9-9 (AU2) - z9-8 (EAU) Off Hook switch pushed 980 to 1020 Ω
      TEXT IN ILLUSTRATION

      *1 Component without harness connected
      (Steering Pad Switch Assembly)
      *2 Volume+
      *3 Volume- *4 MODE
      *5 Seek- *6 Voice Switch
      *7 Off Hook *8 Seek+
      *9 On Hook - -

    NG → REPLACE STEERING PAD SWITCH ASSEMBLY 

    OK → REPAIR OR REPLACE HARNESS OR CONNECTOR (NAVIGATION RECEIVER - SPIRAL WITH SENSOR CABLE) 

  5. REPLACE SPIRAL WITH SENSOR CABLE SUB-ASSEMBLY. Refer to  REMOVAL