LEMON Manuals: Even more car manuals for everyone: 1960-2025
Home >> Toyota >> 2010 >> Prius Base >> Repair and Diagnosis (Single Page) >> Accessories & Equipment >> Infotainment >> Navigation System (Diagnostic Codes & Circuit Tests) (Except PHV) >> Navigation System >> Circuit Test >> Vehicle Speed Signal Circuit between Stereo Component Amplifier and Combination Meter >> Procedure
April 5, 2026: LEMON Manuals is launched! Read the announcement.

Vehicle Speed Signal Circuit between Stereo Component Amplifier and Combination Meter: Procedure

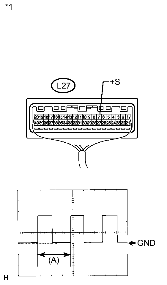
  1. INSPECT COMBINATION METER ASSEMBLY (NO. 3 METER CIRCUIT PLATE OUTPUT WAVEFORM) 
    1. Check the output waveform.
      Fig 1: Identifying L27 Connector
      GTY230295Courtesy of © TOYOTA, LICENSE AGREEMENT TMS1002
      1. Remove the combination meter assembly with the connector(s) still connected.
      2. Connect an oscilloscope to terminal L27-7 (+S) and body ground.
      3. Turn the power switch on (IG).
      4. Turn a wheel slowly.
      5. Check the signal waveform according to the condition(s) in the table below.
        Item Condition
        Measurement terminal L27-7 (+S) - Body ground
        Tool setting 5 V/DIV., 20 ms./DIV.
        Vehicle condition Wheel being rotated

        OK

        The waveform is similar to that shown in the illustration.

        HINT: 

        When the system is functioning normally, one wheel revolution generates 4 pulses. As the vehicle speed increases, the width indicated by (A) in the illustration narrows.

      TEXT IN ILLUSTRATION

      *1 Component with harness connected
      (Combination Meter Assembly)

    NG → See step   10 

    OK: Go to next step 

  2. CHECK HARNESS AND CONNECTOR (STEREO COMPONENT AMPLIFIER - COMBINATION METER) 
    1. Disconnect the L31 stereo component amplifier assembly connector.
      Fig 2: Identifying L31 Stereo Component Amplifier Assembly Connector
      GTY227902Courtesy of © TOYOTA, LICENSE AGREEMENT TMS1002
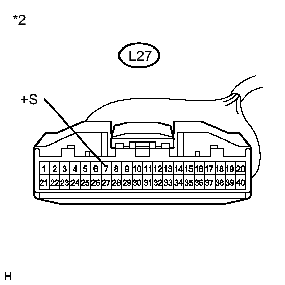
    2. Disconnect the L27 combination meter assembly connector.
      Fig 3: Identifying L27 Combination Meter Assembly Connector
      GTY236070Courtesy of © TOYOTA, LICENSE AGREEMENT TMS1002
    3. Measure the resistance according to the value(s) in the table below.

      Standard Resistance

      Tester Connection Condition Specified Condition
      L31-11 (SPD) - L27-7 (+S) Always Below 1 Ω
      TEXT IN ILLUSTRATION

      *1 Front view of wire harness connector
      (to Stereo Component Amplifier Assembly)
      *2 Front view of wire harness connector
      (to Combination Meter Assembly)

    NG → See step   4 

    OK → See step   3 

  3. PROCEED TO NEXT SUSPECTED AREA SHOWN IN PROBLEM SYMPTOMS TABLE. Refer to  PROBLEM SYMPTOMS TABLE 
  4. CHECK HARNESS AND CONNECTOR (STEREO COMPONENT AMPLIFIER - NO. 4 JUNCTION CONNECTOR) 
    1. Disconnect the L31 stereo component amplifier assembly connector.
      Fig 4: Identifying L31 Stereo Component Amplifier Assembly Connector
      GTY227902Courtesy of © TOYOTA, LICENSE AGREEMENT TMS1002
    2. Disconnect the 4A No. 4 junction block connector.
      Fig 5: Identifying 4A No. 4 Junction Block Connector
      GTY215675Courtesy of © TOYOTA, LICENSE AGREEMENT TMS1002
    3. Measure the resistance according to the value(s) in the table below.

      Standard Resistance

      Tester Connection Condition Specified Condition
      L31-11 (SPD) - 4A-69 Always Below 1 Ω
      TEXT IN ILLUSTRATION

      *1 Front view of wire harness connector
      (to Stereo Component Amplifier Assembly)
      *2 Front view of wire harness connector
      (to No. 4 Junction Block)

    NG → REPAIR OR REPLACE HARNESS OR CONNECTOR (STEREO COMPONENT AMPLIFIER - NO. 4 JUNCTION CONNECTOR) 

    OK: Go to next step 

  5. CHECK HARNESS AND CONNECTOR (NO. 4 JUNCTION CONNECTOR - NO. 3 JUNCTION CONNECTOR) 
    1. Disconnect the 4A No. 4 junction block connector.
      Fig 6: Identifying 4A No. 4 Junction Block Connector
      GTY232794Courtesy of © TOYOTA, LICENSE AGREEMENT TMS1002
    2. Disconnect the 3B No. 3 junction block connector.
      Fig 7: Identifying 3B No. 3 Junction Block Connector
      GTY217379Courtesy of © TOYOTA, LICENSE AGREEMENT TMS1002
    3. Measure the resistance according to the value(s) in the table below.

      Standard Resistance

      Tester Connection Condition Specified Condition
      4A-21 - 3B-85 Always Below 1 Ω
      TEXT IN ILLUSTRATION

      *1 Front view of wire harness connector
      (to No. 4 Junction Block)
      *2 Front view of wire harness connector
      (to No. 3 Junction Block)

    NG → REPAIR OR REPLACE HARNESS OR CONNECTOR (NO. 4 JUNCTION CONNECTOR - NO. 3 JUNCTION CONNECTOR) 

    OK: Go to next step 

  6. CHECK HARNESS AND CONNECTOR (NO. 3 JUNCTION CONNECTOR - COMBINATION METER ASSEMBLY) 
    1. Disconnect the 3A No. 3 junction block connector.
      Fig 8: Identifying 3A No. 3 Junction Block Connector
      GTY215331Courtesy of © TOYOTA, LICENSE AGREEMENT TMS1002
    2. Disconnect the L27 combination meter assembly connector.
      Fig 9: Identifying L27 Combination Meter Assembly Connector
      GTY236070Courtesy of © TOYOTA, LICENSE AGREEMENT TMS1002
    3. Measure the resistance according to the value(s) in the table below.

      Standard Resistance

      Tester Connection Condition Specified Condition
      3A-26 - L27-7 (+S) Always Below 1 Ω
      TEXT IN ILLUSTRATION

      *1 Front view of wire harness connector
      (to No. 3 Junction Block)
      *2 Front view of wire harness connector
      (to Combination Meter Assembly)

    NG → REPAIR OR REPLACE HARNESS OR CONNECTOR (NO. 3 JUNCTION CONNECTOR - COMBINATION METER ASSEMBLY) 

    OK: Go to next step 

  7. INSPECT NO. 4 JUNCTION BLOCK 
    1. Measure the resistance according to the value(s) in the table below.
      Fig 10: Identifying NO. 4 Junction Block
      GTY231858Courtesy of © TOYOTA, LICENSE AGREEMENT TMS1002

      Standard Resistance

      Tester Connection Condition Specified Condition
      4A-69 - 4A-21 Always Below 1 Ω
      TEXT IN ILLUSTRATION

      *1 No. 4 Junction Block

    NG → REPLACE NO. 4 JUNCTION BLOCK 

    OK: Go to next step 

  8. INSPECT NO. 3 JUNCTION BLOCK 
    1. Measure the resistance according to the value(s) in the table below.
      Fig 11: Identifying NO. 3 Junction Block
      GTY211733Courtesy of © TOYOTA, LICENSE AGREEMENT TMS1002

      Standard Resistance

      Tester Connection Condition Specified Condition
      3A-26 - 3B-85 Always Below 1 Ω
      TEXT IN ILLUSTRATION

      *1 No. 3 Junction Block

    NG → REPLACE NO. 3 JUNCTION BLOCK 

    OK → See step   9 

  9. REPLACE STEREO COMPONENT AMPLIFIER ASSEMBLY. Refer to  REMOVAL 
  10. GO TO METER / GAUGE SYSTEM. Refer to  Speed Signal Circuit