LEMON Manuals: Even more car manuals for everyone: 1960-2025
Home >> Toyota >> 2010 >> Prius Base >> Repair and Diagnosis >> External Pages >> Different car >> Section 20 (Engine Control System (Service Information)) >> Air Fuel Ratio Sensor >> Installation >> Installation
April 5, 2026: LEMON Manuals is launched! Read the announcement.

Air Fuel Ratio Sensor: Installation: Installation

WARNING: This page is about a different car, the 2010 Toyota FJ Cruiser. However, it is still accessible from the selected car via links, so may be relevant.
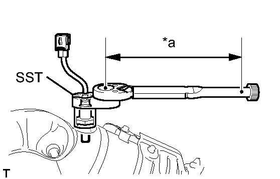
  1. INSTALL AIR FUEL RATIO SENSOR (for Bank 2 Sensor 1) 
    1. Using SST, tighten the air fuel ratio sensor.
      Fig 1: Identifying SST, Fulcrum Length & Air Fuel Ratio Sensor (For Bank 2 Sensor 1)
      GTY182191Courtesy of © TOYOTA, LICENSE AGREEMENT TMS1002
      TEXT IN ILLUSTRATION

      *a Fulcrum Length
      • SST: 09224-00010 

      without SST 

      Torque: 44 N*m (449 kgf*cm, 32 ft.*lbf) 

      with SST 

      Torque: 40 N*m (408 kgf*cm, 30 ft.*lbf) 

      HINT: 

      • The "with SST" torque value is effective when using SST with a fulcrum length of 30 mm (1.18 in.).
      • The "with SST" torque value is effective when using a torque wrench with a fulcrum length of 300 mm (11.81 in.). Refer toPRECAUTION .
      • This torque value is effective when SST is parallel to the torque wrench.
  2. INSTALL AIR FUEL RATIO SENSOR (for Bank 1 Sensor 1) 
    1. Using SST, tighten the air fuel ratio sensor.
      Fig 2: Identifying SST, Fulcrum Length & Air Fuel Ratio Sensor (For Bank 1 Sensor 1)
      GTY180834Courtesy of © TOYOTA, LICENSE AGREEMENT TMS1002
      TEXT IN ILLUSTRATION

      *a Fulcrum Length
      • SST: 09224-00010 

      without SST 

      Torque: 44 N*m (449 kgf*cm, 32 ft.*lbf) 

      with SST 

      Torque: 40 N*m (408 kgf*cm, 30 ft.*lbf) 

      HINT: 

      • The "with SST" torque value is effective when using SST with a fulcrum length of 30 mm (1.18 in.).
      • The "with SST" torque value is effective when using a torque wrench with a fulcrum length of 300 mm (11.81 in.). Refer toPRECAUTION .
      • This torque value is effective when SST is parallel to the torque wrench.
  3. INSTALL EXHAUST MANIFOLD SUB-ASSEMBLY 
    1. Install the exhaust manifold. Refer toINSTALLATION .