LEMON Manuals: Even more car manuals for everyone: 1960-2025
Home >> Toyota >> 2010 >> Prius PHV >> Repair and Diagnosis (Single Page) >> Accessories & Equipment >> Infotainment >> Navigation (Diagnostic Codes & Circuit Tests) (PHV) >> Navigation System >> Circuit Test >> Navigation Receiver Assembly Power Source Circuit >> Wiring Diagram
April 5, 2026: LEMON Manuals is launched! Read the announcement.

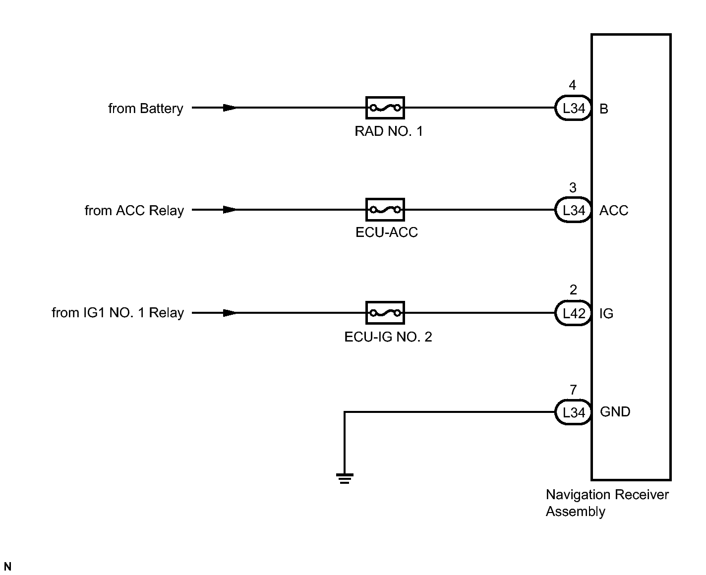
Navigation Receiver Assembly Power Source Circuit: Wiring Diagram

Fig 1: Navigation Receiver Assembly Power Source Circuit Wiring Diagram
GTY216453Courtesy of © TOYOTA, LICENSE AGREEMENT TMS1002