LEMON Manuals: Even more car manuals for everyone: 1960-2025
Home >> Toyota >> 2010 >> Prius PHV >> Repair and Diagnosis (Single Page) >> Accessories & Equipment >> Infotainment >> Navigation (Diagnostic Codes & Circuit Tests) (PHV) >> Navigation System >> Circuit Test >> Vehicle Speed Signal Circuit between Navigation Receiver Assembly and Combination Meter >> Inspection Procedure >> Procedure
April 5, 2026: LEMON Manuals is launched! Read the announcement.

Inspection Procedure: Procedure

  1. CHECK VEHICLE SENSOR (OPERATION CHECK) 
    1. Enter the "Vehicle Sensors" screen. Refer to Check Navigation Check in Operation Check. Refer to OPERATION CHECK .
    2. While driving the vehicle, compare the "Speed" indicator to the reading on the speedometer. Check if these readings are almost equal.
      Fig 1: Checking Vehicle Sensor (Operation Check)
      GTY228366Courtesy of © TOYOTA, LICENSE AGREEMENT TMS1002

      OK

      The readings are almost equal.

    NG → See step   2 

    OK → See step   9 

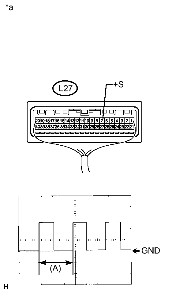
  2. INSPECT COMBINATION METER ASSEMBLY (NO. 3 METER CIRCUIT PLATE OUTPUT WAVEFORM) 
    1. Check the output waveform.
      Fig 2: Inspecting Combination Meter Assembly (No. 3 Meter Circuit Plate Output Waveform)
      GTY223207Courtesy of © TOYOTA, LICENSE AGREEMENT TMS1002
      1. Remove the combination meter assembly with the connector(s) still connected.
      2. Connect an oscilloscope to terminal L27-7 (+S) and body ground.
      3. Turn the power switch on (IG).
      4. Turn a wheel slowly.
      5. Check the signal waveform according to the condition(s) in the table below.
        Item Condition
        Measurement terminal L27-7 (+S) - Body ground
        Tool setting 5 V/DIV., 20 ms./DIV.
        Vehicle condition Wheel being rotated

        OK

        The waveform is similar to that shown in the illustration.

        HINT: 

        When the system is functioning normally, one wheel revolution generates 4 pulses. As the vehicle speed increases, the width indicated by (A) in the illustration narrows.

      TEXT IN ILLUSTRATION

      *a Component with harness connected
      (Combination Meter Assembly)

    NG → See step   10 

    OK: Go to next step 

  3. CHECK HARNESS AND CONNECTOR (NAVIGATION RECEIVER ASSEMBLY - COMBINATION METER ASSEMBLY) 
    1. Disconnect the L42 navigation receiver assembly connector.
    2. Disconnect the L27 combination meter assembly connector.
    3. Measure the resistance according to the value(s) in the table below.

      Standard Resistance

      Tester Connection Condition Specified Condition
      L42-3 (SPD) - L27-7 (+S) Always Below 1 Ω

    NG → See step   4 

    OK → See step   9 

  4. CHECK HARNESS AND CONNECTOR (NAVIGATION RECEIVER ASSEMBLY - NO. 4 JUNCTION BLOCK) 
    1. Disconnect the L42 navigation receiver assembly connector.
    2. Disconnect the 4A No. 4 junction block connector.
    3. Measure the resistance according to the value(s) in the table below.

      Standard Resistance

      Tester Connection Condition Specified Condition
      L42-3 (SPD) - 4A-68 Always Below 1 Ω

    NG → REPAIR OR REPLACE HARNESS OR CONNECTOR 

    OK: Go to next step 

  5. CHECK HARNESS AND CONNECTOR (NO. 4 JUNCTION BLOCK - NO. 3 JUNCTION BLOCK) 
    1. Disconnect the 4A No. 4 junction block connector.
    2. Disconnect the 3B No. 3 junction block connector.
    3. Measure the resistance according to the value(s) in the table below.

      Standard Resistance

      Tester Connection Condition Specified Condition
      4A-21 - 3B-85 Always Below 1 Ω

    NG → REPAIR OR REPLACE HARNESS OR CONNECTOR 

    OK: Go to next step 

  6. CHECK HARNESS AND CONNECTOR (NO. 3 JUNCTION BLOCK - COMBINATION METER ASSEMBLY) 
    1. Disconnect the 3A No. 3 junction block connector.
    2. Disconnect the L27 combination meter assembly connector.
    3. Measure the resistance according to the value(s) in the table below.

      Standard Resistance

      Tester Connection Condition Specified Condition
      3A-26 - L27-7 (+S) Always Below 1 Ω

    NG → REPAIR OR REPLACE HARNESS OR CONNECTOR 

    OK: Go to next step 

  7. INSPECT NO. 4 JUNCTION BLOCK 
    1. Measure the resistance according to the value(s) in the table below.
      Fig 3: Inspecting No. 4 Junction Block
      GTY221721Courtesy of © TOYOTA, LICENSE AGREEMENT TMS1002

      Standard Resistance

      Tester Connection Condition Specified Condition
      4A-68 - 4A-21 Always Below 1 Ω
      TEXT IN ILLUSTRATION

      *a Component without harness connected
      (No. 4 Junction Block)

    NG → REPLACE NO. 4 JUNCTION BLOCK 

    OK: Go to next step 

  8. INSPECT NO. 3 JUNCTION BLOCK 
    1. Measure the resistance according to the value(s) in the table below.
      Fig 4: Inspecting No. 3 Junction Block
      GTY221722Courtesy of © TOYOTA, LICENSE AGREEMENT TMS1002

      Standard Resistance

      Tester Connection Condition Specified Condition
      3A-26 - 3B-85 Always Below 1 Ω
      TEXT IN ILLUSTRATION

      *a Component without harness connected
      (No. 3 Junction Block)

    NG → REPLACE NO. 3 JUNCTION BLOCK 

    OK → See step   9 

  9. REPLACE NAVIGATION RECEIVER ASSEMBLY. Refer to  REMOVAL 
  10. GO TO METER / GAUGE SYSTEM. Refer to  SPEED SIGNAL CIRCUIT