LEMON Manuals: Even more car manuals for everyone: 1960-2025
Home >> Toyota >> 2010 >> Prius PHV >> Repair and Diagnosis (Single Page) >> Body & Frame >> Door Locks >> Smart Key System (Keyless Entry) (Diagnostic Codes & Circuit Tests) (PHV) >> SMART KEY SYSTEM (For Entry Function) >> Circuit Test >> Room Oscillator Does Not Recognize Key >> Wiring Diagram
April 5, 2026: LEMON Manuals is launched! Read the announcement.

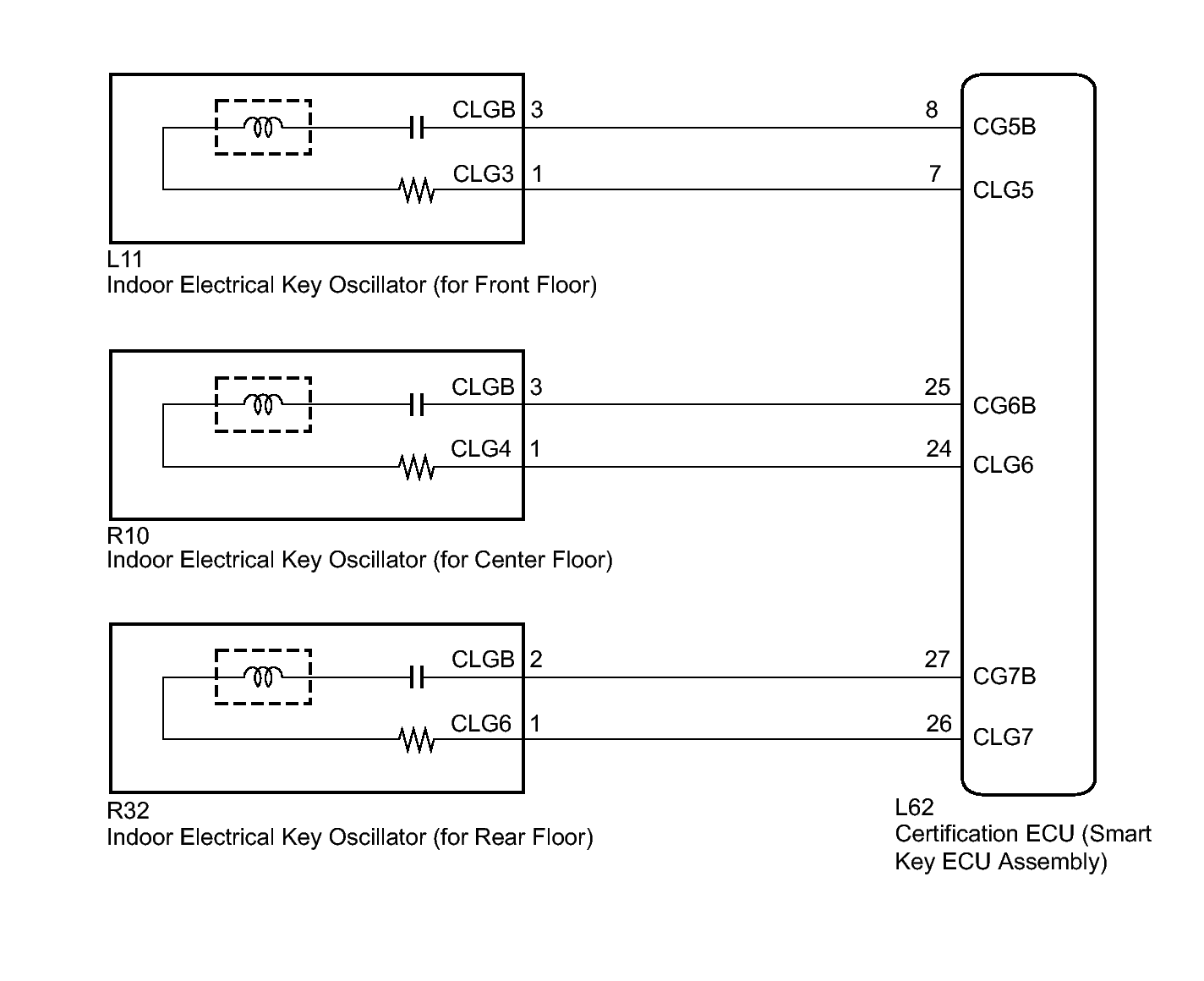
Room Oscillator Does Not Recognize Key: Wiring Diagram

Fig 1: Room Oscillator Wiring Diagram
GTY224689Courtesy of © TOYOTA, LICENSE AGREEMENT TMS1002