LEMON Manuals: Even more car manuals for everyone: 1960-2025
Home >> Toyota >> 2010 >> RAV4 Base, 2.5 F, AWD >> Repair and Diagnosis >> Engine Performance >> Engine Control Systems >> Engine Control System (2AR-FE) (Service Information) >> Ignition Relay No. 1 >> On-Vehicle Inspection >> On-Vehicle Inspection
April 5, 2026: LEMON Manuals is launched! Read the announcement.

On-Vehicle Inspection

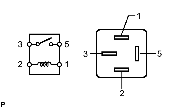
  1. INSPECT IG1 RELAY 
    1. Remove the IG1 relay from the instrument panel junction block.
    2. Measure the resistance according to the value(s) in the table below.
      Fig 1: IG1 Relay Circuit Diagram
      GTY219184Courtesy of © TOYOTA, LICENSE AGREEMENT TMS1002

      Standard Resistance

      Tester Connection Condition Specified Condition
      3 - 5 Battery voltage is not applied to terminals 1 and 2 10 kΩ or higher
      3 - 5 Battery voltage is applied to terminals 1 and 2 Below 1 Ω

      If the result is not as specified, replace the IG1 relay.

    3. Install the IG1 relay to the instrument panel junction block.