LEMON Manuals: Even more car manuals for everyone: 1960-2025
Home >> Toyota >> 2010 >> Tundra Base, 5.7 W >> Repair and Diagnosis >> Body & Frame >> Windows >> Power Window Control System (W/Jam Protection Function) (Diagnostic Codes & Symptom Tests) >> POWER WINDOW CONTROL SYSTEM (w/ Jam Protection Function) >> DTC B2312: Power Window Switch Malfunction >> Wiring Diagram
April 5, 2026: LEMON Manuals is launched! Read the announcement.

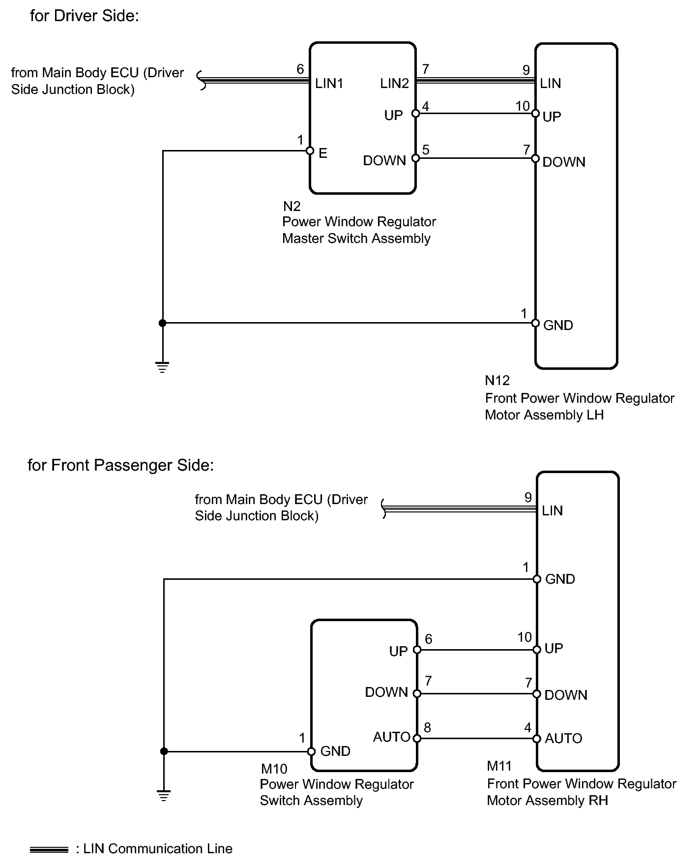
DTC B2312: Power Window Switch Malfunction: Wiring Diagram

Fig 1: Identifying Power Window Switch (Driver & Front Passenger) Wiring Diagram
GTY187610Courtesy of © TOYOTA, LICENSE AGREEMENT TMS1002