LEMON Manuals: Even more car manuals for everyone: 1960-2025
Home >> Toyota >> 2011 >> Camry Base, Standard >> Repair and Diagnosis (Single Page) >> Accessories & Equipment >> Infotainment >> Navigation System (Diagnostic Codes & Circuit Tests) (Except Hybrid) >> Navigation System >> Navigation Receiver Assembly Power Source Circuit >> Procedure
April 5, 2026: LEMON Manuals is launched! Read the announcement.

Navigation Receiver Assembly Power Source Circuit: Procedure

  1. INSPECT NAVIGATION RECEIVER ASSEMBLY 
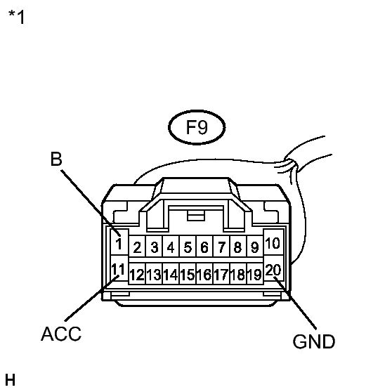
    1. Disconnect the navigation receiver assembly connector (for 8 Speakers).
      Fig 1: View Of Wire Harness Connector To Navigation Receiver Assembly For 8 Speakers
      GTY171585Courtesy of © TOYOTA, LICENSE AGREEMENT TMS1002
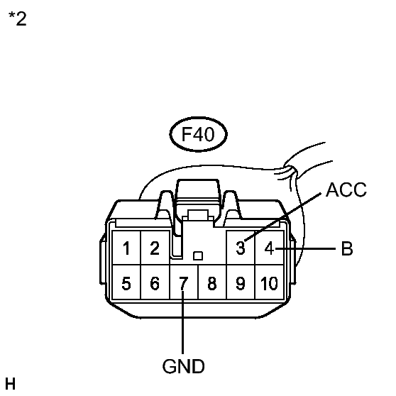
    2. Disconnect the navigation receiver assembly connector (for 6 Speakers).
      Fig 2: View Of Wire Harness Connector To Navigation Receiver Assembly For 6 Speakers
      GTY168708Courtesy of © TOYOTA, LICENSE AGREEMENT TMS1002
    3. Disconnect the navigation receiver assembly connector.
      Fig 3: View Of Wire Harness Connector To Navigation Receiver Assembly
      GTY188997Courtesy of © TOYOTA, LICENSE AGREEMENT TMS1002
    4. Measure the resistance according to the value(s) in the table below.

      Standard Resistance

      Tester Connection Condition Specified Condition
      F9-20 (GND) - Body ground*4 Always Below 1 Ω
      F40-7 (GND) - Body ground*5 Always Below 1 Ω
    5. Measure the voltage according to the value(s) in the table below.

      Standard Voltage

      Tester Connection Condition Specified Condition
      F9-1 (B) - F9-20 (GND)*4 Always 11 to 14 V
      F9-11 (ACC) - F9-20 (GND)*4 Ignition switch ACC 11 to 14 V
      F40-4 (B) - F40-7 (GND)*5 Always 11 to 14 V
      F40-3 (ACC) - F40-7 (GND)*5 Ignition switch ACC 11 to 14 V
      F13-2 (IG) - F9-20 (GND)*4 Ignition switch ON 11 to 14 V
      F13-2 (IG) - F40-7 (GND)*5 Ignition switch ON 11 to 14 V
      TEXT IN ILLUSTRATION

      *1 Front view of wire harness connector
      (to Navigation Receiver Assembly*4)
      *2 Front view of wire harness connector
      (to Navigation Receiver Assembly*5)
      *3 Front view of wire harness connector
      (to Navigation Receiver Assembly)
      • *4: for 8 Speakers
      • *5: for 6 Speakers

    NG → REPAIR OR REPLACE HARNESS OR CONNECTOR 

    OK → See step   2 

  2. PROCEED TO NEXT SUSPECTED AREA SHOWN IN PROBLEM SYMPTOMS TABLE. Refer to  PROBLEM SYMPTOMS TABLE