LEMON Manuals: Even more car manuals for everyone: 1960-2025
Home >> Toyota >> 2011 >> Camry Base, Standard >> Repair and Diagnosis (Single Page) >> Accessories & Equipment >> Infotainment >> Navigation System (Diagnostic Codes & Circuit Tests) (Except Hybrid) >> Navigation System >> Sound Signal Circuit between Navigation Receiver Assembly and Stereo Component Amplifier >> Procedure
April 5, 2026: LEMON Manuals is launched! Read the announcement.

Sound Signal Circuit between Navigation Receiver Assembly and Stereo Component Amplifier: Procedure

  1. CHECK HARNESS AND CONNECTOR (NAVIGATION RECEIVER - STEREO COMPONENT AMPLIFIER) 
    1. Disconnect the navigation receiver assembly connector.
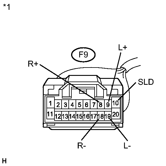
      Fig 1: Identifying Navigation Receiver Assembly Connector
      GTY171587Courtesy of © TOYOTA, LICENSE AGREEMENT TMS1002
    2. Disconnect the stereo component amplifier connector.
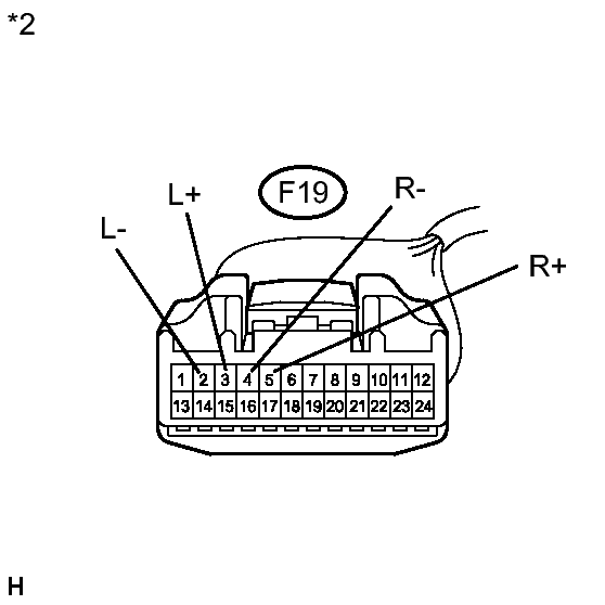
      Fig 2: View Of Wire Harness Connector To Stereo Component Assembly
      GTY190192Courtesy of © TOYOTA, LICENSE AGREEMENT TMS1002
    3. Measure the resistance according to the value(s) in the table below.

      Standard Resistance

      Tester Connection Condition Specified Condition
      F9-8 (R+) - F19-5 (R+) Always Below 1 Ω
      F9-18 (R-) - F19-4 (R-) Always Below 1 Ω
      F9-9 (L+) - F19-3 (L+) Always Below 1 Ω
      F9-19 (L-) - F19-2 (L-) Always Below 1 Ω
      F9-8 (R+) - Body ground Always 10 kΩ or higher
      F9-18 (R-) - Body ground Always 10 kΩ or higher
      F9-9 (L+) - Body ground Always 10 kΩ or higher
      F9-19 (L-) - Body ground Always 10 kΩ or higher
      F9-10 (SLD) - Body ground Always 10 kΩ or higher
      TEXT IN ILLUSTRATION

      *1 Front view of wire harness connector
      (to Navigation Receiver Assembly)
      *2 Front view of wire harness connector
      (to Stereo Component Assembly)

    NG → REPAIR OR REPLACE HARNESS OR CONNECTOR 

    OK → See step   2 

  2. PROCEED TO NEXT SUSPECTED AREA SHOWN IN PROBLEM SYMPTOMS TABLE. Refer to  PROBLEM SYMPTOMS TABLE