LEMON Manuals: Even more car manuals for everyone: 1960-2025
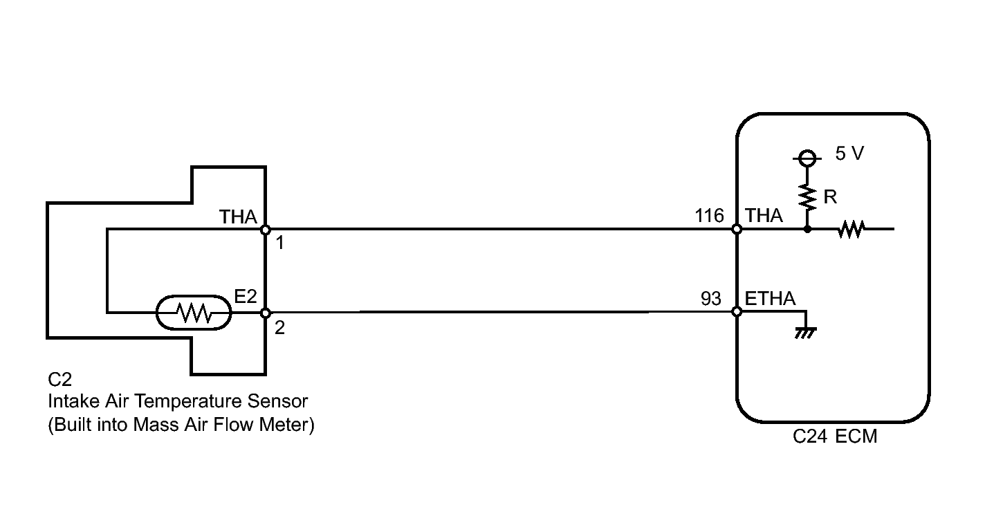
Home >> Toyota >> 2011 >> Camry Base, Standard >> Repair and Diagnosis (Single Page) >> Engine Performance >> System >> Engine Control System (2AR-FE) (Diagnostic Codes (P0010-P0453)) (Except Hybrid) >> SFI System >> DTC P0112: Intake Air Temperature Circuit Low Input; DTC P0113: Intake Air Temperature Circuit High Input >> Wiring Diagram
April 5, 2026: LEMON Manuals is launched! Read the announcement.

DTC P0112: Intake Air Temperature Circuit Low Input; DTC P0113: Intake Air Temperature Circuit High Input: Wiring Diagram

Fig 1: Intake Air Temperature Circuit Wiring Diagram
GTY167606Courtesy of © TOYOTA, LICENSE AGREEMENT TMS1002