LEMON Manuals: Even more car manuals for everyone: 1960-2025
Home >> Toyota >> 2011 >> Land Cruiser >> Repair and Diagnosis (Single Page) >> Accessories & Equipment >> Entertainment Systems >> Audio / Video / Visual System (W/Navigation System) (Diagnostic Codes & Symptom Tests) >> AUDIO AND VISUAL SYSTEM (w/ Navigation System) >> Radio Receiver Power Source Circuit >> Procedure
April 5, 2026: LEMON Manuals is launched! Read the announcement.

Radio Receiver Power Source Circuit: Procedure

  1. CHECK HARNESS AND CONNECTOR (RADIO RECEIVER ASSEMBLY - BATTERY, BODY GROUND) 
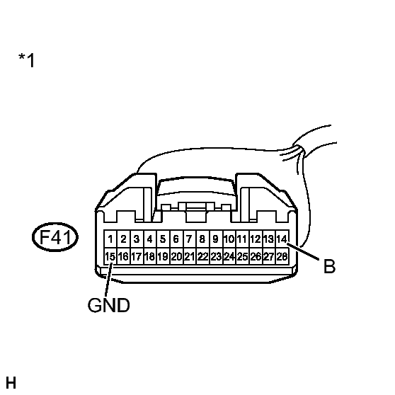
    1. Disconnect the F41 radio receiver assembly connector.
      Fig 1: Identifying F41 Radio Receiver Connector
      GTY231771Courtesy of © TOYOTA, LICENSE AGREEMENT TMS1002
    2. Measure the resistance according to the value(s) in the table below.

      Standard Resistance

      Tester Connection Condition Specified Condition
      F41-15 (GND) - Body ground Always Below 1 Ω
    3. Measure the voltage according to the value(s) in the table below.

      Standard Voltage

      Tester Connection Condition Specified Condition
      F41-14 (B) - F41-15 (GND) Always 11 to 14 V
      TEXT IN ILLUSTRATION

      *1 Front view of wire harness connector
      (to Radio Receiver Assembly)

    NG → REPAIR OR REPLACE HARNESS OR CONNECTOR 

    OK → See step   2 

  2. PROCEED TO NEXT SUSPECTED AREA SHOWN IN PROBLEM SYMPTOMS TABLE. Refer to  PROBLEM SYMPTOMS TABLE