LEMON Manuals: Even more car manuals for everyone: 1960-2025
Home >> Toyota >> 2011 >> Matrix Base, Standard >> Repair and Diagnosis (Single Page) >> Engine Performance >> System >> Engine Control System (2ZR-FE) (Diagnostic Codes (P1604 - P2A00) & Circuit Tests) >> SFI System >> EVAP System >> Procedure
April 5, 2026: LEMON Manuals is launched! Read the announcement.

EVAP System: Procedure

  1. CONFIRM DTC 
    1. Turn the ignition switch off and wait for 10 seconds.
    2. Turn the ignition switch to ON.
    3. Turn the ignition switch off and wait for 10 seconds.
    4. Connect the Techstream to the DLC3.
    5. Turn the ignition switch to ON.
    6. Turn the Techstream on.
    7. Enter the following menus: Powertrain / Engine and ECT / Trouble Codes.
    8. Confirm DTCs and freeze frame data.

      If any EVAP system DTCs are set, the malfunctioning area can be determined using the table below.

      Fig 1: DTC And Malfunctioning Area Chart
      GTY230108Courtesy of © TOYOTA, LICENSE AGREEMENT TMS1002

    NEXT: Go to next step 

  2. PERFORM EVAPORATIVE SYSTEM CHECK (AUTOMATIC MODE) 
    NOTE:
    • The Evaporative System Check (Automatic Mode) consists of five steps performed automatically by the Techstream. It takes a maximum of approximately 18 minutes.
    • Do not perform the Evaporative System Check when the fuel tank is more than 90% full because the cut-off valve may be closed. If the cut-off valve is closed, the fuel tank leak check is not possible.
    • Do not run the engine during this operation.
    • When the temperature of the fuel is 35°C (95°F) or more, a large amount of vapor forms and any check results become inaccurate. When performing the Evaporative System Check, keep the temperature below 35°C (95°F).
    1. Connect the Techstream to the DLC3.
    2. Turn the ignition switch to ON and Techstream on.
    3. Clear DTCs. Refer to DTC CHECK / CLEAR .
    4. Enter the following menus: Powertrain / Engine and ECT / Utility / Evaporative System Check / Automatic Mode.
    5. After the Evaporative System Check is completed, check for pending DTCs by selecting the following menu items: Powertrain / Engine and ECT / Trouble Codes.

      HINT: 

      If no pending DTCs are displayed, perform the CONFIRMATION DRIVING PATTERN. After this confirmation, check for pending DTCs. If no DTCs are displayed, the EVAP system is normal.

    NEXT: Go to next step 

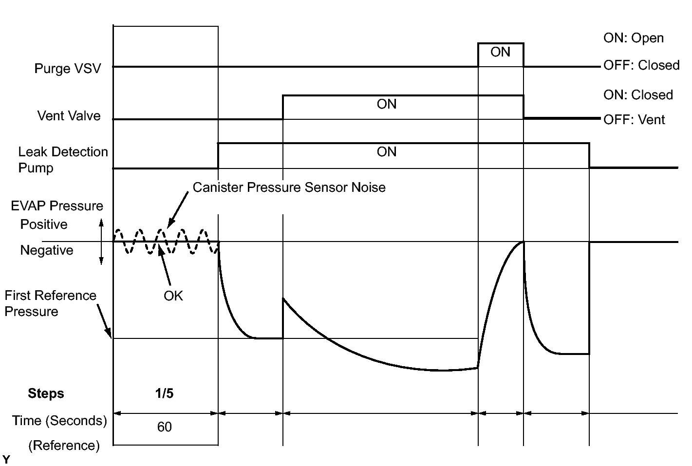
  3. PERFORM EVAPORATIVE SYSTEM CHECK (MANUAL MODE) 
    Fig 2: EVAP System Chart (Manual Mode)
    GTY219623Courtesy of © TOYOTA, LICENSE AGREEMENT TMS1002
    NOTE:
    • In the Evaporative System Check (Manual Mode), perform the series of 5 Evaporative System Check steps manually using the Techstream.
    • Do not perform the Evaporative System Check when the fuel tank is more than 90% full because the cut-off valve may be closed. If the cut-off valve is closed, the fuel tank leak check is not possible.
    • Do not run the engine during this operation.
    • When the temperature of the fuel is 35°C (95°F) or more, a large amount of vapor forms and any check results become inaccurate. When performing the Evaporative System Check, keep the temperature below 35°C (95°F).
    1. Connect the Techstream to the DLC3.
    2. Turn the ignition switch to ON and Techstream on.
    3. Clear DTCs. Refer to DTC CHECK / CLEAR .
    4. Enter the following menus: Powertrain / Engine and ECT / Utility / Evaporative System Check / Manual Mode.

    NEXT: Go to next step 

  4. PERFORM EVAPORATIVE SYSTEM CHECK (STEP 1/5) 
    Fig 3: EVAP System Chart (Step 1/5)
    GTY169515Courtesy of © TOYOTA, LICENSE AGREEMENT TMS1002
    1. Check the EVAP pressure in step 1/5.

      Result

      DTC* Result Suspected Trouble Area Proceed to
      - Virtually no variation in EVAP pressure Not yet determined A
      P0451 EVAP pressure fluctuates by +/-0.3 kPa-g (+/-2.25 mmHg-g) or more Canister pressure sensor noise B

      *: These DTCs are already present in the ECM when the vehicle arrives and are confirmed in the "Confirm DTC" procedures above.

    B → See step   29 

    A: Go to next step 

  5. PERFORM EVAPORATIVE SYSTEM CHECK (STEP 1/5 TO 2/5) 
    Fig 4: EVAP System Chart (Step 1/5 To 2/5)
    GTY184644Courtesy of © TOYOTA, LICENSE AGREEMENT TMS1002
    1. Check the EVAP pressure in steps 1/5 and 2/5.

      Result

      DTC* Result Suspected Trouble Area Proceed to
      - Virtually no variation in EVAP pressure during step 1/5. Then decreases to reference pressure Not yet determined A
      P2402 Small difference between EVAP pressures during steps 1/5 and 2/5 Leak detection pump stuck ON B

      *: These DTCs are already present in the ECM when the vehicle arrives and are confirmed in the "Confirm DTC" procedures above.

      HINT: 

      The first reference pressure is the value determined in step 2/5.

    B → See step   22 

    A: Go to next step 

  6. PERFORM EVAPORATIVE SYSTEM CHECK (STEP 2/5) 
    Fig 5: EVAP System Chart (Step 2/5)
    GTY180224Courtesy of © TOYOTA, LICENSE AGREEMENT TMS1002

    HINT: 

    Make a note of the pressures checked in steps (a) and (b) below.

    • (a) Check the EVAP pressure 4 seconds after the leak detection pump is activated*.

      *: The leak detection pump begins to operate as step 1/5 finishes and step 2/5 starts.

    • (b) Check the EVAP pressure again when it has stabilized. This pressure is the reference pressure.

      Result

      DTC* Result Suspected Trouble Area Proceed to
      - EVAP pressure in step (b) between -4.85 kPa-g and -1.057 kPa-g (-36.4 mmHg-g and -7.93 mmHg-g) Not yet determined A
      P043F and P2401 EVAP pressure in step (b) -1.057 kPa-g (-7.93 mmHg-g) or more
      • Reference orifice high-flow
      • Leak detection pump stuck OFF
      B
      P043E EVAP pressure in step (b) below -4.85 kPa-g (-36.4 mmHg-g) Reference orifice clogged C
      P2419 EVAP pressure in step (a) more than -1.057 kPa-g (-7.93 mmHg-g) Vent valve stuck closed D

      *: These DTCs are already present in the ECM when the vehicle arrives and are confirmed in the "Confirm DTC" procedures above.

    B → See step   11 

    C → See step   29 

    D → See step   20 

    A: Go to next step 

  7. PERFORM EVAPORATIVE SYSTEM CHECK (STEP 2/5 TO 3/5) 
    Fig 6: EVAP System Chart (Step 2/5 To 3/5)
    GTY191771Courtesy of © TOYOTA, LICENSE AGREEMENT TMS1002
    1. Check the EVAP pressure increase in step 3/5.

      Result

      DTC* Result Suspected Trouble Area Proceed to
      - EVAP pressure increases by 0.3 kPa-g (2.25 mmHg-g) or more within 10 seconds of proceeding from step 2/5 to step 3/5 Not yet determined A
      P2420 No variation in EVAP pressure despite proceeding from step 2/5 to step 3/5 Vent valve stuck open (vent) B
      P0451 No variation in EVAP pressure during steps 1/5 through 3/5 Canister pressure sensor output value stuck C

      *: These DTCs are already present in the ECM when the vehicle arrives and are confirmed in the "Confirm DTC" procedures above.

    B → See step   19 

    C → See step   29 

    A: Go to next step 

  8. PERFORM EVAPORATIVE SYSTEM CHECK (STEP 3/5) 
    Fig 7: EVAP System Chart (Step 3/5)
    GTY177495Courtesy of © TOYOTA, LICENSE AGREEMENT TMS1002
    1. Wait until the EVAP pressure change is less than 0.1 kPa-g (0.75 mmHg-g) for 30 seconds.
    2. Measure the EVAP pressure and record it.

      HINT: 

      A few minutes are required for the EVAP pressure to become saturated. When there is little fuel in the fuel tank, it takes up to 15 minutes.

    NEXT: Go to next step 

  9. PERFORM EVAPORATIVE SYSTEM CHECK (STEP 4/5) 
    Fig 8: EVAP System Chart (Step 4/5)
    GTY190003Courtesy of © TOYOTA, LICENSE AGREEMENT TMS1002
    1. Check the EVAP pressure in step 4/5.

      Result

      DTC* Result Suspected Trouble Area Proceed to
      - EVAP pressure increases by 0.3 kPa-g (2.25 mmHg-g) or more within 10 seconds of proceeding from step 3/5 to step 4/5 Not yet determined A
      P0441 EVAP pressure increases by 0.3 kPa-g (2.25 mmHg-g) or more within 10 seconds of proceeding from step 3/5 to step 4/5 Problems in EVAP hose between purge VSV and intake manifold B
      P0441 Variation in EVAP pressure less than 0.3 kPa-g (2.25 mmHg-g) for 10 seconds, after proceeding from step 3/5 to step 4/5 Purge VSV stuck closed C

      *: These DTCs are already present in the ECM when the vehicle arrives and are confirmed in the "Confirm DTC" procedures above.

    B → See step   15 

    C → See step   12 

    A: Go to next step 

  10. PERFORM EVAPORATIVE SYSTEM CHECK (STEP 5/5) 
    Fig 9: EVAP System Chart (Step 5/5)
    GTY175095Courtesy of © TOYOTA, LICENSE AGREEMENT TMS1002
    1. Check the EVAP pressure in step 5/5.
    2. Compare the EVAP pressure in step 3/5 and the second reference pressure (step 5/5).

      Result

      DTC* Result Suspected Trouble Area Proceed to
      - EVAP pressure (step 3/5) lower than second reference pressure (step 5/5) Not yet determined (no leak from EVAP system) A
      P0451 and P0455 EVAP pressure (step 3/5) higher than [second reference pressure (step 5/5) x 0.2]
      • EVAP gross leak
      • Purge VSV stuck open
      B
      P0456 EVAP pressure (step 3/5) higher than second reference pressure (step 5/5) EVAP small leak B

      *: These DTCs are already present in the ECM when the vehicle arrives and are confirmed in the "Confirm DTC" procedures above.

    A → See step   35 

    B → See step   12 

  11. PERFORM EVAPORATIVE SYSTEM CHECK (STEP 3/5) 
    Fig 10: EVAP System Chart (Step 3/5)
    GTY191776Courtesy of © TOYOTA, LICENSE AGREEMENT TMS1002
    1. Check the EVAP pressure in step 3/5.

      Result

      DTC* Result Suspected Trouble Area Proceed to
      P043F EVAP pressure less than [reference pressure] measured at 2/5 Reference orifice high-flow A
      P2401 EVAP pressure almost same as [reference pressure] measured at 2/5 Leak detection pump stuck OFF B

      *: These DTCs are already present in the ECM when the vehicle arrives and are confirmed in the "Confirm DTC" procedures above.

      HINT: 

      The first reference pressure is the value determined in step 2/5.

    A → See step   29 

    B → See step   22 

  12. PERFORM ACTIVE TEST USING TECHSTREAM (PURGE VSV) 
    1. Enter the following menus: Powertrain / Engine and ECT / Active Test / Activate the VSV for EVAP Control.
      Fig 11: Performing Active Test Using Techstream (Purge VSV)
      GTY184222Courtesy of © TOYOTA, LICENSE AGREEMENT TMS1002
    2. Disconnect the hose (connected to the canister) from the purge VSV.
    3. Start the engine.
    4. Using the Techstream, turn off the purge VSV (Activate the VSV for EVAP Control: OFF).
    5. Use your finger to confirm that the purge VSV has no suction.
    6. Using the Techstream, turn on the purge VSV (Activate the VSV for EVAP Control: ON).
    7. Use your finger to confirm that the purge VSV has suction.

      Result

      Result Suspected Trouble Area Proceed to
      No suction when purge VSV turned OFF, and suction applied when turned ON Purge VSV is normal A
      Suction applied when purge VSV turned OFF Purge VSV stuck open B
      No suction when purge VSV turned ON
      • Purge VSV stuck closed
      • Problems with EVAP hose between purge VSV and intake manifold
      C
    8. Reconnect the hose.

    B → See step   14 

    C → See step   15 

    A: Go to next step 

  13. CHECK FUEL CAP ASSEMBLY 
    1. Check that the fuel cap is correctly installed and confirm that the fuel cap meets OEM specifications.
    2. Tighten the fuel cap firmly (only one click sound could be heard).

      HINT: 

      If an EVAP tester is available, check the fuel cap using the tester.

      1. Remove the fuel cap and install it onto a fuel cap adapter.
      2. Connect an EVAP tester pump hose to the adapter, and pressurize the cap to 3.2 to 3.7 kPa-g (24 to 28 mmHg-g) using an EVAP tester pump.
      3. Seal the adapter and wait for 2 minutes.
      4. Check the pressure. If the pressure is 2 kPa-a (15 mmHg-g) or more, the fuel cap is normal.

      Result

      Result Suspected Trouble Area Proceed to
      Fuel cap correctly installed - A
      Fuel cap loose
      • Fuel cap improperly installed
      • Defective fuel cap
      • Fuel cap does not meet OEM specifications
      B
      Defective fuel cap - B
      No fuel cap - C

    A → See step   28 

    B → See step   26 

    C → See step   27 

  14. INSPECT PURGE VSV 
    1. Turn the ignition switch off.
      Fig 12: Disconnecting Hose From Purge VSV
      GTY175454Courtesy of © TOYOTA, LICENSE AGREEMENT TMS1002
    2. Disconnect the purge VSV connector.
    3. Disconnect the hose (connected to the canister) from the purge VSV.
    4. Start the engine.
    5. Use your finger to confirm that the purge VSV has no suction.

      Result

      Result Suspected Trouble Area Proceed to
      No suction ECM A
      Suction applied Purge VSV B
    6. Reconnect the purge VSV connector.
    7. Reconnect the hose.

    A → See step   34 

    B → See step   30 

  15. CHECK EVAP HOSE (PURGE VSV - INTAKE MANIFOLD) 
    1. Disconnect the hose (connected to the intake manifold) from the purge VSV.
      Fig 13: Checking Evap Hose (Purge VSV - Intake Manifold)
      GTY181207Courtesy of © TOYOTA, LICENSE AGREEMENT TMS1002
    2. Start the engine.
    3. Use your finger to confirm that the hose has suction.

      Result

      Result Suspected Trouble Area Proceed to
      Suction applied EVAP hose between purge VSV and intake manifold normal A
      No suction
      • Intake manifold port
      • EVAP hose between purge VSV and intake manifold
      B
    4. Reconnect the hose.

    B → See step   25 

    A: Go to next step 

  16. INSPECT PURGE VSV 
    1. Remove the purge VSV.
      Fig 14: Inspecting Purge VSV
      GTY180853Courtesy of © TOYOTA, LICENSE AGREEMENT TMS1002
    2. Apply battery voltage across the terminals of the purge VSV.
    3. Confirm that air flows from port A to port B.

      Result

      Result Condition Suspected Trouble Area Proceed to
      Air flows Apply battery voltage to purge VSV terminals - A
      No air flow Apply battery voltage to purge VSV terminals Purge VSV B
    4. Reinstall the purge VSV.

    B → See step   30 

    A: Go to next step 

  17. CHECK HARNESS AND CONNECTOR (POWER SOURCE OF PURGE VSV) 
    1. Disconnect the purge VSV connector.
      Fig 15: Identifying Purge VSV Connector Terminal
      GTY292517Courtesy of © TOYOTA, LICENSE AGREEMENT TMS1002
    2. Turn the ignition switch to ON.
    3. Measure the voltage according to the value(s) in the table below.

      Result

      Tester Connection Switch Condition Specified Condition Suspected Trouble Area Proceed to
      B18-2 - Body ground Ignition switch ON 11 to 14 V Normal A
      Other than result above Wire harness or connectors between purge VSV and battery B
    4. Reconnect the purge VSV connector.

    B → See step   31 

    A: Go to next step 

  18. CHECK HARNESS AND CONNECTOR (PURGE VSV - ECM) 
    1. Disconnect the ECM connector.
    2. Disconnect the purge VSV connector.
    3. Measure the resistance according to the value(s) in the table below.

      Standard Resistance (Check for Open)

      Tester Connection Condition Specified Condition
      B29-62 (PRG) - B18-1 Always Below 1 Ω

      Standard Resistance (Check for Short)

      Tester Connection Condition Specified Condition
      B29-62 (PRG) or B18-1 - Body ground Always 10 kΩ or higher
    4. Reconnect the ECM connector.
    5. Reconnect the purge VSV connector.

    OK → See step   34 

    NG → See step   31 

  19. INSPECT CANISTER PUMP MODULE (POWER SOURCE FOR VENT VALVE) 
    1. Turn the ignition switch off.
      Fig 16: Inspecting Canister Pump Module Connector Terminals
      GTY238316Courtesy of © TOYOTA, LICENSE AGREEMENT TMS1002
    2. Disconnect the canister pump module connector.
    3. Turn the ignition switch to ON.
    4. Measure the voltage according to the value(s) in the table below.

      Result

      Tester Connection Switch Condition Specified Condition Suspected Trouble Area Proceed to
      L17-9 (VLVB) - Body ground Ignition switch ON 11 to 14 V
      1. Wire harness between vent valve and ECM
      2. Vent valve
      3. ECM
      A
      Below 3 V Power source wire harness of vent valve B
    5. Reconnect the canister pump module connector.

    B → See step   31 

    A: Go to next step 

  20. INSPECT CANISTER PUMP MODULE (VENT VALVE OPERATION) 
    1. Turn the ignition switch off.
      Fig 17: Inspecting Canister Pump Module Connector Terminals
      GTY188999Courtesy of © TOYOTA, LICENSE AGREEMENT TMS1002
    2. Disconnect the canister pump module connector.
    3. Apply the battery voltage across VLVB and VGND of the canister pump module.
    4. Touch the canister pump module to confirm the vent valve operation.

      Result

      Condition Test Result Suspected Trouble Area Proceed to
      Apply battery voltage to terminals VLVB and VGND Operating 1. Wire harness between vent valve and ECM
      2. ECM
      A
      Apply battery voltage to terminals VLVB and VGND Not operating Vent valve B
    5. Reconnect the canister pump module connector.

    B → See step   29 

    A: Go to next step 

  21. CHECK HARNESS AND CONNECTOR (ECM - CANISTER PUMP MODULE) 
    1. Disconnect the ECM connector.
    2. Disconnect the canister pump module connector.
    3. Measure the resistance according to the value(s) in the table below.

      Result

      Tester Connection Condition Specified Condition Suspected Trouble Area Proceed to
      A37-42 (VPMP) - L17-8 (VGND) Always Below 1 Ω ECM A
      10 kΩ or higher Wire harness between ECM and canister pump module B
    4. Reconnect the ECM connector.
    5. Reconnect the canister pump module connector.

    A → See step   34 

    B → See step   31 

  22. PERFORM ACTIVE TEST USING TECHSTREAM (FOR LEAK DETECTION PUMP) 
    1. Turn the ignition switch off.
      Fig 18: Inspecting Canister Pump Module Connector Terminals
      GTY238317Courtesy of © TOYOTA, LICENSE AGREEMENT TMS1002
    2. Disconnect the canister pump module connector.
    3. Turn the ignition switch to ON.
    4. Enter the following menus: Powertrain / Engine and ECT / Active Test / Activate the Vacuum Pump.
    5. Measure the voltage according to the value(s) in the table below.

      Result

      Tester Connection Condition Specified Condition Suspected Trouble Area Proceed to
      L17-1 (MTRB) - Body ground Leak detection pump ON and OFF
      (Active Test ON and OFF)
      Below 3 V when OFF
      11 to 14 V when ON
      1. Wire harness between leak detection pump and body ground
      2. Leak detection pump
      A
      Below 3 V when OFF and ON
      or
      11 to 14 V when OFF and ON
      1. Wire harness between leak detection pump and ECM
      2. ECM
      B
    6. Reconnect the canister pump module connector.

    B → See step   24 

    A: Go to next step 

  23. CHECK HARNESS AND CONNECTOR (CANISTER PUMP MODULE - BODY GROUND) 
    1. Turn the ignition switch off.
    2. Disconnect the canister pump module connector.
    3. Measure the resistance according to the value(s) in the table below.

      Result

      Tester Connection Condition Specified Condition Suspected Trouble Area Proceed to
      L17-6 (MGND) - Body ground Always Below 1 Ω Leak detection pump A
      10 kΩ or higher Wire harness between canister pump module and body ground B
    4. Reconnect the canister pump module connector.

    A → See step   29 

    B → See step   31 

  24. CHECK HARNESS AND CONNECTOR (ECM - CANISTER PUMP MODULE) 
    1. Turn the ignition switch off.
    2. Disconnect the ECM connector.
    3. Disconnect the canister pump module connector.
    4. Measure the resistance according to the value(s) in the table below.

      Result

      Tester Connection Condition Specified Condition Suspected Trouble Area Proceed to
      A37-34 (MPMP) - L17-1 (MTRB) Always Below 1 Ω ECM A
      10 kΩ or higher Wire harness between ECM and canister pump module B
    5. Reconnect the ECM connector.
    6. Reconnect the canister pump module connector.

    A → See step   34 

    B → See step   31 

  25. INSPECT INTAKE MANIFOLD (EVAP PURGE PORT) 
    1. Stop the engine.
    2. Disconnect the EVAP hose from the intake manifold.
    3. Start the engine.
    4. Use your finger to confirm that the port of the intake manifold has suction.

      Result

      Result Suspected Trouble Area Proceed to
      Suction applied EVAP hose between intake manifold and purge VSV A
      No suction Intake manifold B
    5. Reconnect the EVAP hose.

    A → See step   32 

    B → See step   33 

  26. CORRECTLY REINSTALL OR REPLACE FUEL TANK CAP 

    HINT: 

    • When reinstalling the fuel tank cap, tighten it until a few click sounds are heard.
    • When replacing the fuel tank cap, use a fuel tank cap that meets OEM specifications, and install it until a few click sounds are heard.

    NEXT → See step   36 

  27. REPLACE FUEL TANK CAP 

    HINT: 

    When replacing the fuel cap, use a fuel cap that meets OEM specifications, and install it until a click sound is heard.

    NEXT → See step   36 

  28. LOCATE EVAP LEAK PART 
    1. Disconnect the vent hose.
      Fig 19: Connecting Pressure Gauge To Canister Pump Module With Adapter
      GTY193262Courtesy of © TOYOTA, LICENSE AGREEMENT TMS1002
    2. Connect an EVAP tester to the canister pump module with the adapter.
    3. Pressurize the EVAP system to 3.2 to 3.7 kPa (24 to 28 mmHg).
    4. Apply soapy water to the piping and connecting parts of the EVAP system.
    5. Look for areas where bubbles appear. This indicates a leak point.
    6. Repair or replace the leak point.

      HINT: 

      Disconnect the hose between the canister and the fuel tank from the canister. Block the canister side and conduct an inspection. In this way, the fuel tank can be excluded as an area suspected of causing fuel leaks.

    NEXT → See step   36 

  29. REPLACE CANISTER ASSEMBLY 
    1. Replace the canister assembly. Refer to REMOVAL .
      NOTE:

      When replacing the canister, check the canister pump module interior and related pipes for water, fuel and other liquids. If liquids are present, check for disconnections and/or cracks in the following: 1) the pipe from the air inlet port to the canister pump module; 2) the canister filter; and 3) the fuel tank vent hose.

      Fig 20: Identifying Fuel Tank Components Location
      GTY238402Courtesy of © TOYOTA, LICENSE AGREEMENT TMS1002

    NEXT → See step   36 

  30. REPLACE PURGE VSV 
    1. Disconnect the connector and the hoses from the purge VSV.
      Fig 21: Identifying Purge VSV
      GTY168591Courtesy of © TOYOTA, LICENSE AGREEMENT TMS1002
    2. Remove the purge VSV.
    3. Install a new purge VSV.
    4. Reconnect the connector and hoses.

    NEXT → See step   36 

  31. REPAIR OR REPLACE HARNESS OR CONNECTOR 

    NEXT → See step   36 

  32. REPLACE PURGE LINE HOSE (INTAKE MANIFOLD - PURGE VSV) 

    NEXT → See step   36 

  33. INSPECT INTAKE MANIFOLD (EVAP PURGE PORT) 
    1. Check that the EVAP purge port of the intake manifold is not clogged. If necessary, replace the intake manifold.

    NEXT → See step   36 

  34. REPLACE ECM 
    1. Replace the ECM. Refer to REMOVAL .

    NEXT → See step   36 

  35. REPAIR OR REPLACE PARTS AND COMPONENTS INDICATED BY OUTPUT DTCS 
    1. Repair the malfunctioning areas indicated by the DTCs that had been confirmed when the vehicle was brought in.

    NEXT: Go to next step 

  36. PERFORM EVAPORATIVE SYSTEM CHECK (AUTOMATIC MODE) 
    NOTE:
    • The Evaporative System Check (Automatic Mode) consists of five steps performed automatically by the Techstream. It takes a maximum of approximately 18 minutes.
    • Do not perform the Evaporative System Check when the fuel tank is more than 90% full because the cut-off valve may be closed. If the cut-off valve is closed, the fuel tank leak check is not possible.
    • Do not run the engine during this operation.
    • When the temperature of the fuel is 35°C (95°F) or more, a large amount of vapor forms and any check results become inaccurate. When performing an Evaporative System Check, keep the temperature below 35°C (95°F).
    1. Connect the Techstream to the DLC3.
    2. Turn the ignition switch to ON and Techstream on.
    3. Clear DTCs. Refer to DTC CHECK / CLEAR .
    4. Enter the following menus: Powertrain / Engine and ECT / Utility / Evaporative System Check / Automatic Mode.
    5. After the Evaporative System Check is completed, check for pending DTCs by selecting the following menu items: Powertrain / Engine and ECT / Trouble Codes / Pending.

      HINT: 

      If no pending DTCs are found, the repair has been successfully completed.

    NEXT → END