LEMON Manuals: Even more car manuals for everyone: 1960-2025
Home >> Toyota >> 2011 >> Matrix Base, Standard >> Repair and Diagnosis >> External Pages >> Different car >> Section 42 (Charging System (Service Information)) >> Generator >> Disassembly >> Disassembly
April 5, 2026: LEMON Manuals is launched! Read the announcement.

Section 42 (Charging System (Service Information)): Generator: Disassembly: Disassembly

WARNING: This page is about a different car, the 2011 Toyota Avalon. However, it is still accessible from the selected car via links, so may be relevant.
  1. REMOVE GENERATOR WITH CLUTCH PULLEY 
    1. Using a screwdriver, remove the generator pulley cap.
      Fig 1: Removing Generator Pulley Cap
      GTY192368Courtesy of © TOYOTA, LICENSE AGREEMENT TMS1002
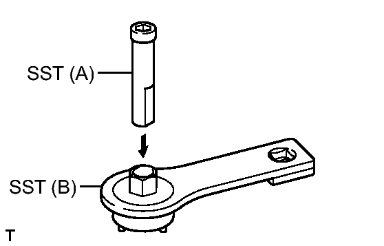
    2. Set SST (A) and (B).
      Fig 2: Setting Rotor Shaft To SST
      GTY133085Courtesy of © TOYOTA, LICENSE AGREEMENT TMS1002
      • SST: 09820-63020 
      1. Set the rotor shaft to SST (A).
      2. Mount SST (A) in a vise.
    3. Install the generator with the SST as shown in the illustration.
      Fig 3: Turning SST Clockwise And Loosen Generator Pulley
      GTY192369Courtesy of © TOYOTA, LICENSE AGREEMENT TMS1002
    4. Turn SST (B) clockwise, and loosen the generator pulley.
    5. Remove the generator from SST.
    6. Remove the pulley from the rotor shaft.
  2. REMOVE GENERATOR REAR END COVER 
    1. Remove the 3 nuts and generator rear end cover.
      Fig 4: Locating Generator Rear End Cover Nuts
      GTY146424Courtesy of © TOYOTA, LICENSE AGREEMENT TMS1002
  3. REMOVE TERMINAL INSULATOR 
    1. Remove the terminal insulator.
      Fig 5: Locating Terminal Insulator
      GTY146425Courtesy of © TOYOTA, LICENSE AGREEMENT TMS1002
  4. REMOVE GENERATOR BRUSH HOLDER ASSEMBLY 
    1. Remove the 2 screws and generator brush holder assembly.
      Fig 6: Locating Generator Brush Holder Assembly Screws
      GTY129806Courtesy of © TOYOTA, LICENSE AGREEMENT TMS1002
  5. REMOVE GENERATOR COIL ASSEMBLY 
    1. Remove the 4 bolts.
      Fig 7: Locating Generator Coil Assembly Bolts
      GTY146426Courtesy of © TOYOTA, LICENSE AGREEMENT TMS1002
    2. Using SST, remove the generator coil assembly.
      Fig 8: Removing Generator Coil Assembly
      GTY192370Courtesy of © TOYOTA, LICENSE AGREEMENT TMS1002
      • SST: 09950-40011 
        • 09951-04020
        • 09952-04010
        • 09953-04020
        • 09954-04010
        • 09955-04071
        • 09957-04010
        • 09958-04011
    3. Remove the generator washer.
  6. REMOVE GENERATOR ROTOR ASSEMBLY 
    1. Remove the generator rotor assembly.
  7. REMOVE GENERATOR DRIVE END FRAME BEARING 
    1. Remove the 4 screws and bearing retainer.
      Fig 9: Locating Bearing Retainer Screws
      GTY192371Courtesy of © TOYOTA, LICENSE AGREEMENT TMS1002
    2. Using SST and a hammer, tap out the generator drive end frame bearing.
      Fig 10: Tapping Out Drive End Frame Bearing From Drive End Frame
      GTY133160Courtesy of © TOYOTA, LICENSE AGREEMENT TMS1002
      • SST: 09950-60010 
        • 09951-00250
      • SST: 09950-70010 
        • 09951-07100