LEMON Manuals: Even more car manuals for everyone: 1960-2025
Home >> Toyota >> 2011 >> Tacoma X-Runner >> Repair and Diagnosis >> External Pages >> Different variant/trim >> Section 46 (4WD Control System / Transfer Case Control System (Inspection)) >> 4WD Control System / Transfer Case Control System >> Inspection >> Inspection
April 5, 2026: LEMON Manuals is launched! Read the announcement.

4WD Control System / Transfer Case Control System: Inspection: Inspection

WARNING: This page is about a different variant/trim than selected.
NOTE:
  • A/T:

    Switch the 4 wheel drive control switch when the A/T shift lever is in the N position and the vehicle speed is 5 km/h or less.

  • M/T:

    Switch the 4 wheel drive control switch when the clutch start switch is turned ON and the vehicle speed is 3 km/h or less.

  • Do not change from H2 to H4 when the vehicle speed is 100 km/h or more.
  1. INSPECT H2 (2WD) - H4 (4WD) SHIFT 
    Fig 1: Inspecting H2 (2WD) - H4 (4WD) Shift
    GTY209091Courtesy of © TOYOTA, LICENSE AGREEMENT TMS1002
    1. Start the engine.
    2. Turn the 4 wheel drive control switch from the H2 to the H4 position.
    3. Check that the 4WD indicator light blinks and then stays on.
    4. Turn the 4 wheel drive control switch from the H4 to the H2 position
    5. Check that the 4WD indicator light blinks and then goes off.
  2. INSPECT H4 (4WD) - L4 (4WD) SHIFT 
    Fig 2: Inspecting H4 (4WD) - L4 (4WD) Shift
    GTY209092Courtesy of © TOYOTA, LICENSE AGREEMENT TMS1002
    1. Start the engine and depress the clutch pedal all the way.
    2. Turn the 4 wheel drive control switch from the H4 to the L4 position while pressing it.
    3. Check that the 4LO indicator light blinks and then stays on.
    4. Turn the 4 wheel drive control switch from the L4 to the H4 position while pressing it.
    5. Check that the 4LO indicator light blinks and then goes off.
  3. INSPECT H2 (2WD) - L4 (4WD) SHIFT 
    Fig 3: Inspecting H2 (2WD) - L4 (4WD) Shift
    GTY209093Courtesy of © TOYOTA, LICENSE AGREEMENT TMS1002
    1. Start the engine and depress the clutch pedal all the way.
    2. Turn the 4 wheel drive control switch from the H2 to the H4 position.
    3. Check that the 4WD indicator light blinks and then stays on.
    4. Turn the 4 wheel drive control switch from the H4 to the L4 position while pressing it.
    5. Check that the 4LO indicator light blinks and then stays on.
  4. INSPECT L4 (4WD) - H2 (2WD) SHIFT 
    Fig 4: Inspecting L4 (4WD) - H2 (2WD) Shift
    GTY209094Courtesy of © TOYOTA, LICENSE AGREEMENT TMS1002
    1. Start the engine and depress the clutch pedal all the way.
    2. Turn the 4 wheel drive control switch from the L4 to the H4 position while pressing it.
    3. Check that the 4LO indicator light blinks and then goes off.
    4. Turn the 4 wheel drive control switch from the H4 to the H2 position.
    5. Check that the 4WD indicator light blinks and then goes off.
  5. INSPECT 4 WHEEL DRIVE CONTROL SWITCH 
    1. Remove the center instrument cluster finish panel sub-assembly.
    2. Remove the 4 wheel drive control switch from the center instrument cluster finish panel sub-assembly.
    3. Using an ohmmeter, measure the resistance between the terminals.
      Fig 5: Inspecting 4 Wheel Drive Control Switch Connector Terminals
      GTY208964Courtesy of © TOYOTA, LICENSE AGREEMENT TMS1002
      Switch position Tester connection Specified condition
      H2 5 (2-4) - 4 (GND) Below 1Ω
      H4 5 (2-4) → 4 (GND) Below 1Ω
      5 (2-4) ← 4 (GND) 100 kΩ or higher
      2 (LO) → 4 (GND) Below 1Ω
      2 (LO) ← 4 (GND) 100 kΩ or higher
      L4 2 (LO) - 4 (GND) Below 1Ω

      If the results are not as specified, replace the 4 wheel drive control switch or bulb.

  6. MEASURE ACTUATOR RESISTANCE 
    Fig 6: Identifying Actuator Connector Terminals
    GTY294741Courtesy of © TOYOTA, LICENSE AGREEMENT TMS1002
    1. Using an ohmmeter, measure the resistance between terminals 1 and 2.

      Standard resistance

      0.3 to 100 Ω

    2. Using an ohmmeter, measure the resistance between terminals 1 or 2 and the body ground.

      Standard resistance

      More than 0.5 MΩ

      If the results are not as specified, replace the shift actuator assembly.

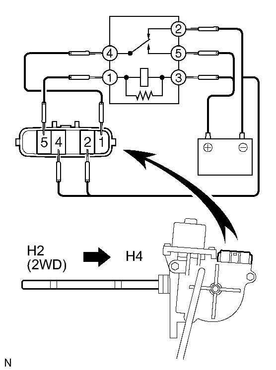
  7. INSPECT ACTUATOR OPERATION 
    Fig 7: Checking H2 (2WD) --> H4 Shift
    GTY208885Courtesy of © TOYOTA, LICENSE AGREEMENT TMS1002
    1. H2 (2WD) → H4 shift:

      Connect the lines via the relay as shown in the illustration, then check that the actuator fork shaft moves from the H2 (2WD) to the H4 positions.

    2. H4 → H2 (2WD) shift:
      Fig 8: Checking H4 --> H2 (2WD) Shift
      GTY208884Courtesy of © TOYOTA, LICENSE AGREEMENT TMS1002

      Connect the lines via the relay as shown in the illustration, then check that the actuator fork shaft moves from the H4 to the H2 (2WD) positions.

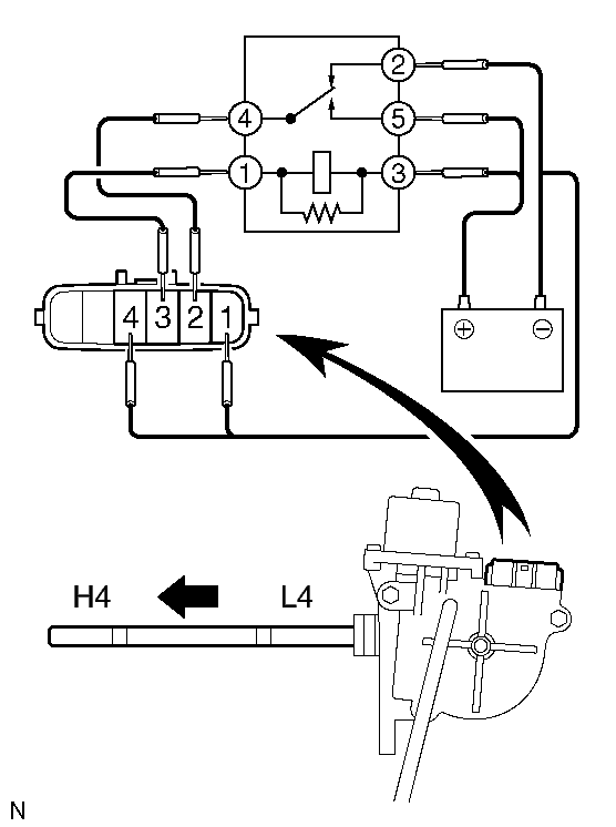
    3. H4 → L4 shift:
      Fig 9: Checking H4 - L4 Shift
      GTY208880Courtesy of © TOYOTA, LICENSE AGREEMENT TMS1002

      Connect the lines via the relay as shown in the illustration, then check that the actuator fork shaft moves from the H4 to the L4 positions.

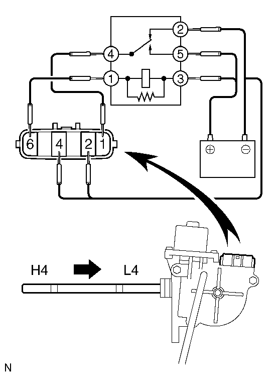
    4. L4 →H4 shift:
      Fig 10: Checking L4 --> H4 Shift
      GTY184249Courtesy of © TOYOTA, LICENSE AGREEMENT TMS1002

      Connect the lines via the relay as shown in the illustration, then check that the actuator fork shaft moves from the L4 to the H4 positions.

      Fig 11: Identifying Heater Main Relay Terminals
      GTY186845Courtesy of © TOYOTA, LICENSE AGREEMENT TMS1002

      HINT: 

      When inspecting the operation described above, use a heater main relay.

      NOTE:

      Connect the terminals, being careful not to touch the neighboring terminals or metallic parts of the relay housing.

  8. MEASURE LIMIT SWITCH CONTINUITY 
    Fig 12: Measure Actuator Resistance
    GTY294741Courtesy of © TOYOTA, LICENSE AGREEMENT TMS1002
    1. Start the engine and lift the vehicle up.
    2. With the actuator connector connected, after checking the operating sound, disconnect the connector and measure the continuity between the terminals using an ohmmeter.

      HINT: 

      When shifting the actuator fork shaft, connect the connectors.

      Shift position Tester connection Specified condition
      H2 3 - 4
      3 - 5
      3 - 6
      4 - 5
      4 - 6
      5 - 6
      100 kΩ or higher
      100 kΩ or higher
      100 kΩ or higher
      Below 1Ω
      100 kΩ or higher
      100 kΩ or higher
      H4 3 - 4
      3 - 5
      3 - 6
      4 - 5
      4 - 6
      5 - 6
      100 kΩ or higher
      100 kΩ or higher
      100 kΩ or higher
      100 kΩ or higher
      Below 1Ω
      100 kΩ or higher
      L4 3 - 4
      3 - 5
      3 - 6
      4 - 5
      4 - 6
      5 - 6
      Below 1Ω
      100 kΩ or higher
      100 kΩ or higher
      100 kΩ or higher
      100 kΩ or higher
      100 kΩ or higher
  9. INSPECT 4 WHEEL DRIVE CONTROL ECU 
    1. Connect the wire harness side connector to the 4 wheel drive control ECU and inspect the wire harness side connector from the back side, as shown.
      Fig 13: Identifying Wheel Drive Control ECU Connector Terminals
      GTY202093Courtesy of © TOYOTA, LICENSE AGREEMENT TMS1002
      STANDARD VALUE OF ECU TERMINAL

      Terminals (Symbols) Condition STD Voltage (V)
      F13-2 (TM1) - F13-1 (TM2)
      • Ignition switch ON
      • Differential lock switch in OFF position
      • 4 wheel drive control switch H2 position → H4 position
      10 to 14 or 0 to 14 pulse
      generation then less than 0.5
      F13-1 (TM2) - F13-2 (TM1)
      • Ignition switch ON
      • Depress clutch pedal all the way
      • Keep pressing the differential lock switch for approx. 2 seconds to turn it ON
      • 4 wheel drive control switch L4 position → H4 position
      10 to 14 or 0 to 14 pulse
      generation then less than 0.5
      F13-3 (DM1) - F13-4 (DM2)
      • Ignition switch ON
      • A.D.D. FREE →LOCK
      10 to 14 or 0 to 14 pulse
      generation then less than 0.5
      F13-4 (DM2) - F13-3 (DM1)
      • Ignition switch ON
      • A.D.D. LOCK → FREE
      10 to 14 or 0 to 14 pulse
      generation then less than 0.5
      F12-6 (GND) - Body ground Ignition switch OFF Below 1Ω
      F12-5 (IG) - F12-6 (GND) Ignition switch ON 10 to 14
      F13-12 (DL2) - F12-6 (GND)
      • Ignition switch ON
      • A.D.D. LOCK → FREE
      1.5 or less → 10 to 14
      F13-13 (DL1) - F12-6 (GND)
      • Ignition switch ON
      • A.D.D. FREE → LOCK
      1.5 or less → 10 to 14
      F12-8 (2-4) - F12-6 (GND)
      • Ignition switch ON
      • Depress clutch pedal all the way
      • 4 wheel drive control switch L4 position → H2 position or H4 position
      10 to 14 → 2 or less
      F12-9 (SPD) - F12-6 (GND) During driving Pulse generation
      F12-11 (IND3) - F12-6 (GND)
      • Ignition switch ON
      • Depress clutch pedal all the way
      • 4 wheel drive control switch H4 position → L4 position
      10 to 14 → 1.5 to 3.5
      F12-15 (LO) - F12-6 (GND)
      • Ignition switch ON
      • Depress clutch pedal all the way
      • 4 wheel drive control switch H4 position → L4 position
      10 to 14 →1.5 or less
      F13-26 (ADD) - F12-6 (GND)
      • Ignition switch ON
      • A.D.D. FREE → LOCK
      10 to 14 →1.5 or less
      F13-17 (L4) - F12-6 (GND)
      • Ignition switch ON
      • Depress clutch pedal all the way
      • 4 wheel drive control switch H2 position or H4 position → L4 position
      10 to 14 →1.5 or less
      F13-22 (4WD) - F12-6 (GND)
      • Ignition switch ON
      • 4 wheel drive control switch H2 position →H4 position
      10 to 14 →1.5 or less
      F13-23 (TL3) - F12-6 (GND)
      • Ignition switch ON
      • Depress clutch pedal all the way
      • 4 wheel drive control switch H2 position → L4 position
      10 to 14 → 0.88 or less
      F13-24 (TL2) - F12-6 (GND)
      • Ignition switch ON
      • 4 wheel drive control switch H2 position → H4 position
      10 to 14 → 0.88 or less
      F13-25 (TL1) - F12-6 (GND)
      • Ignition switch ON
      • Depress clutch pedal all the way
      • 4 wheel drive control switch H2 position → H4 position or L4 position
      0.88 or less → 10 to 14
      F12-19 (IND1) - F12-6 (GND)
      • Ignition switch ON
      • Depress clutch pedal all the way
      • 4 wheel drive control switch H2 position → H4 position or L4 position
      10 to 14 → 0 to 3.5
      F12-22 (N) - F12-6 (GND)
      • Ignition switch ON
      • Transmission shift lever other position → N position
      1.5 or less → 10 to 14