LEMON Manuals: Even more car manuals for everyone: 1960-2025
Home >> Toyota >> 2012 >> 4Runner Trail >> Repair and Diagnosis >> Engine Performance >> Ignition System (Inspection) >> Ignition System >> System Diagram >> System Diagram
April 5, 2026: LEMON Manuals is launched! Read the announcement.

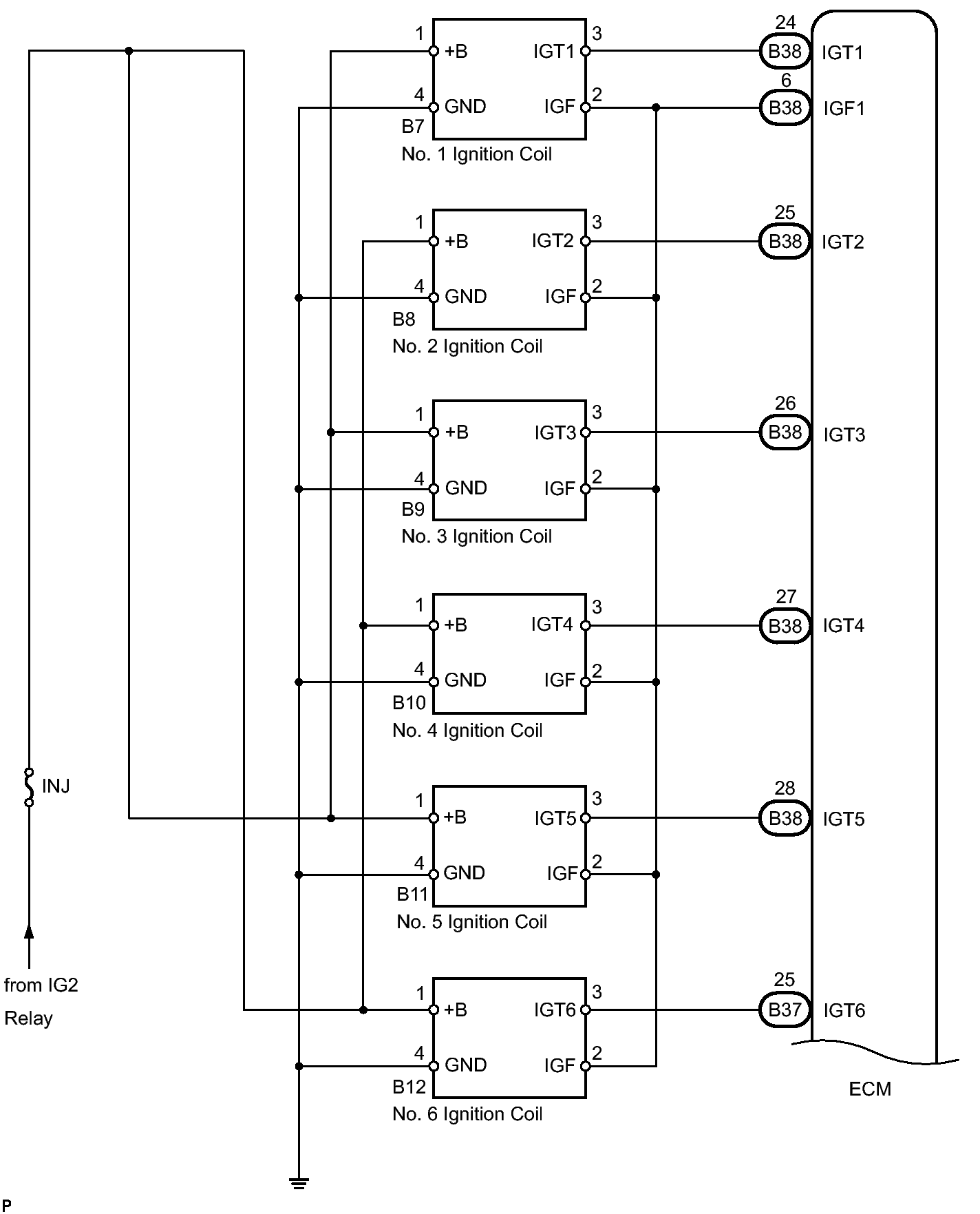
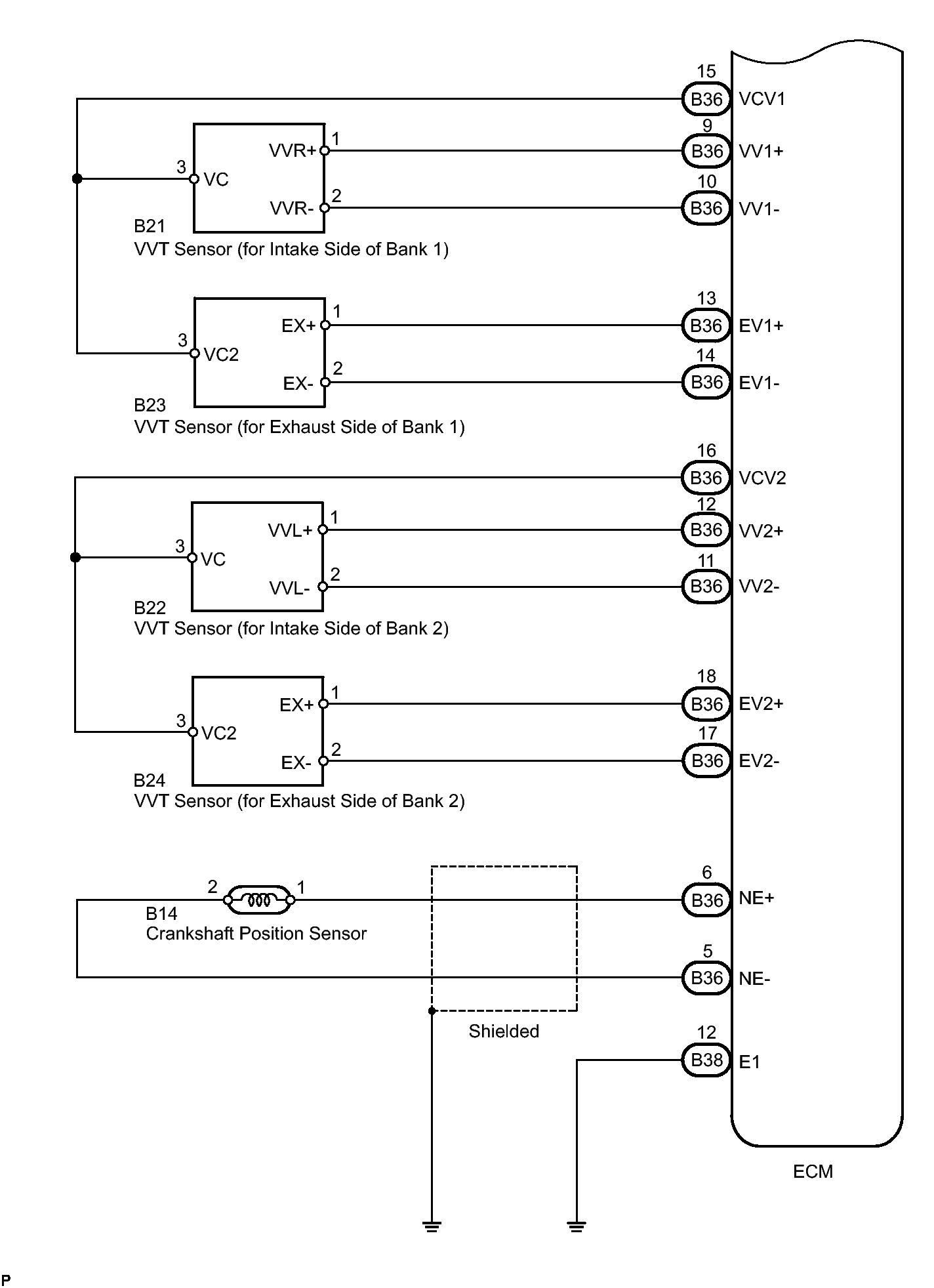
System Diagram

Fig 1: Identifying Ignition System Circuit Diagram (1 Of 2)
GTY233265Courtesy of © TOYOTA, LICENSE AGREEMENT TMS1002
Fig 2: Identifying Ignition System Circuit Diagram (2 Of 2)
GTY222443Courtesy of © TOYOTA, LICENSE AGREEMENT TMS1002