LEMON Manuals: Even more car manuals for everyone: 1960-2025
Home >> Toyota >> 2012 >> 4Runner Trail >> Repair and Diagnosis >> Engine Performance >> System >> Engine Control System (Service Information) >> Camshaft Oil Control Valve >> Inspection >> Inspection
April 5, 2026: LEMON Manuals is launched! Read the announcement.

Camshaft Oil Control Valve: Inspection: Inspection

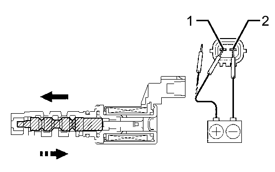
  1. INSPECT CAMSHAFT TIMING OIL CONTROL VALVE ASSEMBLY 
    1. Measure the resistance according to the value(s) in the table below.

      Standard Resistance

      Tester Connection Condition Specified Condition
      1 - 2 20°C (68°F) 6.9 to 7.9 Ω

      If the result is not as specified, replace the camshaft timing oil control valve.

    2. Fig 1: Inspecting Camshaft Timing Oil Control Valve
      GTY227448Courtesy of © TOYOTA, LICENSE AGREEMENT TMS1002
    3. Connect the positive (+) lead of the battery to terminal 1 and the negative (-) lead to terminal 2 and check the movement of the valve.

      OK

      Tester Connection Condition Specified Condition
      1 - 2 Battery positive (+) voltage is applied Valve moves in direction of left arrow shown in illustration
      Battery positive (+) voltage is cut off Valve moves in direction of right arrow shown in illustration

      If the result is not as specified, replace the camshaft timing oil control valve.

      If the valve cannot return properly because of foreign matter, a small pressure leak in the advanced direction may occur and a DTC may be stored.