LEMON Manuals: Even more car manuals for everyone: 1960-2025
Home >> Toyota >> 2012 >> Avalon Base >> Repair and Diagnosis (Single Page) >> Accessories & Equipment >> Infotainment >> Navigation System (Diagnostics - Introduction) >> Navigation System >> System Description >> System Description
April 5, 2026: LEMON Manuals is launched! Read the announcement.

System Description

  1. NAVIGATION RECEIVER ASSEMBLY OUTLINE 
    1. Conventionally, 2 separate devices, a "radio and display" and a "navigation ECU" are used. This model has adopted a new type that combines these devices into a single unit.
      Fig 1: Identifying Navigation Receiver Assembly
      GTY300851Courtesy of © TOYOTA, LICENSE AGREEMENT TMS1002
  2. NAVIGATION SYSTEM OUTLINE 
    1. Vehicle position tracking methods

      It is essential that the navigation system correctly tracks the current vehicle position and displays it on the map. There are 2 methods to track the current vehicle position: autonomous (dead reckoning) and GPS* (satellite) navigation. Both navigation methods are used in conjunction with each other.

      *GPS (Global Positioning System)

      Fig 2: Vehicle Position Tracking Methods Chart
      GTY302953Courtesy of © TOYOTA, LICENSE AGREEMENT TMS1002
      Operation Description
      Vehicle Position Calculation The navigation receiver assembly calculates the current vehicle position (direction and current position) using the direction deviation signal from the gyro sensor and the driving distance signal from the vehicle speed sensor and creates the driving route.
      Map Display Processing The navigation receiver assembly displays the vehicle track on the map by processing the vehicle position data, vehicle driving track and map data from the map disc.
      Map Matching The map data from the map disc is compared to the vehicle position and driving track data. Then, the vehicle position is matched with the nearest road.
      GPS Correction The vehicle position is matched to the position measured by GPS. Then, the GPS measurement position data is compared with the vehicle position and driving track data. If the position is widely different, the GPS measurement position is used.
      Distance Correction The vehicle speed signal includes the error caused by tire wear and slippage between the tires and road surface. Distance correction is performed to account for this. The navigation receiver assembly automatically offsets the signal to make up for the difference between it and the distance data of the map. The offset is automatically updated.
      Fig 3: Identifying Autonomous And GPS Navigation
      GTY296043Courtesy of © TOYOTA, LICENSE AGREEMENT TMS1002

      HINT: 

      The combination of autonomous and GPS navigation makes it possible to display the vehicle position even when the vehicle is in places where the GPS cannot receive a signal. When only autonomous navigation is used, however, the mapping accuracy may slightly decrease.

    2. Autonomous navigation

      This method determines the relative vehicle position based on the driving track determined by the gyro located in the navigation receiver assembly and the vehicle speed signal.

      1. Gyro sensor

        Used to calculate the direction by detecting angular velocity. It is located in the navigation receiver assembly.

      2. Vehicle speed signal

        Used to calculate the vehicle driving distance.

    3. GPS* navigation (Satellite navigation)

      This method detects the absolute vehicle position using radio waves from GPS satellites.

      *GPS satellites were launched by the U.S. Department of Defense for military purposes.

      Fig 4: GPS Navigation (Satellite Navigation)
      GTY210525Courtesy of © TOYOTA, LICENSE AGREEMENT TMS1002
      Number of satellites Measurement Description
      2 or less Measurement is impossible Vehicle position cannot be obtained because the number of satellites is not enough.
      3 2-dimensional measurement is possible Vehicle position is obtained based on the current longitude and latitude. (This is less precise than 3-dimensional measurement.)
      4 3-dimensional measurement is possible Vehicle position is obtained based on the current longitude, latitude and altitude.
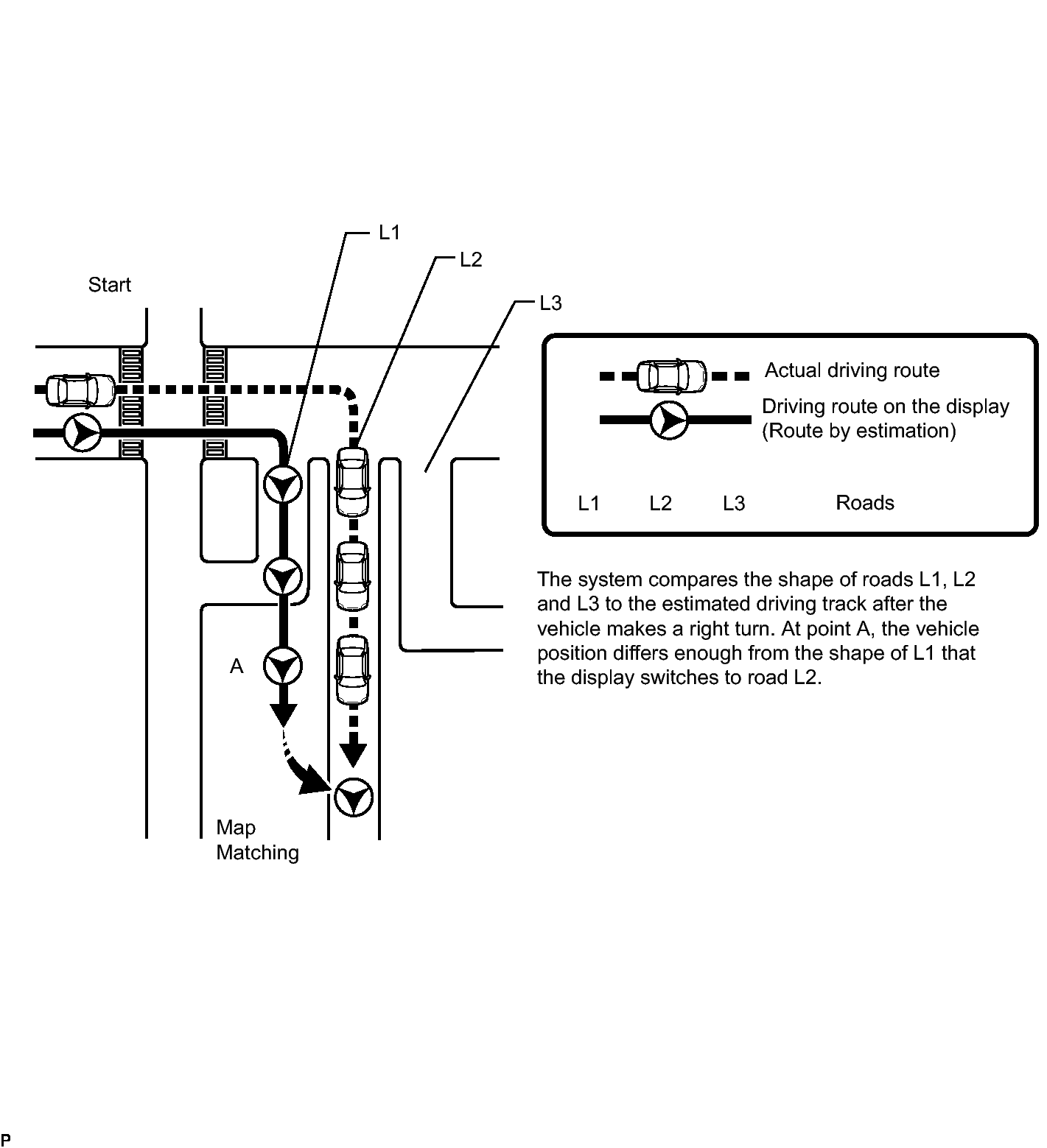
    4. Map matching

      The current driving route is calculated by autonomous navigation (according to the gyro sensor and vehicle speed signal) and GPS navigation. This information is then compared with possible road shapes from the map data in the map disc and the vehicle position is set onto the most appropriate road.

      Fig 5: Identifying Map Matching
      GTY299940Courtesy of © TOYOTA, LICENSE AGREEMENT TMS1002
    5. Touch switch

      Touch switches are touch-sensitive (interactive) switches operated by touching the screen. When a switch is pressed, the outer glass bends in to contact the inner glass at the pressed position. By doing this, the voltage ratio is measured and the pressed position is detected.

      Fig 6: Identifying Touch Switches
      GTY306114Courtesy of © TOYOTA, LICENSE AGREEMENT TMS1002
  3. DVD (DIGITAL VERSATILE DISC) PLAYER OUTLINE (for navigation map) 
    1. The navigation receiver assembly (built-in navigation ECU) uses a laser pickup to read the digital signals recorded on a DVD.
      WARNING:

      Do not look directly at the laser pickup because the navigation receiver assembly (built-in navigation ECU) uses an invisible laser beam.

      Be sure to operate the navigation system only as instructed.

      NOTE:
      • Do not disassemble any part of the navigation receiver assembly (built-in navigation ECU).
      • Do not apply oil to the navigation receiver assembly (built-in navigation ECU).
      • Do not insert anything but a DVD into the navigation receiver assembly (built-in navigation ECU).
  4. CD (COMPACT DISC) PLAYER OUTLINE 
    1. The compact disc player uses a laser pickup to read digital signals recorded on a compact disc (CD). By converting the digital signals to analog, it can play music and audio.
      WARNING:

      Do not look directly at the laser pickup because the CD player uses an invisible laser beam. Be sure to operate the player only as instructed.

      NOTE:
      • Do not disassemble any part of the CD player.
      • Do not apply oil to the CD player.
      • Do not insert anything but a CD into the CD player.
    2. Usable discs
      1. This player can play only audio CDs, CD-Rs (CD-Recordable), and CD-RWs (CD-ReWritable) that have any of the following marks:
        Fig 7: Identifying Disc Player Outline
        GTY206439Courtesy of © TOYOTA, LICENSE AGREEMENT TMS1002
    3. Precautions for use of discs
      NOTE:
      • Copy-protected CDs cannot be played.
      • CD-Rs and CD-RWs may not be played depending on the recording conditions or characteristics of the discs, or due to damage, dirt or deterioration caused by leaving the discs in the cabin for a long time.
      • Unfinalized CD-Rs and CD-RWs cannot be played.
      • DualDiscs that mate DVD recorded material on one side with CD digital audio material on the other cannot be played.
      • Keep the discs away from dirt. Be careful not to damage the discs or leave your fingerprints on them.
      • Hold discs by the outer edge and center hole with the label side up.
      • Leaving the disc exposed halfway out of the slot for a long time after pressing the disc eject button may cause deformation of the disc, making the disc unusable.
      • If discs have adhesive tape, stickers, CD labels or any traces of such labels attached, the discs may not be ejected or player malfunctions may result.
      • Keep the discs away from direct sunlight. (Exposure to direct sunlight may cause deformation of the disc, making the disc unusable.)
      • Do not use odd-shaped CDs because these may cause player malfunctions.
      • Do not use discs whose recording portion is transparent or translucent because they may not be inserted, ejected or played normally.

      HINT: 

      • When it is cold or it is raining, if the windows mist up, mist and condensation may form in the player. In such cases, the CD may skip or stop in the middle of play. Ventilate or dehumidify the cabin for a while before using the player.
      • The CD may skip if the player experiences strong vibrations when the vehicle is driven on rough roads or similar uneven surface(s).
    4. Cleaning
      Fig 8: Cleaning Disc Surface With Soft Dry Cloth
      GTY100352Courtesy of © TOYOTA, LICENSE AGREEMENT TMS1002
      NOTE:

      Do not use a lens cleaner because it may cause a malfunction in the pickup portion of the player.

      1. If dirt is on the disc surface, wipe it clean with a soft dry cloth such as an eyeglass cleaner for plastic lenses from the inside to the outside in a radial direction.
        NOTE:
        • Pressing on the disc by hand or rubbing the disc with a hard cloth may scratch the disc surface.
        • Use of solvent such as a record spray, antistatic agent, alcohol, benzine, and thinner or a chemical cloth may cause damage to the disc, making the disc unusable.
  5. MP3/WMA OUTLINE 
    1. Playable MP3 file standards
      Compatible Standard MP3 (MPEG1 LAYER3, MPEG2 LSF LAYER3)
      Compatible sampling frequency
      • MPEG1 LAYER3: 44.1, 48 (kHz)
      • MPEG2 LSF LAYER3: 16, 22.05, 24 (kHz)
      Compatible bit rate
      • MPEG1 LAYER3: 64, 80, 96, 112, 128, 160, 192, 224, 256, 320 (kbps)
      • MPEG2 LSF LAYER3: 64, 80, 96, 112, 128, 144, 160 (kbps)
      • Compatible with VBR
      Compatible channel mode Stereo, joint stereo, dual channel, monaural
    2. Playable WMA file standards
      Compatible Standard WMA Ver. 7, 8, and 9
      Compatible sampling frequency 44.1, 48 (kHz)
      Compatible bit rate
      (Only compatible with 2-channel playback)
      • Ver. 7, 8: CBR48, 64, 80, 96, 128, 160, 192 (kbps)
      • Ver. 9: CBR48, 64, 80, 96, 128, 160, 192, 256, 320 (kbps)
    3. ID3 tag and WMA tag
      1. Additional text information called an ID3 tag can be input to MP3 files. Information such as song titles and artist names can be stored.

        HINT: 

        This player is compatible with the ID3 tags of ID3 Ver. 1.0 and 1.1, and ID3 Ver. 2.2 and 2.3. (Number of characters complies with ID3 Ver. 1.0 and 1.1.)

      2. Additional text information called a WMA tag can be input to WMA files. Information such as song titles and artist names can be stored.
    4. Usable media
      1. Only CD-ROMs, CD-Rs (CD-Recordable), and CD-RWs (CD-ReWritable) can be used to play MP3/WMA files.
        NOTE:
        • CD-Rs and CD-RWs are more easily affected by a hot and humid environment than discs used for normal audio CDs. For this reason, some CD-Rs and CD-RWs do not play.
        • If there are fingerprints or scratches on a disc, the disc may not play or the CD may skip.
        • Some CD-Rs and CD-RWs may deteriorate if they are left in the cabin for a long time.
        • Keep CD-Rs and CD-RWs in an opaque case.
    5. Usable media format
      1. Usable media format
        Disc format CD-ROM Mode 1, CD-ROM XA Mode 2 Form 1
        File format ISO9660 Level 1 and Level 2 (Joliet, Romeo)

        HINT: 

        • As for MP3/WMA files written in any unlisted format, the contents of the files may not be played normally or the file names or folder names may not be displayed correctly.
        • This player is compatible with multi-session discs and can play CD-Rs and CD-RWs on which MP3/WMA files have been added. However, only the first session can be played.
        • Discs whose first session includes both music data and MP3 or WMA format data cannot be played.
      2. Standards and restrictions
        Maximum directory levels 8 levels
        Maximum number of characters for a folder name/file name 32 characters
        Maximum number of folders 192 (Including empty folders, route folders, and folders that do not contain MP3/WMA files)
        Maximum number of files in a disc 255 (Including non-MP3/WMA files)
    6. File names
      1. Only files with an extension of ".mp3" or ".wma" can be recognized and played as MP3 or WMA files.
      2. Save MP3 or WMA files with an extension of ".mp3" or ".wma".
        NOTE:

        If non-MP3 or non-WMA files are saved with an extension of ".mp3" or ".wma", those files may be wrongly recognized as MP3 or WMA files and played. A loud noise may occur and damage to the speaker may result.

  6. "BLUETOOTH" OUTLINE 
    Fig 9: Identifying "Bluetooth" Outline
    GTY303650Courtesy of © TOYOTA, LICENSE AGREEMENT TMS1002
    1. "Bluetooth" is a trademark owned by Bluetooth SIG. Inc.
    2. "Bluetooth" is a wireless connection technology that uses the 2.4 GHz frequency band.

      HINT: 

      The communication performance of "Bluetooth" may vary depending on obstructions or radio wave conditions between communication devices, electromagnetic radiation, communication device sensitivity or antenna capacity.

    3. Hands-free function
      1. The "Bluetooth" built-in navigation receiver assembly and a "Bluetooth" compatible cellular phone*1 can be connected using a "Bluetooth" wireless connection. This enables use of the hands-free function on the cellular phone even if the phone is in a pocket or bag. For this reason, it is not necessary to use a connector or cable to connect the cellular phone.

        *1: Some versions of "Bluetooth" compatible cellular phones may not function.

    4. "Bluetooth" audio function
      1. The "Bluetooth" built-in navigation receiver assembly and a "Bluetooth" compatible portable audio player*2 can be connected using a "Bluetooth" wireless connection. This enables files stored in the portable audio player to be heard from the vehicle speakers. In addition, operations such as play/stop can be performed directly from the navigation receiver assembly.

        *2: Some versions of "Bluetooth" compatible audio players may not be able to operate the "Bluetooth" function, or music may play, but functions available using the navigation receiver assembly may be limited.

      2. Compatible "Bluetooth" audio devices
        Required "Bluetooth" specifications Ver.1.1, or higher (Recommended: Ver.2.0+EDR or higher)
        Compatible Profiles
        • A2DP (Advanced Audio Distribution Profile) Ver.1.0 or higher
        • AVRCP (Audio/Video Remote Control Profile) Ver.1.0 or higher (Ver.1.3 or higher recommended)
        Maximum number of audio devices that can be registered 2

        HINT: 

        The amount of remaining battery charge displayed on the navigation receiver assembly may be different from that of the portable player.

  7. RADIO DESCRIPTION 
    1. Radio frequency band
      1. Radio broadcasts use the radio frequency bands shown in the table below.
        Fig 10: Radio Frequency Band Reference Chart
        GTY150377Courtesy of © TOYOTA, LICENSE AGREEMENT TMS1002
    2. Service area
      Fig 11: Identifying Service Areas Of AM And FM Broadcasts
      GTY206316Courtesy of © TOYOTA, LICENSE AGREEMENT TMS1002
      1. The service areas of AM and FM broadcasts are vastly different. Sometimes an AM broadcast can be received very clearly but an FM stereo cannot. FM stereo has the smallest service area, and is prone to pick up static and other types of interference such as noise.
    3. Radio reception problems

      HINT: 

      In addition to static, other problems such as "phasing", "multipath", and "fade out" exist. These problems are not caused by electrical noise, but by the radio signal propagation method itself.

      1. Phasing

        AM broadcasts are susceptible to electrical interference and another kind of interference called phasing. Occurring only at night, phasing is the interference created when a vehicle receives 2 radio wave signals from the same transmitter. One signal is reflected off the ionosphere and the other signal is received directly from the transmitter.

        Fig 12: Identifying Radio Phasing & Ionosphere
        GTY185566Courtesy of © TOYOTA, LICENSE AGREEMENT TMS1002
      2. Multipath

        Multipath is a type of interference created when a vehicle receives 2 radio wave signals from the same transmitter. One signal is reflected off buildings or mountains and the other signal is received directly from the transmitter.

        Fig 13: Identifying Radio Multipath
        GTY185376Courtesy of © TOYOTA, LICENSE AGREEMENT TMS1002
      3. Fade out

        Fade out is caused by objects (buildings, mountains and other such large obstacles) that deflect away part of a signal, resulting in a weaker signal when the object is between the transmitter and vehicle. High frequency radio waves, such as FM broadcasts, are easily deflected by obstructions. Low frequency radio waves, such as AM broadcasts, are less likely to deflect.

        Fig 14: Identifying Radio Fade Out
        GTY184601Courtesy of © TOYOTA, LICENSE AGREEMENT TMS1002
    4. Noise problem

      Technicians must have a clear understanding about each customer's noise complaint. Use the following table to diagnose noise problems.

      Radio Frequency Noise Occurrence Condition Presumable Cause
      AM Noise occurs in a specified area Foreign noise
      AM Noise occurs when listening to an intermittent broadcast An identical program transmitted from multiple towers can cause noise where the signals overlap
      AM Noise occurs only at night Signal phasing
      FM Noise occurs while driving in a specified area Multipath noise resulting from a change in FM frequency
  8. RBDS FUNCTION OUTLINE (BROADCAST IN NORTH AMERICA ONLY) 

    The Radio Broadcast Data System (RBDS) is broadcast through conventional FM radio broadcasts. Information such as song names, traffic information, broadcast station names, etc. can be received.

  9. SDARS SYSTEM FUNCTION OUTLINE (BROADCAST IN NORTH AMERICA ONLY) 

    Satellite Digital Audio Radio Service (SDARS) is a satellite digital radio broadcast provided by Sirius XM Radio Inc. The broadcast (pay-type) is performed through satellites and terrestrial repeater networks. Several unique channels are available, and even if a vehicle changes locations, the same information can be received without breaks. Information such as song names, broadcast station names, etc. can be received. Also, traffic information can be received and displayed on the navigation screen.

    NOTE:

    To receive audio-visual pay-type broadcasts, the customer must enter into a pay-type contract with XM Satellite Radio Inc. After entering into a contract, registration of the XM Radio ID is required. Also, if parts are replaced, the XM Radio ID must be reregistered.

  10. USB AUDIO SYSTEM FUNCTION OUTLINE 
    1. The No. 1 stereo jack adapter assembly is equipped with a USB terminal. Connecting a USB device or "iPod" to the No. 1 stereo jack adapter assembly allows music files to be played. Not only is it possible to play music from a USB device with audio functions, is also possible to play MP3 or WMA music files that are stored on a USB device. In addition, "iPod" control software is installed, allowing file selection from playlists and operation using shuffle mode.

      HINT: 

      • Visual contents of an "iPod" cannot be played.
      • Operation through the controls of a USB device or "iPod" cannot be performed while it is connected.
    2. USB audio system compatible model
      1. USB Device

        The following device formats can be used:

        Compatible USB device formats
        • USB communication format: USB 2.0 FS (12MBPS)
        • File format: FAT16/32 (Windows)
        • Class: Mass storage class

        MP3 and WMA files written in any format other than those listed above may not play correctly, and their file and folder names may not be displayed correctly.

        Items related to standards and limitations are as follows:

        • Maximum directory hierarchy: 8 levels
        • Maximum number of folders in device: 999 (including the root folder)
        • Maximum number of files in device: 65025
        • Maximum number of files per folder: 255
      2. "iPod"

        "iPod" is a trademark of Apple Inc., registered in the U.S. and other countries.

        SUPPORTED "IPOD" MODELS AND FIRMWARE VERSIONS

        Supported "iPod" Model Supported Firmware Version
        "iPod" 5G Ver. 1.2 or higher
        "iPod Nano" 1G Ver. 1.3 or higher
        "iPod Nano" 2G Ver. 1.1.2 or higher
        "iPod Nano" 3G Ver. 1.0 or higher
        "iPod touch" Ver. 1.1 or higher
        "iPod classic" Ver. 1.0 or higher
        UNSUPPORTED "IPOD" MODELS

        Unsupported Models "iPod shuffle"
        "iPhone"
        "iPod" 1G, 2G, 3G, 4G
        "iPod mini"

        Items related to standards and limitations are as follows:

        • Maximum number of lists in device: 9999
        • Maximum number of songs in device: 65535
        • Maximum number of songs per list: 65535

        HINT: 

        • "iPod" models and firmware versions that are not listed in "Supported "iPod" Models and Firmware Versions" may not function, or may not function correctly.
        • Depending on the generation of "iPod" used, response to commands from the vehicle may be delayed.
  11. AUTOMATIC SOUND LEVELIZER (ASL) FUNCTION OUTLINE 
    1. The Automatic Sound Levelizer (ASL) function automatically adjusts the audio system volume level in order to compensate for increased vehicle noise (vehicle noise tends to increase as vehicle speed increases). The ASL adjusts the volume level based upon vehicle speed signals that it receives from the combination meter assembly.
  12. COMMUNICATION SYSTEM 
    1. AVC-LAN OUTLINE
      Fig 15: AVC-LAN Communication Circuit Diagram
      GTY306773Courtesy of © TOYOTA, LICENSE AGREEMENT TMS1002
      1. Components of the navigation system communicate with each other via the AVC-LAN.
      2. The AVC-LAN uses a twisted pair of wires for its communication lines.
      3. The master unit of the AVC-LAN is the navigation receiver assembly.

        HINT: 

        • The navigation receiver assembly has enough resistance (60 to 80 Ω) necessary for communication.
        • If a short or open circuit occurs in the AVC-LAN circuit, communication will be interrupted and the system will not operate normally.
    2. AVC-LAN plus OUTLINE
      Fig 16: AVC-LAN Plus Communication Circuit Diagram
      GTY208824Courtesy of © TOYOTA, LICENSE AGREEMENT TMS1002
      1. Navigation system components communicate with each other via the AVC-LAN plus.
      2. The AVC-LAN plus uses two twisted pairs of cables for its communication lines.
      3. The master unit of the AVC-LAN plus is the navigation receiver assembly.

        HINT: 

        • The navigation receiver assembly has enough resistance (95 to 105 Ω) necessary for communication.
        • If a short or open circuit occurs in the AVC-LAN plus circuit, communication will be interrupted and the system will not operate normally.
  13. DIAGNOSTIC FUNCTION OUTLINE 
    1. The navigation system has a diagnostic function (the result is indicated on the master unit).
  14. DIAGNOSIS DISPLAY DETAILED DESCRIPTION 

    HINT: 

    • This service information contains a detailed description of displays in diagnostic mode.
    • Illustrations may differ from the actual vehicle screen depending on the device settings and options. Therefore, some detailed areas may not be shown exactly the same as on the actual vehicle screen.
    1. Service Menu Screen
      Fig 17: Screen Display - Service Menu
      GTY185718Courtesy of © TOYOTA, LICENSE AGREEMENT TMS1002

      HINT: 

      Each item is grayed out or not displayed based on the device settings.

    2. Failure Diagnosis Screen
      Fig 18: Screen Display - Failure Diagnosis
      GTY185755Courtesy of © TOYOTA, LICENSE AGREEMENT TMS1002

      HINT: 

      Each item is grayed out or not displayed based on the device settings.

      1. System Check Mode Screen
        Fig 19: Screen Display - System Check Mode
        GTY299628Courtesy of © TOYOTA, LICENSE AGREEMENT TMS1002
        • *1: Device Name List No. 1

          HINT: 

          • Device Name List No. 1 displays some of the devices that make up the navigation system.
          • The names of the components from Device Name List No. 1 are shown in the following table.
            Name Component Connection Method
            AVN Navigation receiver assembly -
            XM Stereo component tuner assembly Communication line for AVC-LAN
            USB-BOX Multi-media interface ECU Communication line for AVC-LAN
            DSP-AMP Stereo component amplifier assembly Communication line for AVC-LAN
        • *2: Check Result

          HINT: 

          Result codes for all devices are displayed.

          Result Meaning Action
          OK The device does not respond with a DTC. -
          EXCH The device responds with a "replace"-type DTC. Look up the DTC in "Unit Check Mode" and replace the device.
          CHEK The device responds with a "check"-type DTC. Look up the DTC in "Unit Check Mode".
          NCON The device was previously present, but does not respond in diagnostic mode. - Check power supply wire harness of the device.
          - Check the AVC-LAN of the device.
          NRES The device responds in diagnostic mode, but gives no DTC information. - Check power supply wire harness of the device.
          - Check the AVC-LAN of the device.
        • *3: Memory Clear

          HINT: 

          • Present and history DTCs and registered connected device names are cleared.
          • Press the "Memory CLR" switch for 3 seconds.
        • *4: Recheck

          HINT: 

          • A system check will be performed again after the memory is cleared.
          • The Recheck switch will dim during a system check.
        • *5: Device Name List No. 2

          HINT: 

          • Device Name List No. 2 displays some of the devices that make up the navigation system.
          • The names of the components from Device Name List No. 2 are shown in the following table.
            Name Component Connection Method
            XM (Step2) Stereo component tuner assembly Communication line for AVC-LAN plus
            MIC Inner rear view mirror assembly (amplifier microphone assembly) Vehicle wire harness
            AUX No. 1 stereo jack adapter assembly Vehicle wire harness
      2. Unit Check Mode Screen
        Fig 20: Screen Display - Unit Check Mode
        GTY174109Courtesy of © TOYOTA, LICENSE AGREEMENT TMS1002
        SCREEN DESCRIPTION

        Display Content
        *1: Device name Target device
        *2: History DTC Diagnostic memory results and stored DTCs are displayed.
        *3: Present DTC DTCs output in the service check are displayed.
        *4: DTC DTC (Diagnostic Trouble Code)
        *5: Timestamp The time and date of history DTCs are displayed. (The year is displayed in 2-digit format.)
        *6: Diagnosis clear switch Pushing this switch for 3 seconds clears the diagnostic memory data of the target device. (Both response to diagnostic system check result and the displayed data are cleared.)
    3. Function Check/Setting Screen
      Fig 21: Screen Display - Function Check/Setting
      GTY298314Courtesy of © TOYOTA, LICENSE AGREEMENT TMS1002

      HINT: 

      Each item is grayed out or not displayed based on the device settings.

      1. Microphone & Voice Recognition Check Screen
        Fig 22: Screen Display - Microphone & Voice Recognition Check
        GTY187214Courtesy of © TOYOTA, LICENSE AGREEMENT TMS1002
        SCREEN DESCRIPTION

        Display Content
        *1: Microphone input level meter Monitors the microphone input level every 0.1 sec. and displays the results in 8 different levels.
        *2: Recording switch Starts recording.
        *3: Stop switch Stops recording.
        *4: Play switch Plays the recorded voice.
        *5: Recording indicator Comes on while recording.

        HINT: 

        • The microphone is active at all times when this screen is displayed.
        • While recording or playing, the switches other than the stop switch cannot be pushed.
        • When no recording is present, the play switch cannot be pushed.
        • Recording will stop after 5 seconds or when the stop switch is pushed.
        • Select the recording switch with the blower motor of the air conditioning system stopped. If an outlet of the air conditioning system is facing the microphone, noise may be recorded.
      2. GPS Information Screen
        Fig 23: Screen Display - GPS Information
        GTY208826Courtesy of © TOYOTA, LICENSE AGREEMENT TMS1002
        • *1: Satellite information

          Information from a maximum of 12 satellites is displayed on the screen. This information includes the target GPS satellite number, elevation angle, direction and signal level.

        • *2: Receiving condition
          SCREEN DESCRIPTION

          Display Content
          T The system is receiving a GPS signal, but is not using it for location.
          P The system is using the GPS signal for location.
          - The system cannot receive a GPS signal.
        • *3: Measurement information
          SCREEN DESCRIPTION

          Display Content
          2D 2-dimensional location method is being used.
          3D 3-dimensional location method is being used.
          NG Location data cannot be used.
          Error Reception error has occurred.
          - Any other state.
        • *4: Position information
          SCREEN DESCRIPTION

          Display Content
          Position Latitude and longitude information on the current position is displayed.
        • *5: Date information
          SCREEN DESCRIPTION

          Display Content
          Date The date/time information obtained from GPS signals is displayed in Greenwich Mean Time (GMT).
      3. Vehicle Sensors Screen
        Fig 24: Screen Display - Vehicle Sensors
        GTY208825Courtesy of © TOYOTA, LICENSE AGREEMENT TMS1002
        VEHICLE SIGNAL

        Display Content
        *1: SPD SPD signal condition is displayed.
        SENSOR SIGNAL

        Display Content
        *2: Gyro sensor Gyro sensor output condition is displayed.

        HINT: 

        Signals are updated once per second only when vehicle sensor signals change.

      4. Vehicle Signal Check Mode Screen
        Fig 25: Screen Display - Vehicle Signal Check Mode
        GTY185717Courtesy of © TOYOTA, LICENSE AGREEMENT TMS1002
        SCREEN DESCRIPTION

        Display Content
        Battery Battery voltage is displayed.
        IG IG switch ON/OFF state is displayed.
        PKB Parking brake ON/OFF state is displayed.
        REV Reverse signal ON/OFF state is displayed.
        SPEED Vehicle speed is displayed in km/h.
        TAIL Tail signal (Light control switch) ON/OFF state is displayed.

        HINT: 

        • Only items sending vehicle signals will be displayed.
        • This screen is updated once per second when input signals to the vehicle are changed.