LEMON Manuals: Even more car manuals for everyone: 1960-2025
Home >> Toyota >> 2012 >> Avalon Base >> Repair and Diagnosis (Single Page) >> Engine Performance >> System >> Engine Control System (Diagnostic Codes (P1604-U0101) & Circuit Tests)) >> SFI System >> Circuit Tests >> Active Control Engine Mount System >> Procedure
April 5, 2026: LEMON Manuals is launched! Read the announcement.

Active Control Engine Mount System: Procedure

  1. CHECK VACUUM HOSES 
    1. If the hose is damaged, replace the vacuum hose assembly.
      Fig 1: Checking Vacuum Hoses
      GTY180711Courtesy of © TOYOTA, LICENSE AGREEMENT TMS1002
    2. Check the air and vacuum hoses for looseness, disconnection and blockage.

    NG → REPAIR OR REPLACE VACUUM HOSES 

    OK: Go to next step 

  2. CHECK VACUUM 
    1. Disconnect the vacuum hose from the air cleaner cap.
      Fig 2: Disconnecting Vacuum Hose From Air Cleaner Cap
      GTY155434Courtesy of © TOYOTA, LICENSE AGREEMENT TMS1002
    2. Start the engine.
    3. Check that the disconnected port located on the vacuum tank applies suction to your finger.

      OK

      Vacuum pressure exists.

    4. Reconnect the vacuum hose.

    NG → CHECK AND REPLACE VACUUM SOURCE AND HOSES 

    OK: Go to next step 

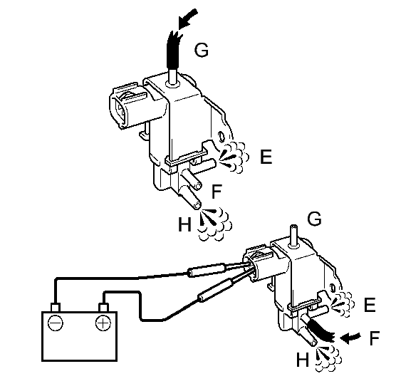
  3. INSPECT DUTY VACUUM SWITCHING VALVE (OPERATION) 
    1. Remove the VSV for ACM.
      Fig 3: Inspecting Duty Vacuum Switching Valve Operation
      GTY144632Courtesy of © TOYOTA, LICENSE AGREEMENT TMS1002
    2. Check operation of the VSV for ACM when positive battery voltage is applied to the terminals of the VSV for the ACM connector.

      Positive battery voltage is not applied

      The air from pipe G is flowing out through pipes E and H.

      Positive battery voltage is applied

      The air from pipe F is flowing out through pipes E and H.

    3. Reinstall the VSV for ACM.

    NG → REPLACE DUTY VACUUM SWITCHING VALVE 

    OK: Go to next step 

  4. INSPECT DUTY VACUUM SWITCHING VALVE (RESISTANCE) 
    1. Disconnect the VSV for ACM connector.
      Fig 4: Identifying ACM Connector
      GTY190847Courtesy of © TOYOTA, LICENSE AGREEMENT TMS1002
    2. Measure the resistance between terminals 1 and 2.

      Standard resistance

      19 to 21 Ω at 20°C (68°F)

    3. Reconnect the VSV for ACM connector.

    NG → REPLACE DUTY VACUUM SWITCHING VALVE 

    OK: Go to next step 

  5. INSPECT FRONT ENGINE MOUNTING INSULATOR ASSEMBLY 
    1. Disconnect the vacuum hose from the front engine mount insulator.
      Fig 5: Inspecting Front Engine Mounting Insulator Assembly
      GTY121574Courtesy of © TOYOTA, LICENSE AGREEMENT TMS1002
    2. Using a vacuum pump, apply vacuum of 80 kPa (600 mmHg, 24 in.Hg) and wait for 1 minute.
    3. Check that there is no change in the needle movement of the vacuum pump gauge.
    4. Check that there is no fluid leakage caused by a break in the diaphragm.

      OK

      Vacuum pressure leak.

    5. Reconnect the vacuum hose.

    NG → REPLACE FRONT ENGINE MOUNTING INSULATOR ASSEMBLY 

    OK: Go to next step 

  6. CHECK HARNESS AND CONNECTOR (VSV FOR ACM - ECM) 
    1. Check the wire harness between the VSV for ACM connector and the ECM connector.
      1. Disconnect the VSV for ACM connector.
      2. Disconnect the ECM connector.
      3. Measure the resistance between the wire harness side connectors.

        Standard resistance (Check for open)

        Tester Connection Condition Specified Condition
        B15-2 - B50-42 (ACM) Always Below 1 Ω

        Standard resistance (Check for open)

        Tester Connection Condition Specified Condition
        B15-2 or B50-42 (ACM) - Body ground Always 10 kΩ or higher
      4. Reconnect the ECM connector.
      5. Reconnect the VSV for ACM connector.

    NG → REPAIR OR REPLACE HARNESS OR CONNECTOR (VSV FOR ACM - ECM) 

    OK: Go to next step 

  7. INSPECT DUTY VACUUM SWITCHING VALVE (VOLTAGE) 
    1. Disconnect the VSV for ACM connector.
      Fig 6: Identifying B15 VSV Connector Terminals
      GTY192666Courtesy of © TOYOTA, LICENSE AGREEMENT TMS1002
    2. Turn the ignition switch to ON.
    3. Measure the voltage between the terminals.

      Standard voltage

      Tester Connection Switch Condition Specified Condition
      B15-1 - Body ground Ignition switch ON 11 to 14 V
    4. Reconnect the VSV for ACM connector.

    NG → See step   8 

    OK → See step   9 

  8. CHECK HARNESS AND CONNECTOR (VSV FOR ACM - ENGINE JUNCTION BLOCK (EFI RELAY)) 
    1. Check the wire harness between the VSV for ACM and the EFI relay.
      1. Disconnect the VSV for ACM connector.
      2. Remove the engine room junction block.
      3. Measure the resistance between the wire harness side connectors.

        Standard resistance (Check for open)

        Tester Connection Condition Specified Condition
        B15-1 - 1D-5 (Engine room relay block) Always Below 1 Ω

        Standard resistance (Check for short)

        Tester Connection Condition Specified Condition
        B15-1 or 1D-5 (Engine room relay block) - Body ground Always 10 kΩ or higher
      4. Reconnect the VSV for ACM connector.
      5. Reinstall the engine room junction block.

    NG → REPAIR OR REPLACE HARNESS OR CONNECTOR 

    OK → See step   9 

  9. REPLACE ECM. Refer to  REMOVAL  .