LEMON Manuals: Even more car manuals for everyone: 1960-2025
Home >> Toyota >> 2012 >> Camry Base >> Repair and Diagnosis >> External Pages >> Different variant/trim >> Section 19 (Engine Control System (Service Information) (2GR-FE)) >> Crankshaft Position Sensor >> Installation >> Installation
April 5, 2026: LEMON Manuals is launched! Read the announcement.

Crankshaft Position Sensor: Installation: Installation

WARNING: This page is about a different variant/trim than selected.
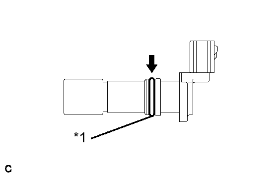
  1. INSTALL CRANK POSITION SENSOR 
    1. Apply a light coat of engine oil to the O-ring on the crank position sensor.
      Fig 1: Locating Crank Position Sensor O-Ring
      GTY250754Courtesy of © TOYOTA, LICENSE AGREEMENT TMS1002
      TEXT IN ILLUSTRATION

      *1 O-ring
    2. Install the crank position sensor with the bolt.

      Torque: 10 N*m (102 kgf*cm, 7 ft.*lbf) 

    3. Connect the crank position sensor connector.
  2. INSTALL COMPRESSOR AND MAGNETIC CLUTCH 
    1. Install the compressor and magnetic clutch. Refer to INSTALLATION .