LEMON Manuals: Even more car manuals for everyone: 1960-2025
Home >> Toyota >> 2012 >> Camry LE >> Repair and Diagnosis (Single Page) >> Body & Frame >> Door Locks >> Smart Key System (For Entry Function) (Diagnostics - Introduction) (Except Hybrid) >> SMART KEY SYSTEM (for Entry Function) >> Operation Check >> Operation Check
April 5, 2026: LEMON Manuals is launched! Read the announcement.

Operation Check

  1. CHECK SMART KEY SYSTEM (for Entry Function) OPERATION 
    NOTE:

    Make sure that the smart key system (for Entry Function) has not been canceled before performing this inspection.

    1. Check the entry unlock function (driver door, front passenger door).
      1. Perform a wireless lock operation to lock the door, touch the unlock sensor built into the backside of the front door outside handle assembly of the driver door while carrying the electrical key transmitter sub-assembly and check that the door unlocks.

        HINT: 

        To perform a wireless lock operation, press the lock button of the electrical key transmitter sub-assembly while standing near the front door outside handle assembly.

      2. Inspect the entry unlock detection area. Hold the electrical key transmitter sub-assembly at the same height as the front door outside handle assembly and approximately 0.7 m (2.30 ft.) from the vehicle as shown in the illustration and check that the LED (red) of the electrical key transmitter sub-assembly blinks.
        Fig 1: Checking Electrical Key Antenna (Driver Door)
        GTY321776Courtesy of © TOYOTA, LICENSE AGREEMENT TMS1002
        TEXT IN ILLUSTRATION

        *a 0.7 to 1 m (2.30 to 3.28 ft.)
      3. With the system in unlock standby mode, grasp the front door outside handle assembly and check that the door unlocks.

        HINT: 

        • The system is in unlock standby mode when the electrical key transmitter sub-assembly is in the detection area and the key ID code sent by the electrical key transmitter sub-assembly matches the key ID code stored by the certification ECU (smart key ECU assembly).
        • Communication may not be possible if the electrical key transmitter sub-assembly is within 0.2 m (0.656 ft.) of the front door outside handle assembly.
        • Inspect the front passenger door using the same procedure.
      4. Check the unlock response sensitivity. With the system in unlock standby mode, touch the area shown in the illustration and check that the door unlocks.
        NOTE:

        If the sensor is touched too quickly or released too slowly, the sensor may not react and the door will not unlock.

        Fig 2: Identifying Unlock Sensor (Backside)
        GTY318306Courtesy of © TOYOTA, LICENSE AGREEMENT TMS1002
        TEXT IN ILLUSTRATION

        *a Unlock Sensor (Backside)
    2. Check the entry lock function (driver door, front passenger door).
      NOTE:

      If the electrical key transmitter sub-assembly is in the vehicle but outside the detection area (on the instrument panel, in the glove box, on the floor) and a door lock operation is performed, the key lock-in prevention function will not operate and the electrical key transmitter sub-assembly will be locked inside the vehicle.

      1. With the door closed and unlocked, touch the lock sensor of the front door outside handle assembly of the driver door while carrying the electrical key transmitter sub-assembly and check that the door locks.
        Fig 3: Identifying Lock Sensor
        GTY321211Courtesy of © TOYOTA, LICENSE AGREEMENT TMS1002
        TEXT IN ILLUSTRATION

        *a Lock Sensor
      2. Inspect the entry lock operating range. Hold the electrical key transmitter sub-assembly approximately 0.1 m (0.328 ft.) below the bottom edge of the door glass and approximately 0.3 m (0.984 ft.) from the vehicle as shown in the illustration, touch the lock sensor and check that the door locks.
        Fig 4: Checking Electrical Key Antenna (Driver Door)
        GTY321776Courtesy of © TOYOTA, LICENSE AGREEMENT TMS1002
        TEXT IN ILLUSTRATION

        *a Approximately 0.3 m (0.984 ft.)

        HINT: 

        • As communication may not be possible if the electrical key transmitter sub-assembly is within 0.2 m (0.656 ft.) of the front door outside handle assembly, the door may not lock if the lock sensor is touched with the same hand that is carrying the electrical key transmitter sub-assembly, etc.
        • If the key lock-in prevention function buzzer sounds, electric waves from the indoor electrical key antenna may be leaking from the vehicle.
        • Inspect the front passenger door using the same procedure.
        • The door lock operation cannot be performed more than 3 times consecutively.
    3. Check the entry luggage compartment open function.
      1. Perform a wireless lock operation to lock the doors, operate the unlock switch of the luggage door opening switch assembly while carrying the electrical key transmitter sub-assembly and check that the door unlocks.
        Fig 5: Checking Entry Luggage Compartment Open Function
        GTY317672Courtesy of © TOYOTA, LICENSE AGREEMENT TMS1002
        TEXT IN ILLUSTRATION

        *1 Unlock Switch
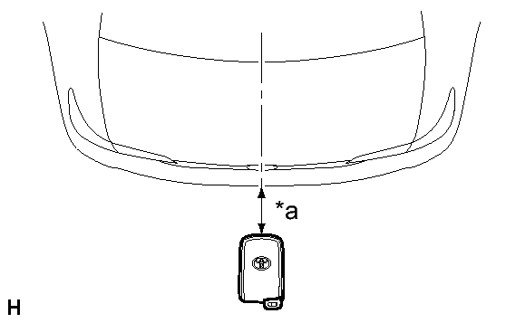
        *a Approximately 0.7 m (2.30 ft.)
      2. Inspect the entry luggage compartment door unlock operating range. While standing at the rear of the vehicle, hold the electrical key transmitter sub-assembly so that it is facing the direction shown in the above illustration at the same height as the luggage door opening switch assembly and approximately 0.7 m (2.30 ft.) from the vehicle, press the unlock switch of the luggage door opening switch assembly and check that the luggage compartment door open.
    4. Check the key lock-in prevention function (in luggage compartment).
      1. Place the electrical key transmitter sub-assembly in the luggage compartment with all doors locked. Check that: 1) closing the luggage compartment door triggers the key wireless buzzer (which lasts approximately 2 seconds), and 2) pressing the luggage door opening switch assembly opens the luggage compartment door.
      2. Inspect the key lock-in prevention detection area. Pay attention to the direction of the electrical key transmitter sub-assembly shown in the illustration. When the electrical key transmitter sub-assembly is in either of the 2 locations in the illustration, check that: 1) closing the luggage compartment door sounds the wireless buzzer, and 2) pressing the luggage door opening switch assembly opens the luggage compartment door.
        Fig 6: Checking No. 3 Indoor Electrical Key Antenna (Inside Luggage Compartment)
        GTY321468Courtesy of © TOYOTA, LICENSE AGREEMENT TMS1002
        TEXT IN ILLUSTRATION

        *a Inspection Point
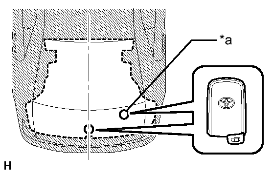
      3. Inspect the key lock-in prevention detection area and the door control receiver for wave leaks. Hold the electrical key transmitter sub-assembly at the same height as the lower edge of the luggage compartment door aligning it with the center of the rear of the vehicle. Pay attention to the direction and position of the electrical key transmitter sub-assembly shown in the illustration.
        Fig 7: Identifying Distance Of Electrical Key Transmitter From Rear Bumper
        GTY323272Courtesy of © TOYOTA, LICENSE AGREEMENT TMS1002

        HINT: 

        • When the electrical key transmitter sub-assembly is over 0.1 m (0.328 ft.) from the rear bumper, the wireless buzzer does not sound.
        • If the warning buzzer sounds, the No. 3 indoor electrical key antenna (inside luggage compartment) may have a wave leak.
        TEXT IN ILLUSTRATION

        *a 0.1 m or more (0.328 ft. or more)
    5. Check the push start function.
      1. With the engine switch off, move the shift lever to P, depress the brake pedal while carrying the electrical key transmitter sub-assembly. Then, press the engine switch and check that the engine starts.
      2. With the brake pedal released and the engine switch off, press the engine switch while carrying the electrical key transmitter sub-assembly and check that the power source mode changes as follows: off → on (ACC) → on (IG) → off.
      3. Stop the vehicle, press the engine switch and check that the power source mode changes to off (the engine stops and all electrical systems are off).
      4. Inspect the push start operating range (front). Place the electrical key transmitter sub-assembly on the front seat at either inspection point so that it is facing in the direction shown in the illustration and check that the engine can be started.
        Fig 8: Checking No. 1 Indoor Electrical Key Antenna (Front Floor)
        GTY317080Courtesy of © TOYOTA, LICENSE AGREEMENT TMS1002
        TEXT IN ILLUSTRATION

        *a Inspection Point
        NOTE:
        • Even if the electrical key transmitter sub-assembly is within the vehicle interior detection area, the electrical key transmitter sub-assembly may not be properly detected if it is on the instrument panel, in the glove box or on the floor.
        • Communication may not be possible if the electrical key transmitter sub-assembly is within 0.2 m (0.656 ft.) of the shift lever.

        HINT: 

        Perform the inspection for both inspection points.

      5. Inspect the push start operating range (rear). Place the electrical key transmitter sub-assembly on the rear seat at either inspection point so that it is facing in the direction shown in the illustration and check that the engine can be started.
        Fig 9: Checking No. 2 Indoor Electrical Key Antenna (Rear Floor)
        GTY319260Courtesy of © TOYOTA, LICENSE AGREEMENT TMS1002
        TEXT IN ILLUSTRATION

        *a Inspection Point
        NOTE:
        • Even if the electrical key transmitter sub-assembly is within the vehicle interior detection area, the electrical key transmitter sub-assembly may not be properly detected if it is on the instrument panel, in the glove box or on the floor.
        • Communication may not be possible if the electrical key transmitter sub-assembly is within 0.2 m (0.656 ft.) of the center of the rear seat cushion.

        HINT: 

        Perform the inspection for both inspection points.

    6. Check the key lock-in prevention function (vehicle interior).
      NOTE:

      In order to prevent the electrical key transmitter sub-assembly from being locked inside the vehicle, perform this inspection with the window of a door open.

      1. Turn the engine switch off.
      2. Place the electrical key transmitter sub-assembly on a front or rear seat.
      3. Close the door, making sure the doors are unlocked.
      4. Touch a door lock sensor and check that the doors do not lock and the key lock-in prevention function buzzer (external) sounds for approximately 5 seconds.
    7. Check transmitter battery saving function
      1. Press the unlock button of the electrical key transmitter sub-assembly twice while pressing the lock button and check that the electrical key transmitter sub-assembly LED blinks 4 times and enters transmitter battery saving mode.
      2. Check that the smart key system (for Entry Function) does not operate while in transmitter battery saving mode.

        HINT: 

        To cancel transmitter battery saving mode, press a button of the electrical key transmitter sub-assembly.

    8. Check the entry cancel function.
      1. Cancel the smart key system and check that all the functions of the smart key system (for Entry Function) no longer operate.

        HINT: 

        • Refer to the following procedures to cancel the smart key system (for Entry Function). Refer to CUSTOMIZE PARAMETERS .
        • While the smart key system is canceled, it is possible to lock and unlock the doors with the wireless operation, and the start system can be operated by holding the electrical key transmitter sub-assembly near the engine switch.
      2. While the key cancel function (entry cancel function) is on, check that all functions of the smart key system cannot be operated.
    9. Check the answer-back function (hazard warning light flashing and buzzer sounding).
      Entry Operation Wireless Buzzer Hazard Warning Light
      Entry Door Lock Sounds once Flashes once
      Entry Door Unlock Sounds twice Flashes twice
      Entry Luggage Compartment Open Does not sound Does not flash
  2. KEY DIAGNOSTIC MODE (Using Techstream) 

    HINT: 

    • With key diagnostic mode, it is possible to check if the electrical key transmitter sub-assembly is operating properly with the selected electrical key antenna and within the selected detection area by the sounding of the wireless buzzer.
    • If the buzzer sounds with [CH1] displayed but not with [CH2], the electrical key transmitter sub-assembly cannot be detected by channel 2 due to a malfunction, such as wave interference.
    1. Enter the following menus: Body Electrical / Smart Key / Utility / Communication Check (Key Diag Mode).
    2. Inspect the appropriate item according to the following table.
      Tester Display Inspection Item
      [CH1/CH2] Overhead + Driver Side*1 Front door outside handle assembly (electrical key antenna) [for Driver Side]
      [CH1] Overhead + Driver Side*1
      [CH2] Overhead + Driver Side*1
      [CH1/CH2] Overhead + Passenger Side*2 Front door outside handle assembly (electrical key antenna) [for Front Passenger Side]
      [CH1] Overhead + Passenger Side*2
      [CH2] Overhead + Passenger Side*2
      [CH1/CH2] Overhead + Front Room*3 No. 1 indoor electrical key antenna assembly (front floor)
      [CH1] Overhead + Front Room*3
      [CH2] Overhead + Front Room*3
      [CH1/CH2] Overhead + Rear Room*4 No. 2 indoor electrical key antenna assembly (rear floor)
      [CH1] Overhead + Rear Room*4
      [CH2] Overhead + Rear Room*4
      [CH1/CH2] Overhead + Luggage*5 Electrical key antenna (outside luggage)
      [CH1] Overhead + Luggage*5
      [CH2] Overhead + Luggage*5
      [CH1/CH2] Luggage + Luggage (inside)*6 No. 2 indoor electrical key antenna assembly (inside luggage compartment)
      [CH1] Luggage + Luggage (inside)*6
      [CH2] Luggage + Luggage (inside)*6
      [CH1/CH2] Luggage + Luggage*7 Electrical key antenna (outside luggage)
      [CH1] Luggage + Luggage*7
      [CH2] Luggage + Luggage*7
      [CH1/CH2] Immobiliser Amp*8 Amplifier (engine switch)
      [CH1] Immobiliser Amp*8
      [CH2] Immobiliser Amp*8
      • [CH1]: Channel 1 is set.
      • [CH2]: Channel 2 is set.
      • [CH1/CH2]: Channel 1 and 2 switches automatically at a specific interval*.

        *: If the electrical key transmitter sub-assembly is detected with either channel 1 or 2, the buzzer sounds.

    3. Bring the electrical key transmitter sub-assembly near the selected electrical key antenna and check that the wireless door lock buzzer sounds.

      HINT: 

      The buzzer sounds in short, repeated beeps for all items except "Overhead + Rear Room"*4. For "Overhead + Rear Room"*4, the buzzer sounds in one long, continuous beep.

      1. *1: Front door outside handle assembly (for Driver Side)
        Fig 10: Checking Electrical Key Antenna (Driver Door)
        GTY321776Courtesy of © TOYOTA, LICENSE AGREEMENT TMS1002
        TEXT IN ILLUSTRATION

        *a Approximately 0.3 m (0.984 ft.)

        HINT: 

        • Hold the electrical key transmitter sub-assembly at the same height as the front door outside handle assembly in the position shown in the illustration.
        • *2: Perform the same inspection for the front passenger side.
    4. *3: No. 1 indoor electrical key antenna assembly (front floor)
      Fig 11: Checking No. 1 Indoor Electrical Key Antenna (Front Floor)
      GTY317080Courtesy of © TOYOTA, LICENSE AGREEMENT TMS1002
      TEXT IN ILLUSTRATION

      *a Inspection Point

      HINT: 

      Place the electrical key transmitter sub-assembly on the front seat cushion of the driver seat or front passenger seat.

    5. *4: No. 2 indoor electrical key antenna assembly (rear floor)
      Fig 12: Checking No. 2 Indoor Electrical Key Antenna (Rear Floor)
      GTY319260Courtesy of © TOYOTA, LICENSE AGREEMENT TMS1002
      TEXT IN ILLUSTRATION

      *a Inspection Point

      HINT: 

      Place the electrical key transmitter sub-assembly on the rear seat cushion.

    6. *5, *7: Electrical key antenna (outside luggage)
      Fig 13: Checking Electrical Key Antenna (Outside Luggage)
      GTY320887Courtesy of © TOYOTA, LICENSE AGREEMENT TMS1002
      TEXT IN ILLUSTRATION

      *a Approximately 0.7 m (2.30 ft.)

      HINT: 

      Hold the electrical key transmitter sub-assembly at the same height as the rear bumper upper surface and align it with the center of the rear of the vehicle, as shown in the illustration.

    7. *6: No. 3 indoor electrical key antenna (inside luggage compartment)
      Fig 14: Checking No. 3 Indoor Electrical Key Antenna (Inside Luggage Compartment)
      GTY321468Courtesy of © TOYOTA, LICENSE AGREEMENT TMS1002
      TEXT IN ILLUSTRATION

      *a Inspection Point

      HINT: 

      Place the electrical key transmitter sub-assembly in the luggage compartment. Even if the electrical key transmitter sub-assembly is in the luggage compartment, the buzzer may not sound.

    8. *8: Amplifier (engine switch)
      Fig 15: Checking Push Start Function
      GTY314743Courtesy of © TOYOTA, LICENSE AGREEMENT TMS1002

      HINT: 

      While facing the logo side of the electrical transmitter sub-assembly towards the engine switch, hold the transmitter near the engine switch.