LEMON Manuals: Even more car manuals for everyone: 1960-2025
Home >> Toyota >> 2012 >> Corolla Base, Standard Trans >> Repair and Diagnosis >> Restraints >> Restraints Control Systems >> Supplemental Restraint System (Service Information) >> Steering Pad >> Disposal >> Disposal
April 5, 2026: LEMON Manuals is launched! Read the announcement.

Steering Pad: Disposal: Disposal

WARNING:

Before performing pre-disposal deployment of any SRS component, review and closely follow all applicable environmental and hazardous material regulations. Pre-disposal deployment may be considered hazardous material treatment.

  1. PRECAUTION 
    WARNING:
    • An airbag or pretensioner may be activated by static electricity. To prevent this, be sure to touch a metal surface with your bare hands to discharge static electricity before performing this procedure.
    • Never dispose of a steering pad with an undeployed airbag.
    • The airbag produces an exploding sound when it is deployed, so perform the operation outdoors and where it will not create a nuisance to nearby residents.
    • When deploying the airbag, always use the specified SST (SRS Airbag Deployment Tool). Perform the operation in a place away from electrical noise.
    • When deploying the airbag, perform the operation at least 10 m (33 ft.) away from the steering pad.
    • The steering pad becomes extremely hot when the airbag is deployed, so do not touch it for at least 30 minutes after deployment.
    • Use gloves and safety glasses when handling a steering pad with a deployed airbag.
    • Do not apply water etc. to a steering pad with a deployed airbag.
    • Always wash your hands with water after completing the operation.

    HINT: 

    When scrapping a vehicle equipped with an SRS or disposing of the steering pad, be sure to deploy the airbag first in accordance with the procedure described below. If any abnormality occurs with the airbag deployment, contact the Service Dept. of TOYOTA MOTOR SALES, U.S.A., INC.

  2. DISPOSE OF STEERING PAD (WHEN INSTALLED IN VEHICLE) 
    NOTE:
    • When disposing of the steering pad, never use the customer's vehicle to deploy the airbag.
    • Be sure to observe the following procedure when deploying the airbag.

    HINT: 

    Prepare a battery as the power source to deploy the airbag.

    1. Check the function of SST.
      Fig 1: Checking Function Of SST
      GTY128433Courtesy of © TOYOTA, LICENSE AGREEMENT TMS1002
      • SST: 09082-00700 
      WARNING:

      When deploying the airbag, always use the specified SST:

      SRS Airbag Deployment Tool

      1. Connect SST to the battery.

        Connect the red clip of SST to the positive (+) battery terminal and the black clip of SST to the negative (-) battery terminal.

        Fig 2: Connecting SST To Battery
        GTY102953Courtesy of © TOYOTA, LICENSE AGREEMENT TMS1002
      2. Check the function of SST.

        Press the SST activation switch and check that the LED of the SST activation switch comes on.

        Fig 3: Pressing SST Activation Switch
        GTY101115Courtesy of © TOYOTA, LICENSE AGREEMENT TMS1002
        WARNING:
        • Do not connect the yellow SST connector to the airbag.
        • If the LED comes on when the activation switch is not being pressed, SST is malfunctioning. Replace SST.
      3. Disconnect SST from the battery.
    2. Refer to Precaution. Refer to PRECAUTION .
    3. Disconnect the cable from the negative (-) battery terminal.
      WARNING:

      Wait at least 90 seconds after disconnecting the cable from the negative (-) battery terminal to disable the SRS system.

    4. Remove the lower steering column cover. Refer to REMOVAL - Step 5 .
    5. Install the steering wheel assembly. Refer to INSTALLATION - Step 9 .
    6. Install the steering pad See step  1.
    7. Install SST.
      WARNING:

      Check that there is no looseness in the steering wheel assembly and steering pad.

      1. Disconnect the yellow airbag connector from the spiral cable.
        NOTE:

        When disconnecting any airbag connector, take care not to damage the airbag wire harness.

      2. Connect the SST connector to the airbag connector of the spiral cable.
        Fig 4: Connecting SST Connector To Airbag Connector Of Spiral Cable
        GTY204313Courtesy of © TOYOTA, LICENSE AGREEMENT TMS1002
        • SST: 09082-00700 
        • SST: 09082-00780 
        NOTE:

        To avoid damaging the SST connector or wire harness, do not lock the secondary lock of the twin lock.

      3. Move SST at least 10 m (33 ft.) away from the front side window of the vehicle.
        Fig 5: Connecting SST To Battery
        GTY107085Courtesy of © TOYOTA, LICENSE AGREEMENT TMS1002
      4. Maintaining sufficient clearance for the SST wire harness in the front side window, close all doors and windows of the vehicle.
        NOTE:

        Take care not to damage the SST wire harness.

      5. Connect the red clip of SST to the positive (+) battery terminal and the black clip of SST to the negative (-) battery terminal.
    8. Deploy the airbag.
      1. Check that no one is inside the vehicle or within a 10 m (33 ft.) radius of the vehicle.
      2. Press the SST activation switch to deploy the airbag.
        WARNING:
        • Before deployment, make sure that no one is near the vehicle.
        • The steering pad becomes extremely hot when the airbag is deployed, so do not touch it for at least 30 minutes after deployment.
        • Use gloves and safety glasses when handling a steering pad with a deployed airbag.
        • Do not apply water etc. to a steering pad with a deployed airbag.
        • Always wash your hands with water after completing the operation.

        HINT: 

        The airbag is deployed as the LED of the SST activation switch comes on.

  3. DISPOSE OF STEERING PAD (WHEN NOT INSTALLED IN VEHICLE) 
    NOTE:

    Be sure to follow the following procedure when deploying the airbag.

    HINT: 

    Prepare a battery as the power source to deploy the airbag.

    1. Check the function of SST.
      Fig 6: Checking Function Of SST
      GTY128433Courtesy of © TOYOTA, LICENSE AGREEMENT TMS1002
      • SST: 09082-00700 
      WARNING:

      When deploying the airbag, always use the specified SST:

      SRS Airbag Deployment Tool

      1. Connect SST to the battery.

        Connect the red clip of SST to the positive (+) battery terminal and the black clip of SST to the negative (-) battery terminal.

        Fig 7: Connecting SST To Battery
        GTY242889Courtesy of © TOYOTA, LICENSE AGREEMENT TMS1002
      2. Check the function of SST.

        Press the SST activation switch and check that the LED of the SST activation switch comes on.

        Fig 8: Pressing SST Activation Switch
        GTY101115Courtesy of © TOYOTA, LICENSE AGREEMENT TMS1002
        WARNING:
        • Do not connect the yellow SST connector to the airbag.
        • If the LED comes on when the activation switch is not being pressed, SST is malfunctioning. Replace SST.
      3. Disconnect SST from the battery.
    2. Remove the steering pad. Refer to REMOVAL .
      WARNING:
      • When removing the steering pad, before the work is started, leave the vehicle at least 90 seconds after turning the ignition switch off and disconnecting the cable from the negative (-) battery terminal.
      • When storing the steering pad, keep the airbag deployment side facing upward.
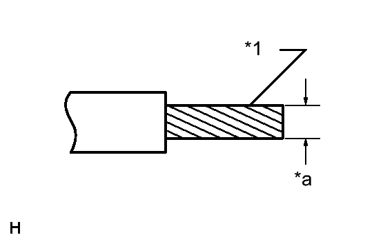
    3. Using braided wire, tie down the steering pad to an unneeded wheel.
      Fig 9: Identifying Stripped Wire Section
      GTY322138Courtesy of © TOYOTA, LICENSE AGREEMENT TMS1002
      TEXT IN ILLUSTRATION

      *1 Stripped Wire Section
      *a Wire Diameter

      Wire

      Stripped wire section

      1.25 mm2 (0.0019 in.2 ) or more

      WARNING:

      If the wire is too thin or an alternative object is used to tie down the steering pad, it may be snapped by the shock when the airbag is deployed. Always use a wire for vehicle use with an area of at least 1.25 mm2 (0.0019 in.2 ).

      HINT: 

      To calculate the area of the stripped wire section:

      Area = 3.14 x (Diameter)2 / 4

    4. for Type A:
      1. Install the 2 bolts with washers into the 2 bolt holes on the steering pad.
        Fig 10: Identifying Bolt Measurements
        GTY320272Courtesy of © TOYOTA, LICENSE AGREEMENT TMS1002
        TEXT IN ILLUSTRATION

        *A w/o Steering Pad Switch
        *B w/ Steering Pad Switch

        Bolt

        35.0 mm (1.38 in.)

        6.0 mm (0.236 in.)

        Pitch 

        1.0 mm (0.0394 in.)

        NOTE:
        • Tighten the bolts by hand until they become difficult to turn.
        • Do not tighten the bolts excessively.
      2. After connecting the following SST to each other, connect them to the steering pad.
        Fig 11: Connecting SST To Steering Pad
        GTY315657Courtesy of © TOYOTA, LICENSE AGREEMENT TMS1002
        TEXT IN ILLUSTRATION

        *A w/o Steering Pad Switch
        *B w/ Steering Pad Switch
        • SST: 09082-00802 
          • 09082-10801
          • 09082-30801
      3. Wind 3 wires at least 2 times each around each of the bolts installed on the left and right sides of the steering pad.
        Fig 12: Winding Wires Around Bolts
        GTY322959Courtesy of © TOYOTA, LICENSE AGREEMENT TMS1002
        TEXT IN ILLUSTRATION

        *A w/o Steering Pad Switch *B w/ Steering Pad Switch
        *a 2 times or more - -
        WARNING:
        • Tightly wind the wires around the bolts so that there is no slack.
        • Make sure that the wires are tight. If there is slack in the wires, the steering pad may break loose due to the shock when the airbag is deployed.
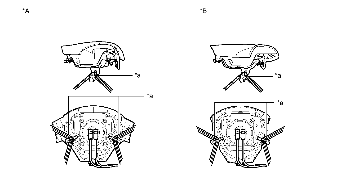
      4. Face the airbag deployment side of the steering pad upward on top of an unneeded tire and wheel set. Separately tie the left and right sides of the steering pad to the wheel through the hub nut holes. Position the SST connector so that it hangs downward through the hub hole of the wheel.
        Fig 13: Identifying Face Of Airbag Deployment Side Of Steering Pad Upward
        GTY202360Courtesy of © TOYOTA, LICENSE AGREEMENT TMS1002
        WARNING:
        • Make sure that the wires are tight. If there is slack in the wires, the steering pad may break loose due to the shock when the airbag is deployed.
        • Always tie down the steering pad with the airbag deployment side facing upward.
        NOTE:

        The wheel will be damaged by the airbag deployment, so use an unneeded wheel.

      5. Connect the SST connector.
        Fig 14: Connecting SST Connector
        GTY170155Courtesy of © TOYOTA, LICENSE AGREEMENT TMS1002
        • SST: 09082-00700 
        WARNING:

        Place the wheel on level ground.

        NOTE:

        To avoid damaging the SST connector and wire harness, do not lock the secondary lock of the twin lock. Also, secure some slack for the SST wire harness inside the disc wheel.

    5. for Type B:
      1. After connecting the 2 parts of the following SST to each other, connect them to the steering pad.
        Fig 15: Connecting 2 Parts Of SST To Steering Pad
        GTY291719Courtesy of © TOYOTA, LICENSE AGREEMENT TMS1002
        • SST: 09082-00802 
          • 09082-10801
          • 09082-30801
      2. Wind 3 wires at least 2 times around the horn button contact plate.
        Fig 16: Winding 3 Wires At Least Twice Around Horn Button Contact Plate
        GTY319125Courtesy of © TOYOTA, LICENSE AGREEMENT TMS1002
        TEXT IN ILLUSTRATION

        *a 2 times or more
        WARNING:
        • Tightly wind the wires around the horn button contact plate without any slack.
        • Make sure that the wires are tight. If there is slack in the wires, the steering pad may break loose when the airbag is deployed.
      3. Face the airbag deployment side of the steering pad upward on top of an unneeded tire and wheel set. Separately tie the left and right sides of the steering pad to the wheel through the hub nut holes. Position the SST connector so that it hangs downward through the hub hole of the wheel.
        Fig 17: Identifying Airbag And SST Connected To Tire And Wheel
        GTY290089Courtesy of © TOYOTA, LICENSE AGREEMENT TMS1002
        WARNING:
        • Make sure that the wires are tight. If there is slack in the wires, the steering pad may break loose when the airbag is deployed.
        • Always tie down the steering pad with the airbag deployment side facing upward.
        NOTE:

        The wheel will be damaged by the airbag deployment, so use an unneeded wheel.

      4. Connect the SST connector.
        Fig 18: Identifying SST Connector To Airbag
        GTY290715Courtesy of © TOYOTA, LICENSE AGREEMENT TMS1002
        • SST: 09082-00700 
        WARNING:

        Place the wheel on level ground.

        NOTE:

        To avoid damaging the SST connector and wire harness, do not lock the secondary lock of the twin lock. Also, secure some slack for the SST wire harness inside the disc wheel.

    6. Move SST at least 10 m (33 ft.) away from the airbag tied down to the wheel.
      Fig 19: Identifying SST Distance From Disc Wheel
      GTY320208Courtesy of © TOYOTA, LICENSE AGREEMENT TMS1002
      TEXT IN ILLUSTRATION

      *a 10 m (33 ft.) or more
    7. Cover the steering pad (using a cardboard box).
      Fig 20: Identifying Cardboard Box Dimensions
      GTY316321Courtesy of © TOYOTA, LICENSE AGREEMENT TMS1002
      TEXT IN ILLUSTRATION

      *1 Weight
      1. Cover the steering pad with the cardboard box.
      2. Place weights on the cardboard box in 4 places totalling at least 190 N (19 kg, 42.7 lb).

        Minimum cardboard box size

        Must exceed the following dimensions

        460 mm (1.51 ft.)

        650 mm (2.13 ft.)

        NOTE:
        • When dimension Y of the cardboard box exceeds the diameter of the wheel and tire which the steering pad is tied to, X should be the following size.

          X = 460 mm (1.51 ft.) + width of tire

        • If a cardboard box which is smaller than the specified size is used, the cardboard box may be broken by the shock from the airbag deployment.
    8. Cover the steering pad (using tires).
      1. Place at least 3 tires without wheels onto the wheel and tire which the steering pad is tied to.
        Fig 21: Covering Steering Pad (Using Tires)
        GTY315978Courtesy of © TOYOTA, LICENSE AGREEMENT TMS1002
        TEXT IN ILLUSTRATION

        *1 Tires (3 or more)
        *a Inner Diameter
        *b Width
      2. Place the wheel and tire on top of them.

        Minimum tire size

        Must exceed the following dimensions

        Width

        185 mm (7.28 in.)

        Inner diameter

        360 mm (1.18 ft.)

        WARNING:

        Do not use tires with wheels except for on the top and bottom.

        NOTE:
        • The tires may be damaged by the airbag deployment, so use only unneeded tires.
        • Do not place the SST connector under the tire because it could be damaged.
      3. Tie the tires together with the 2 wires.
        Fig 22: Identifying Tires Tied Together With Wires
        GTY290927Courtesy of © TOYOTA, LICENSE AGREEMENT TMS1002
        WARNING:

        Make sure that the wires are tight. Looseness in the wires results in the tires breaking loose due to the shock when the airbag is deployed.

    9. Deploy the airbag.
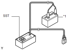
      1. Connect the red clip of SST to the positive (+) battery terminal and the black clip of SST to the negative (-) battery terminal.
        Fig 23: Connecting SST Clip To Battery Terminal
        GTY320163Courtesy of © TOYOTA, LICENSE AGREEMENT TMS1002
        TEXT IN ILLUSTRATION

        *A Using a Cardboard Box
        *B Using Tires
        *1 Battery
        *2 Steering Pad
        *a 10 m (33 ft.) or more
      2. Check that no one is within a 10 m (33 ft.) radius of the wheel which the steering pad is tied to.
      3. Press the SST activation switch to deploy the airbag.
        WARNING:

        When deploying the airbag, make sure that no one is near the tire.

        HINT: 

        The airbag is deployed as the LED of the SST activation switch comes on.

    10. Dispose of the steering pad.
      WARNING:
      • The steering pad becomes extremely hot when the airbag is deployed, so do not touch it for at least 30 minutes after deployment.
      • Use gloves and safety glasses when handling a steering pad with a deployed airbag.
      • Do not apply water etc. to a steering pad with a deployed airbag.
      • Always wash your hands with water after completing the operation.
      1. Remove the steering pad from the wheel.
      2. Place the steering pad in a plastic bag, tie it tightly and dispose of it according to local regulations.