LEMON Manuals: Even more car manuals for everyone: 1960-2025
Home >> Toyota >> 2012 >> FJ Cruiser 4WD, Part Time T/Case Control >> Repair and Diagnosis (Single Page) >> Accessories & Equipment >> Wiper/Washer Systems >> Wiper System And Washer System (Diagnostics & Circuit Tests) >> Wiper And Washer System >> System Diagram >> System Diagram
April 5, 2026: LEMON Manuals is launched! Read the announcement.

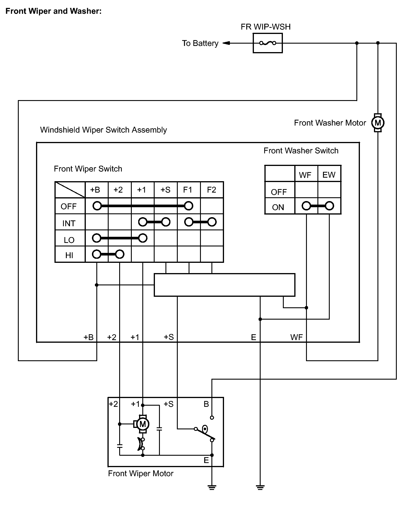
System Diagram

Fig 1: Front Wiper & Washer System Circuit Diagram
GTY316725Courtesy of © TOYOTA, LICENSE AGREEMENT TMS1002
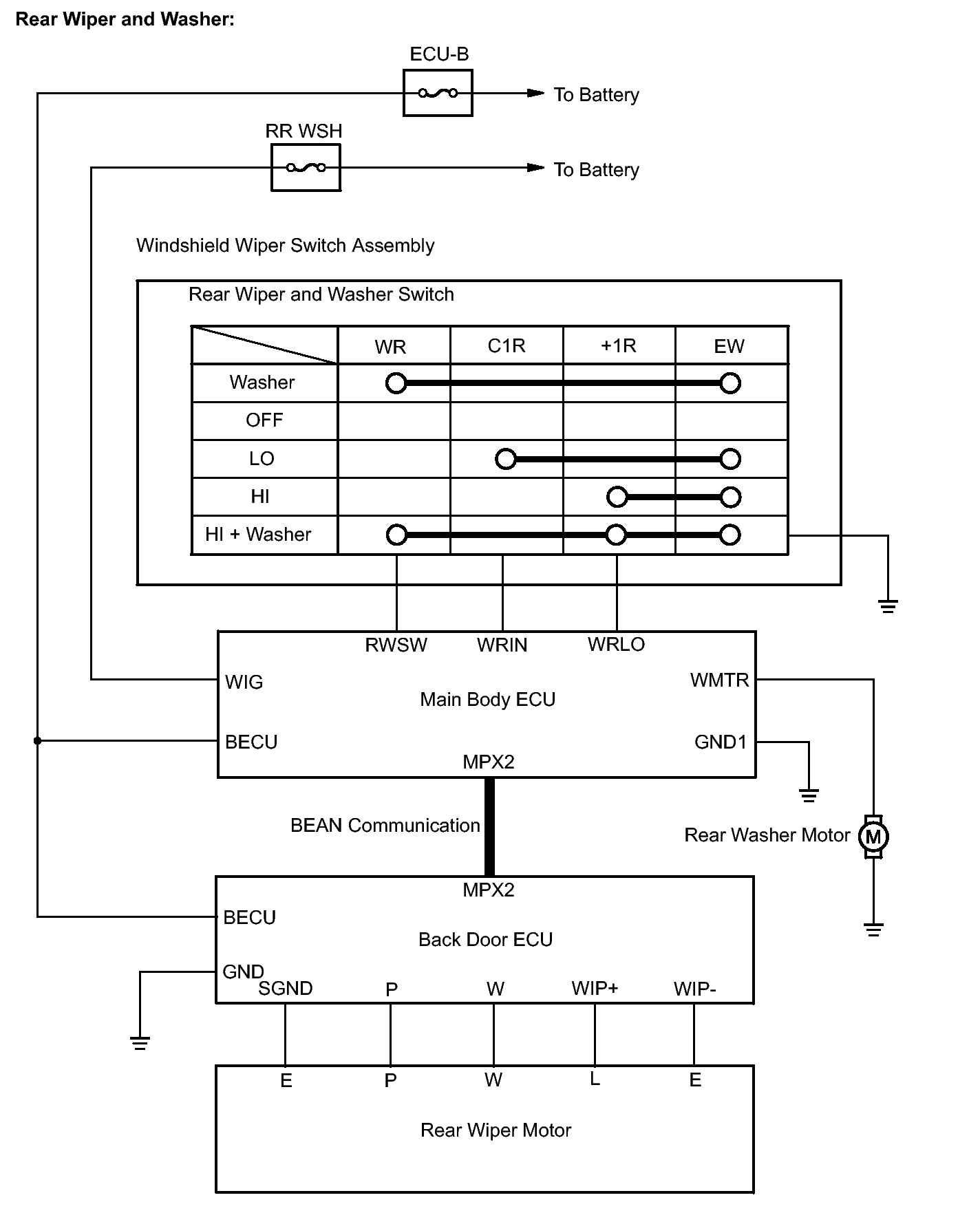
Fig 2: Rear Wiper & Washer System Circuit Diagram
GTY175084Courtesy of © TOYOTA, LICENSE AGREEMENT TMS1002
INPUT AND OUTPUT SIGNALS OF EACH ECU:

Transmitting ECU
(Transmitter)
Receiving ECU Signals Communication
Main body ECU Back door ECU
  • Rear wiper and washer operation signal
BEAN