LEMON Manuals: Even more car manuals for everyone: 1960-2025
Home >> Toyota >> 2012 >> FJ Cruiser 4WD, Part Time T/Case Control >> Repair and Diagnosis >> External Pages >> Different car >> Section 50 (Engine Control System (Service Information)) >> Air Fuel Ratio Sensor >> Installation >> Installation
April 5, 2026: LEMON Manuals is launched! Read the announcement.

Air Fuel Ratio Sensor: Installation: Installation

WARNING: This page is about a different car, the 2012 Lexus GX 460. However, it is still accessible from the selected car via links, so may be relevant.
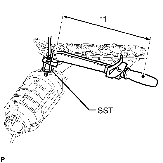
  1. INSTALL AIR FUEL RATIO SENSOR (for Bank 2 Sensor 1) 
    1. Temporarily install the air fuel ratio sensor to the exhaust manifold RH by hand.
    2. Using SST, tighten the air fuel ratio sensor.
      Fig 1: Identifying SST & Air Fuel Ratio Sensor RH (Bank 2 Sensor 1)
      GTY277235Courtesy of © TOYOTA, LICENSE AGREEMENT TMS1002
      • SST: 09224-00010 

      without SST 

      Torque: 44 N*m (449 kgf*cm, 32 ft.*lbf) 

      with SST 

      Torque: 40 N*m (408 kgf*cm, 30 ft.*lbf) 

      TEXT IN ILLUSTRATION

      *1 Fulcrum Length

      HINT: 

      • Use a torque wrench with a fulcrum length of 30 cm (11.8 in.). When using a torque wrench with a fulcrum length that is not 30 cm (11.8 in.), calculate the torque specification for the torque wrench and SST based on the "without SST" torque specification. Refer to PRECAUTION .
      • Make sure SST and the wrench are connected in a straight line.
  2. INSTALL AIR FUEL RATIO SENSOR (for Bank 1 Sensor 1) 
    1. Temporarily install the air fuel ratio sensor to the exhaust manifold LH by hand.
    2. Using SST, tighten the air fuel ratio sensor.
      Fig 2: Identifying SST & Air Fuel Ratio Sensor LH (Bank 1 Sensor 1)
      GTY270075Courtesy of © TOYOTA, LICENSE AGREEMENT TMS1002
      • SST: 09224-00010 

      without SST 

      Torque: 44 N*m (449 kgf*cm, 32 ft.*lbf) 

      with SST 

      Torque: 40 N*m (408 kgf*cm, 30 ft.*lbf) 

      TEXT IN ILLUSTRATION

      *1 Fulcrum Length

      HINT: 

      • Use a torque wrench with a fulcrum length of 30 cm (11.8 in.). When using a torque wrench with a fulcrum length that is not 30 cm (11.8 in.), calculate the torque specification for the torque wrench and SST based on the "without SST" torque specification. Refer to PRECAUTION .
      • Make sure SST and the wrench are connected in a straight line.
  3. INSTALL EXHAUST MANIFOLD ASSEMBLY 
    1. Install the exhaust manifold. Refer to INSTALLATION .
  4. INSPECT FOR EXHAUST GAS LEAK  . Refer to INSTALLATION - Step 17