LEMON Manuals: Even more car manuals for everyone: 1960-2025
Home >> Toyota >> 2012 >> Highlander Limited, AWD >> Repair and Diagnosis (Single Page) >> Accessories & Equipment >> Warning Systems >> Rear View Monitor System (W/O Navigation System) (Diagnostics & Circuit Tests) (Except Hybrid) >> REAR VIEW MONITOR SYSTEM (w/o Navigation System) >> Circuit Tests >> Display Signal Circuit between Clock Assembly and Television Camera Assembly >> Procedure
April 5, 2026: LEMON Manuals is launched! Read the announcement.

Display Signal Circuit between Clock Assembly and Television Camera Assembly: Procedure

  1. CHECK HARNESS AND CONNECTOR (CLOCK ASSEMBLY - TELEVISION CAMERA ASSEMBLY) 
    1. Disconnect the E11 clock assembly.
    2. Disconnect the T16 television camera assembly.
    3. Measure the resistance according to the value(s) in the table below.

      Standard Resistance

      Tester Connection Condition Specified Condition
      T16-2 (CV+) - E11-14 (V+) Always Below 1 Ω
      T16-3 (CGND) - E11-4 (CGND) Always Below 1 Ω
      T16-4 (CB+) - E11-12 (CA+) Always Below 1 Ω
      T16-1 (CV-) - E11-15 (V-) Always Below 1 Ω
      T16-2 (CV+) - Body ground Always 10 kΩ or higher
      T16-3 (CGND) - Body ground Always 10 kΩ or higher
      T16-4 (CB+) - Body ground Always 10 kΩ or higher
      T16-1 (CV-) - Body ground Always 10 kΩ or higher

    NG → REPAIR OR REPLACE HARNESS OR CONNECTOR 

    OK: Go to next step 

  2. INSPECT CLOCK ASSEMBLY 
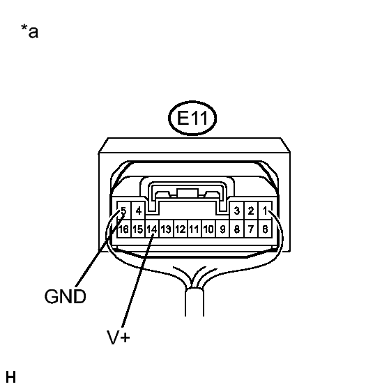
    1. Reconnect the E11 clock assembly.
      Fig 1: Identifying E11 Clock Assembly Connector Terminal Identification
      GTY300676Courtesy of © TOYOTA, LICENSE AGREEMENT TMS1002
      TEXT IN ILLUSTRATION

      *a Component with harness connected
      (Clock Assembly)
    2. Measure the voltage according to the value(s) in the table below.

      Standard Voltage

      Tester Connection Condition Specified Condition
      E11-12 (CA+) - E11-4 (CGND) Ignition switch ON
      Shift lever in R
      Approx. 6 V

    NG → See step   5 

    OK: Go to next step 

  3. INSPECT TELEVISION CAMERA ASSEMBLY 
    1. Reconnect the T16 television camera assembly.
    2. Check that the E11 connectors are connected to the clock assembly.
      Fig 2: Identifying E11 Clock Assembly Connector Terminal Identification
      GTY300672Courtesy of © TOYOTA, LICENSE AGREEMENT TMS1002
      TEXT IN ILLUSTRATION

      *a Component with harness connected
      (Clock Assembly)
    3. Check the waveform of the television camera assembly using an oscilloscope.
      Fig 3: Identifying Waveform
      GTY299606Courtesy of © TOYOTA, LICENSE AGREEMENT TMS1002

      HINT: 

      A waterproof connector is used for the rear television camera assembly. Therefore, inspect the waveform at the navigation receiver assembly with the connector connected.

      OK

      Waveform is similar to that shown in the illustration.

      Item Content
      Terminal No. (Symbol) E11-14 (V+) - E11-5 (GND)
      Tool Setting 200 mV/DIV., 50 μsec./DIV.
      Condition Ignition switch ON, shift lever in R

      HINT: 

      The video waveform changes according to the image sent by the television camera assembly.

      TEXT IN ILLUSTRATION

      *a Waveform 1 (camera lens not covered, displaying an image)
      *b Waveform 2 (camera lens covered, blacking out the screen)
      *c Synchronization Signal
      *d Video Waveform

    NG → See step   6 

    OK → See step   4 

  4. PROCEED TO NEXT SUSPECTED AREA SHOWN IN PROBLEM SYMPTOMS TABLE. Refer to  PROBLEM SYMPTOMS TABLE  
  5. REPLACE CLOCK ASSEMBLY. Refer to  REMOVAL 
  6. REPLACE TELEVISION CAMERA ASSEMBLY. Refer to  REMOVAL