LEMON Manuals: Even more car manuals for everyone: 1960-2025
Home >> Toyota >> 2012 >> Matrix AWD L4-2.4L (2AZ-FE) >> Repair and Diagnosis >> Powertrain Management >> Ignition System >> Spark Plug >> Service and Repair >> Installation
April 5, 2026: LEMON Manuals is launched! Read the announcement.

Installation





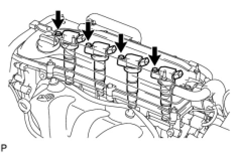
2AZ-FE ENGINE CONTROL: IGNITION COIL AND SPARK PLUG: INSTALLATION

1. INSTALL SPARK PLUG

(a) Install the 4 spark plugs.





Torque : 19 Nm (194 kgf-cm, 14 ft-lbf)

2. INSTALL IGNITION COIL ASSEMBLY

(a) Install the 4 ignition coils with the 4 bolts.





Torque : 9.0 Nm (92 kgf-cm, 80 in-lbf)

(b) Connect the 4 ignition coil connectors.





3. INSTALL NO. 1 ENGINE COVER SUB-ASSEMBLY Installation