LEMON Manuals: Even more car manuals for everyone: 1960-2025
Home >> Toyota >> 2012 >> Matrix Base, Automatic Trans >> Repair and Diagnosis (Single Page) >> Electrical >> Charging Systems >> Charging System (2ZR-FE) (Service Information) >> Generator >> Reassembly >> Reassembly
April 5, 2026: LEMON Manuals is launched! Read the announcement.

Charging System (2ZR-FE) (Service Information): Generator: Reassembly: Reassembly

  1. INSTALL GENERATOR DRIVE END FRAME BEARING 
    1. Using SST and a press, press in a new generator drive end frame bearing.
      Fig 1: Installing Generator Drive End Frame Bearing Using SST
      GTY292690Courtesy of © TOYOTA, LICENSE AGREEMENT TMS1002
      • SST: 09950-60010 
        • 09951-00470
      • SST: 09950-70010 
        • 09951-07100
    2. Fit the tabs of the bearing retainer plate into the cutouts on the generator drive end frame to install the bearing retainer plate.
      Fig 2: Identifying Retainer Plate Into Cutouts On Drive End Frame
      GTY166810Courtesy of © TOYOTA, LICENSE AGREEMENT TMS1002
    3. Install the 4 screws.

      Torque: 2.3 N*m (23 kgf*cm, 20 in.*lbf) 

  2. INSTALL GENERATOR ROTOR ASSEMBLY 
    1. Place the drive end frame on the clutch pulley.
    2. Install the generator rotor assembly to the generator drive end frame.
      Fig 3: Locating Generator Rotor Assembly
      GTY293738Courtesy of © TOYOTA, LICENSE AGREEMENT TMS1002
  3. INSTALL GENERATOR CLUTCH PULLEY 
    1. Temporarily install the clutch pulley onto the rotor shaft.
    2. Mount the generator drive end frame in a vise tightly.
    3. Confirm SST (A) and (B) shown in the illustration.
      Fig 4: Identifying SST (A) And (B)
      GTY292303Courtesy of © TOYOTA, LICENSE AGREEMENT TMS1002
      • SST: 09820-63021 
    4. Place the rotor shaft end into SST (A).
      Fig 5: Placing Rotor Shaft End Into SST (A)
      GTY291135Courtesy of © TOYOTA, LICENSE AGREEMENT TMS1002
    5. Fit SST (B) to the clutch pulley.
      Fig 6: Fitting SST (B) To Clutch Pulley
      GTY293890Courtesy of © TOYOTA, LICENSE AGREEMENT TMS1002
    6. Tighten the pulley by turning SST (B) in the direction shown in the illustration.
      Fig 7: Tightening Pulley By Turning SST (B)
      GTY291139Courtesy of © TOYOTA, LICENSE AGREEMENT TMS1002

      without SST 

      Torque: 80 N*m (816 kgf*cm, 59 ft.*lbf) 

      with SST 

      Torque: 64 N*m (653 kgf*cm, 47 ft.*lbf) 

      NOTE:
      • The "with SST" torque value is effective when using SST with a fulcrum length of 100 mm (3.94 in.) and a torque wrench with a fulcrum length of 400 mm (1.312 ft.). Refer to PRECAUTION .
      • The "with SST" torque value is effective when SST is parallel to the torque wrench.
      • Check that the drive end frame is secured in the vise tightly.
      • Hold SST (A) tightly during the operation.
    7. Remove SST from the generator assembly.
    8. Check that the clutch pulley rotates smoothly.
    9. Install a new clutch pulley cap to the clutch pulley.
  4. INSTALL GENERATOR COIL ASSEMBLY 
    1. Place the generator washer on the generator rotor.
      Fig 8: Identifying Generator Washer
      GTY237343Courtesy of © TOYOTA, LICENSE AGREEMENT TMS1002
    2. Using SST and a press, slowly press in the generator coil assembly to the drive end frame.
      Fig 9: Pressing Generator Coil Assembly
      GTY161174Courtesy of © TOYOTA, LICENSE AGREEMENT TMS1002
      • SST: 09612-70100 
        • 09612-07240
    3. Install the 4 bolts.
      Fig 10: Locating Generator Coil Assembly Bolts
      GTY163988Courtesy of © TOYOTA, LICENSE AGREEMENT TMS1002

      Torque: 5.8 N*m (59 kgf*cm, 51 in.*lbf) 

  5. INSTALL GENERATOR BRUSH HOLDER ASSEMBLY 
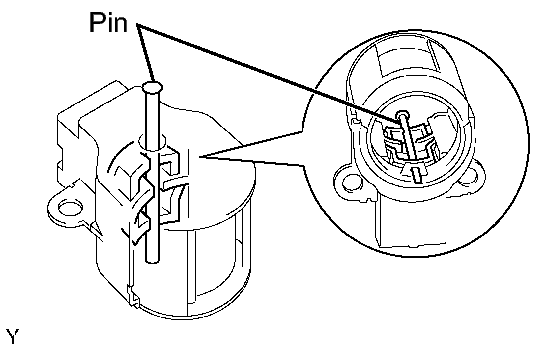
    1. While pushing the 2 brushes into the generator brush holder assembly, insert a 1.0 mm (0.0394 in.) pin into the generator brush holder hole.
      Fig 11: Inserting Pin Into Brush Holder Hole
      GTY219593Courtesy of © TOYOTA, LICENSE AGREEMENT TMS1002
    2. Install the brush holder assembly to the generator coil with the 2 screws.
      Fig 12: Locating Generator Coil With Screws
      GTY164267Courtesy of © TOYOTA, LICENSE AGREEMENT TMS1002

      Torque: 1.8 N*m (18 kgf*cm, 16 in.*lbf) 

    3. Pull out the pin from the generator brush holder assembly.
      Fig 13: Pulling Pin From Generator Brush Holder
      GTY162517Courtesy of © TOYOTA, LICENSE AGREEMENT TMS1002
  6. INSTALL GENERATOR TERMINAL INSULATOR 
    1. Install the terminal insulator to the generator coil.
      Fig 14: Locating Terminal Insulator Onto Generator Coil
      GTY161175Courtesy of © TOYOTA, LICENSE AGREEMENT TMS1002
      NOTE:

      Be careful to the installation direction of the terminal insulator as shown in the illustration.

  7. INSTALL GENERATOR REAR END COVER 
    1. Install the generator rear end cover to the generator coil with the 3 nuts.
      Fig 15: Locating Generator Rear End Cover Nuts
      GTY161292Courtesy of © TOYOTA, LICENSE AGREEMENT TMS1002

      Torque: 4.6 N*m (47 kgf*cm, 41 in.*lbf)