LEMON Manuals: Even more car manuals for everyone: 1960-2025
Home >> Toyota >> 2012 >> Matrix Base, Automatic Trans >> Repair and Diagnosis >> External Pages >> Different car >> Section 112 (Air Conditioning System (For Manual A/C) (Diagnostic Codes & Circuit Tests)) >> AIR CONDITIONING SYSTEM (for Manual Air Conditioning System) >> DTCS >> DTC B1423: Pressure Sensor Circuit >> Procedure
April 5, 2026: LEMON Manuals is launched! Read the announcement.

DTC B1423: Pressure Sensor Circuit: Procedure

WARNING: This page is about a different car, the 2011 Toyota Corolla. However, it is still accessible from the selected car via links, so may be relevant.
  1. CHECK HARNESS AND CONNECTOR (POWER SOURCE CIRCUIT) 
    1. Disconnect the connector from the A/C pressure sensor.
      Fig 1: Identifying A16 Connector Terminals (+)
      GTY291756Courtesy of © TOYOTA, LICENSE AGREEMENT TMS1002
    2. Measure the voltage according to the value(s) in the table below.

      Standard Voltage

      Tester Connection Switch Condition Specified Condition
      A16-3 (+) - Body ground Ignition switch ON 4.75 to 5.25 V
      TEXT IN ILLUSTRATION

      *a Front view of wire harness connector
      (to A/C Pressure Sensor)

    NG → See step   5 

    OK: Go to next step 

  2. CHECK HARNESS AND CONNECTOR (GROUND CIRCUIT) 
    1. Measure the resistance according to the value(s) in the table below.
      Fig 2: Identifying A16 Connector Terminals (-)
      GTY293874Courtesy of © TOYOTA, LICENSE AGREEMENT TMS1002

      Standard Resistance

      Tester Connection Condition Specified Condition
      A16-1 (-) - Body ground Always Below 1 Ω
      TEXT IN ILLUSTRATION

      *a Front view of wire harness connector
      (to A/C Pressure Sensor)

    NG → See step   6 

    OK: Go to next step 

  3. INSPECT A/C PRESSURE SENSOR (SENSOR SIGNAL CIRCUIT) 
    1. Reconnect the connector to the A/C pressure sensor.
    2. Remove the A/C amplifier with the connectors still connected.
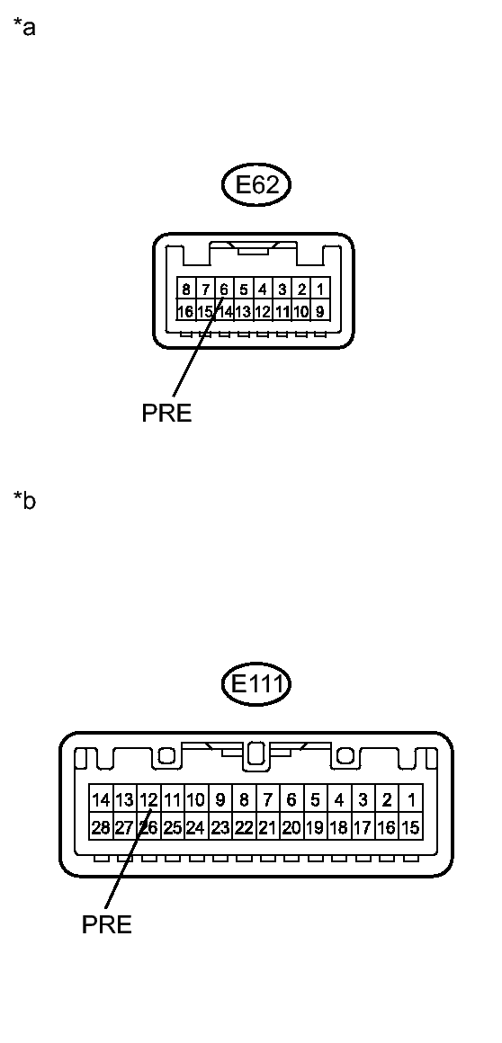
      Fig 3: Identifying E62 & E111 Connector Terminals
      GTY292267Courtesy of © TOYOTA, LICENSE AGREEMENT TMS1002
    3. Measure the voltage according to the value(s) in the table below.

      Standard Voltage

      Tester Connection Condition Specified Condition
      E62-6 (PRE) - Body ground*1 Ignition switch ON
      (A/C: OFF)
      0.7 to 4.8 V
      E111-12 (PRE) - Body ground*2 Ignition switch ON
      (A/C: OFF)
      0.7 to 4.8 V
      • *1: except TMC Made 2AZ-FE
      • *2: for TMC Made and except TMC Made 2ZR-FE

      HINT: 

      If the measured voltage is not within the normal range, there may be a malfunction in the A/C amplifier, A/C pressure sensor, or wire harness. It is also possible that the amount of refrigerant may not be appropriate.

      TEXT IN ILLUSTRATION

      *a Component with wire harness connected
      (A/C Amplifier (except TMC Made 2AZ-FE))
      *b Component with wire harness connected
      (A/C Amplifier (for TMC Made and except TMC Made 2ZR-FE))

    NG → See step   7 

    OK: Go to next step 

  4. INSPECT A/C PRESSURE SENSOR (SENSOR SIGNAL CIRCUIT) 
    1. Measure the voltage when the following conditions are satisfied.
      Item Condition
      Vehicle Doors Fully open
      Temperature Setting MAX COLD
      Blower Speed HI
      A/C Switch ON
      R/F Switch RECIRCULATION
      Interior Temperature 25 to 35°C (77 to 95°F)
      Engine Speed 2000 RPM
      NOTE:
      • If refrigerant pressure on the high pressure line becomes extremely high during the inspection (if the voltage exceeds 4.8 V), the fail-safe function stops compressor operation. Therefore, measure the voltage before the fail-safe function operates.
      • It is necessary to measure the voltage over a period of time (approximately 10 minutes) because the problem symptom may recur after a while.

      HINT: 

      When the outside air temperature is low (below -1.5°C (29.3°F)), the compressor stops due to operation of the ambient temperature sensor and the evaporator temperature sensor to prevent the evaporator from freezing. In this case, perform the inspection in a warm indoor environment.

      1. Measure the voltage according to the value(s) in the table below.
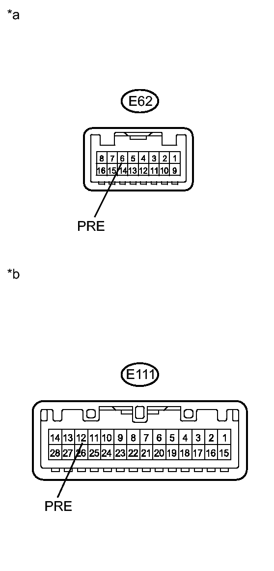
        Fig 4: Identifying E62 & E111 Connector Terminals
        GTY292268Courtesy of © TOYOTA, LICENSE AGREEMENT TMS1002

        Standard Voltage

        Tester Connection Condition Specified Condition
        E62-6 (PRE) - Body ground*1 Ignition switch ON
        (A/C: ON)
        0.7 to 4.8 V
        E111-12 (PRE) - Body ground*2 Ignition switch ON
        (A/C: ON)
        0.7 to 4.8 V
        • *1: except TMC Made 2AZ-FE
        • *2: for TMC Made and except TMC Made 2ZR-FE

        Result

        Result Proceed to
        OK (When troubleshooting according to DTC) A
        OK (When troubleshooting according to Problem Symptoms Table) B
        NG C
        TEXT IN ILLUSTRATION

        *a Component with wire harness connected
        (A/C Amplifier (except TMC Made 2AZ-FE))
        *b Component with wire harness connected
        (A/C Amplifier (for TMC Made and except TMC Made 2ZR-FE))

    C → See step   13 

    B → See step   19 

    A → See step   21 

  5. CHECK HARNESS AND CONNECTOR (A/C AMPLIFIER - A/C PRESSURE SENSOR) 
    1. Disconnect the connector from the A/C amplifier.
    2. Measure the resistance according to the value(s) in the table below.

      Standard Resistance

      Tester Connection Condition Specified Condition
      A16-3 (+) - E62-1 (S5-3)*1 Always Below 1 Ω
      E62-1 (S5-3) - Body ground*1 Always 10 kΩ or higher
      A16-3 (+) - E111-7 (S5-3)*2 Always Below 1 Ω
      E111-7 (S5-3) - Body ground*2 Always 10 kΩ or higher
      • *1: except TMC Made 2AZ-FE
      • *2: for TMC Made and except TMC Made 2ZR-FE

    NG → REPAIR OR REPLACE HARNESS OR CONNECTOR 

    OK → See step   21 

  6. CHECK HARNESS AND CONNECTOR (A/C AMPLIFIER - A/C PRESSURE SENSOR) 
    1. Disconnect the connector from the A/C amplifier.
    2. Measure the resistance according to the value(s) in the table below.

      Standard Resistance

      Tester Connection Condition Specified Condition
      A16-1 (-) - E62-4 (SG-2)*1 Always Below 1 Ω
      E62-4 (SG-2) - Body ground*1 Always 10 kΩ or higher
      A16-1 (-) - E111-10 (SG-2)*2 Always Below 1 Ω
      E111-10 (SG-2) - Body ground*2 Always 10 kΩ or higher
      • *1: except TMC Made 2AZ-FE
      • *2: for TMC Made and except TMC Made 2ZR-FE

    NG → REPAIR OR REPLACE HARNESS OR CONNECTOR 

    OK → See step   21 

  7. CHECK HARNESS AND CONNECTOR (A/C AMPLIFIER - A/C PRESSURE SENSOR) 
    1. Disconnect the connector from the A/C amplifier.
    2. Measure the resistance according to the value(s) in the table below.

      Standard Resistance

      Tester Connection Condition Specified Condition
      A16-2 (PR) - E62-6 (PRE)*1 Always Below 1 Ω
      E62-6 (PRE) - Body ground*1 Always 10 kΩ or higher
      A16-2 (PR) - E111-12 (PRE)*2 Always Below 1 Ω
      E111-12 (PRE) - Body ground*2 Always 10 kΩ or higher
      • *1: except TMC Made 2AZ-FE
      • *2: for TMC Made and except TMC Made 2ZR-FE

    NG → REPAIR OR REPLACE HARNESS OR CONNECTOR 

    OK: Go to next step 

  8. CHECK FOR A/C SYSTEM LEAK 
    1. Install the manifold gauge set.
    2. Recover the refrigerant from the A/C system using a refrigerant recovery unit.
    3. Evacuate the A/C system and check that vacuum can be maintained.

      OK

      Vacuum can be maintained in the A/C system.

      HINT: 

      If vacuum cannot be maintained in the A/C system, there may be a refrigerant leak. In this case, it is necessary to repair or replace the leaking part of the A/C system.

    NG → See step   12 

    OK: Go to next step 

  9. CHARGE REFRIGERANT 
    1. Add an appropriate amount of refrigerant. Refer to REPLACEMENT - Step 2 .

    NEXT: Go to next step 

  10. RECHECK DTC 
    1. Recheck for DTCs when the following conditions are satisfied.
      Item Condition
      Vehicle Doors Fully open
      Temperature Setting MAX COLD
      Blower Speed HI
      A/C Switch ON
      R/F Switch RECIRCULATION
      Interior Temperature 25 to 35°C (77 to 95°F)
      Engine Speed 2000 RPM
      NOTE:

      If refrigerant pressure on the high pressure line is excessive, this DTC will be set. Therefore, it is necessary to measure the voltage over a period of time (approximately 10 minutes) because this DTC may be set after the A/C has been operating for a while.

      HINT: 

      When the outside air temperature is low (below -1.5°C (29.3°F)), the compressor stops due to signals from the ambient temperature sensor and the evaporator temperature sensor to prevent the evaporator from freezing. In this case, perform the inspection in a warm indoor environment.

      Result

      Result Proceed to
      DTC B1423 is output A
      DTC B1423 is not output B
      NOTE:

      If the DTC was set due to an insufficient or excessive amount of refrigerant, the problem may have been solved after performing the previous step. However, the root cause of insufficient refrigerant may be refrigerant leaks. The root cause of excessive refrigerant may be adding refrigerant when the level was insufficient. Therefore, identify and repair any refrigerant leaks as necessary.

    B → END 

    A: Go to next step 

  11. INSPECT A/C PRESSURE SENSOR 
    1. Install the manifold gauge set.
    2. Disconnect the connector from the A/C pressure sensor.
    3. Connect the three 1.5 V dry cell batteries' positive (+) lead to terminal 3, and the negative (-) lead to terminal 1.
    4. Connect the voltmeter's positive (+) lead to terminal 2, and the negative (-) lead to terminal 1.
      Fig 5: Inspecting A16 Connector Terminals & Graph
      GTY290138Courtesy of © TOYOTA, LICENSE AGREEMENT TMS1002
    5. Measure the voltage according to the value(s) in the table below.

      Standard Voltage

      Tester Connection Condition Specified Condition
      A16-2 (PR) - A16-1 (-) Refrigerant pressure:
      0.39 to 3.187 MPa (57 to 463 psi)
      1.0 to 4.8 V
      TEXT IN ILLUSTRATION

      *a Component without harness connected
      (A/C Pressure Sensor)
      *b Voltage (V)
      *c Refrigerant Pressure (MPa (psi))

    NG → See step   20 

    OK → See step   21 

  12. REPAIR A/C SYSTEM LEAK 
    1. Identify the area where refrigerant leaks from. Refer to REPLACEMENT - Step 4 .
    2. Repair the identified area of the A/C system.
    3. Evacuate the A/C system.

    NEXT → See step   22 

  13. INSPECT COOLING FAN SYSTEM 
    1. Check that the cooling fan operates normally.

      HINT: 

    NG → REPAIR COOLING FAN SYSTEM 

    OK: Go to next step 

  14. CHARGE REFRIGERANT 
    1. Use a refrigerant recovery unit to recover refrigerant.
    2. Evacuate the A/C system.
    3. Add an appropriate amount of refrigerant. Refer to REPLACEMENT - Step 2 .

      HINT: 

      If refrigerant is added and the system has not been properly evacuated (insufficient vacuum time), moisture in the air remaining in the system will freeze in the expansion valve, blocking the flow on the high pressure side. Therefore, recover the refrigerant and properly evacuate the system. Add an appropriate amount of refrigerant, and check for DTCs.

    NEXT: Go to next step 

  15. RECHECK DTC 
    1. Recheck for DTCs when the following conditions are satisfied.
      Item Condition
      Vehicle Doors Fully open
      Temperature Setting MAX COLD
      Blower Speed HI
      A/C Switch ON
      R/F Switch RECIRCULATION
      Interior Temperature 25 to 35°C (77 to 95°F)
      Engine Speed 2000 RPM
      NOTE:

      If refrigerant pressure on the high pressure line is excessive, this DTC will be set. Therefore, it is necessary to measure the voltage over a period of time (approximately 10 minutes) because DTC may be set after the A/C has been operating for a while.

      HINT: 

      • When the outside air temperature is low (below -1.5°C (29.3°F)), the compressor stops due to signals from the ambient temperature sensor and the evaporator temperature sensor to prevent the evaporator from freezing. In this case, perform the inspection in a warm indoor environment.
      • If refrigerant is added and the system has not been properly evacuated (insufficient vacuum time), moisture in the air remaining in the system will freeze in the expansion valve, blocking the flow on the high pressure side. Therefore, recover the refrigerant and properly evacuate the system. Add an appropriate amount of refrigerant, and check for DTCs. If the DTC is not output, it indicates that the cooler dryer in the condenser is not able to absorb moisture in the refrigerant. In this case, to complete the repair, it is necessary to replace the cooler dryer.

      Result

      Result Proceed to
      DTC B1423 is output A
      DTC B1423 is not output B

    B → See step   23 

    A: Go to next step 

  16. REPLACE EXPANSION VALVE 
    1. Replace the expansion valve with a new one. Refer to DISASSEMBLY .

      HINT: 

      Replace the expansion valve with a normal one because the expansion valve is either stuck or clogged.

    NEXT: Go to next step 

  17. CHARGE REFRIGERANT 
    1. Add an appropriate amount of refrigerant. Refer to REPLACEMENT - Step 2 .

    NEXT: Go to next step 

  18. RECHECK DTC 
    1. Recheck for DTCs when the following conditions are satisfied.
      Item Condition
      Vehicle Doors Fully open
      Temperature Setting MAX COLD
      Blower Speed HI
      A/C Switch ON
      R/F Switch RECIRCULATION
      Interior Temperature 25 to 35°C (77 to 95°F)
      Engine Speed 2000 RPM
      NOTE:

      If refrigerant pressure on the high pressure line is excessive, this DTC will be set. Therefore, it is necessary to measure the voltage over a period of time (approximately 10 minutes) because this DTC may be set after the A/C has been operating for a while.

      HINT: 

      • When the outside air temperature is low (below -1.5°C (29.3°F)), the compressor stops due to operation of the ambient temperature sensor and the evaporator temperature sensor to prevent the evaporator from freezing. In this case, perform the inspection in a warm indoor environment.
      • If refrigerant pressure is not normal after replacing the expansion valve with a new one, the condenser or pipes may be clogged with dirt, dust or other contaminants. In this case, clean or replace the condenser or pipes.

      Result

      Result Proceed to
      DTC B1423 is not output A
      DTC B1423 is output B

    B → See step   24 

    A → END 

  19. PROCEED TO NEXT SUSPECTED AREA SHOWN IN PROBLEM SYMPTOMS TABLE. Refer to  PROBLEM SYMPTOMS TABLE 
  20. REPLACE A/C PRESSURE SENSOR. Refer to  REMOVAL 
  21. REPLACE AIR CONDITIONING AMPLIFIER. Refer to  REMOVAL 
  22. CHARGE REFRIGERANT. Refer to  REPLACEMENT - Step 2 
  23. REPLACE COOLER DRYER. Refer to  DISASSEMBLY 
  24. REPLACE CONDENSER. Refer to  REMOVAL