LEMON Manuals: Even more car manuals for everyone: 1960-2025
Home >> Toyota >> 2012 >> Matrix Base, Automatic Trans >> Repair and Diagnosis >> External Pages >> Different car >> Section 113 (Air Conditioning System (For Automatic A/C) (Diagnostic Codes & Circuit Tests)) >> AIR CONDITIONING SYSTEM (for Automatic Air Conditioning System) >> DTCS >> DTC B1411/11: Room Temperature Sensor Circuit >> Procedure
April 5, 2026: LEMON Manuals is launched! Read the announcement.

DTC B1411/11: Room Temperature Sensor Circuit: Procedure

WARNING: This page is about a different car, the 2011 Toyota Corolla. However, it is still accessible from the selected car via links, so may be relevant.
  1. READ VALUE USING TECHSTREAM 
    1. Connect the Techstream to the DLC3.
    2. Turn the ignition switch to ON.
    3. Turn the Techstream on.
    4. Enter the following menus: Body / Air Conditioner / Data List.
    5. Check the value(s) by referring to the table below.
      AIR CONDITIONER

      Tester Display Measurement Item/Range Normal Condition Diagnostic Note
      Room Temperature Sensor
      (Room Temp)
      Room temperature sensor / Min.: -6.5°C (20.3°F), Max.: 57.25°C (135.05°F) Actual cabin temperature displayed -

      OK

      The display is as specified in the "Normal Condition" column.

      Result

      Result Proceed to
      NG A
      OK (When troubleshooting according to Problem Symptoms Table) B
      OK (When troubleshooting according to DTC) C

    C → See step   5 

    B → See step   4 

    A: Go to next step 

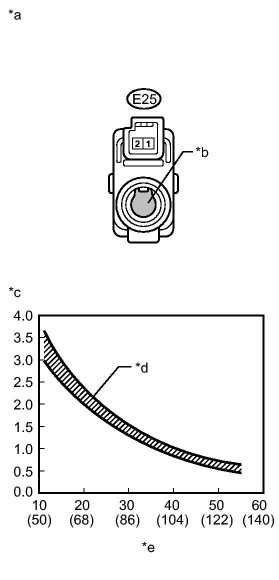
  2. INSPECT ROOM TEMPERATURE SENSOR 
    1. Remove the room temperature sensor.
    2. Disconnect the connector from the room temperature sensor.
      Fig 1: Identifying E25 Connector Terminals & Graph
      GTY290443Courtesy of © TOYOTA, LICENSE AGREEMENT TMS1002
    3. Measure the resistance according to the value(s) in the table below.

      Standard Resistance

      Tester Connection Condition Specified Condition
      E25-1 - E25-2 10°C (50°F) 3.00 to 3.73 kΩ
      E25-1 - E25-2 15°C (59°F) 2.45 to 2.88 kΩ
      E25-1 - E25-2 20°C (68°F) 1.95 to 2.30 kΩ
      E25-1 - E25-2 25°C (77°F) 1.60 to 1.80 kΩ
      E25-1 - E25-2 30°C (86°F) 1.28 to 1.47 kΩ
      E25-1 - E25-2 35°C (95°F) 1.00 to 1.22 kΩ
      E25-1 - E25-2 40°C (104°F) 0.80 to 1.00 kΩ
      E25-1 - E25-2 45°C (113°F) 0.65 to 0.85 kΩ
      E25-1 - E25-2 50°C (122°F) 0.50 to 0.70 kΩ
      E25-1 - E25-2 55°C (131°F) 0.44 to 0.60 kΩ
      E25-1 - E25-2 60°C (140°F) 0.36 to 0.50 kΩ
      NOTE:
      • Hold the sensor only by its connector. Touching the sensor may change the resistance value.
      • When measuring, the sensor temperature must be the same as the ambient temperature.

      HINT: 

      As the temperature increases, the resistance decreases (see the graph. See Fig 1.).

      TEXT IN ILLUSTRATION

      *a Component without harness connected
      (Room Temperature Sensor)
      *b Sensing Portion
      *c Resistance (kΩ)
      *d Allowable Range
      *e Temperature (°C (°F))

    NG → See step   6 

    OK: Go to next step 

  3. CHECK HARNESS AND CONNECTOR (ROOM TEMPERATURE SENSOR - AIR CONDITIONING AMPLIFIER) 
    1. Disconnect the connector from the A/C amplifier.
    2. Measure the resistance according to the value(s) in the table below.

      Standard Resistance

      Tester Connection Condition Specified Condition
      E30-29 (TR) - E25-1 Always Below 1 Ω
      E30-34 (SG-1) - E25-2 Always Below 1 Ω
      E30-29 (TR) - Body ground Always 10 kΩ or higher
      E30-34 (SG-1) - Body ground Always 10 kΩ or higher

    NG → REPAIR OR REPLACE HARNESS OR CONNECTOR 

    OK → See step   5 

  4. PROCEED TO NEXT SUSPECTED AREA SHOWN IN PROBLEM SYMPTOMS TABLE. Refer to  PROBLEM SYMPTOMS TABLE 
  5. REPLACE AIR CONDITIONING AMPLIFIER. Refer to  REMOVAL 
  6. REPLACE ROOM TEMPERATURE SENSOR. Refer to  REMOVAL