LEMON Manuals: Even more car manuals for everyone: 1960-2025
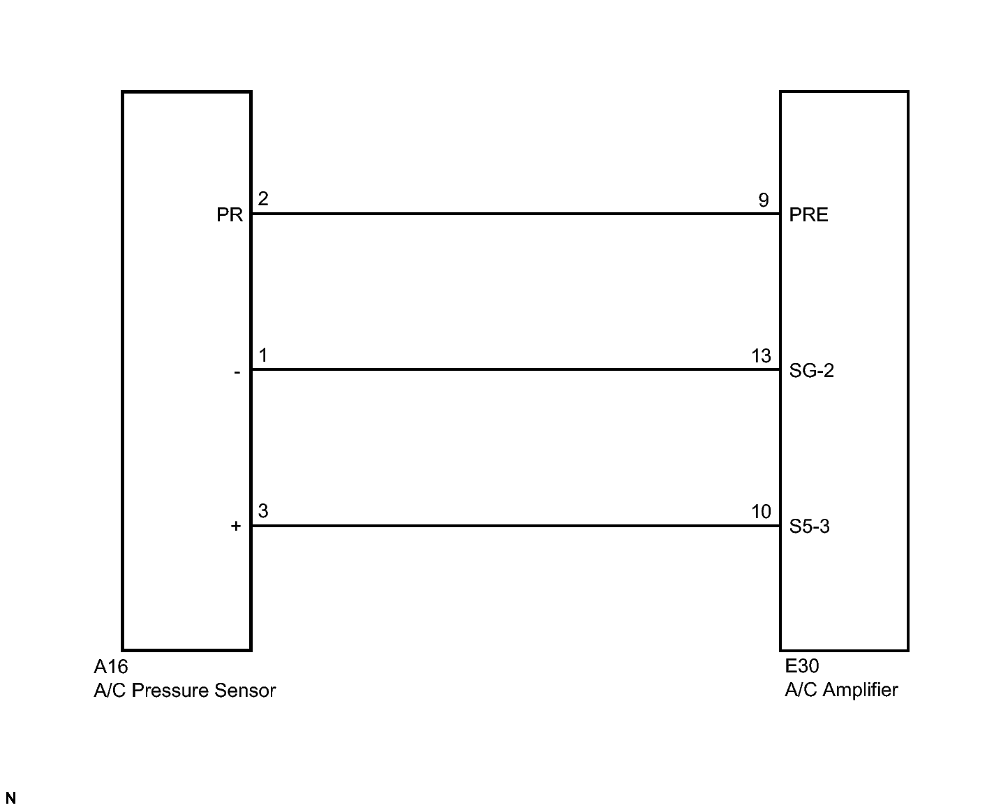
Home >> Toyota >> 2012 >> Matrix Base, Automatic Trans >> Repair and Diagnosis >> External Pages >> Different car >> Section 113 (Air Conditioning System (For Automatic A/C) (Diagnostic Codes & Circuit Tests)) >> AIR CONDITIONING SYSTEM (for Automatic Air Conditioning System) >> DTCS >> DTC B1423/23: Pressure Sensor Circuit >> Wiring Diagram
April 5, 2026: LEMON Manuals is launched! Read the announcement.

DTC B1423/23: Pressure Sensor Circuit: Wiring Diagram

WARNING: This page is about a different car, the 2011 Toyota Corolla. However, it is still accessible from the selected car via links, so may be relevant.
Fig 1: Identifying A/C Pressure Sensor Wiring Diagram
GTY185523Courtesy of © TOYOTA, LICENSE AGREEMENT TMS1002