LEMON Manuals: Even more car manuals for everyone: 1960-2025
Home >> Toyota >> 2012 >> Matrix Base, Automatic Trans >> Repair and Diagnosis >> External Pages >> Different car >> Section 332 (Steering Lock System (Diagnostic Codes & Circuit Tests)) >> Steering Lock System >> DTC B2788: IG2 Signal Malfunction >> Procedure
April 5, 2026: LEMON Manuals is launched! Read the announcement.

DTC B2788: IG2 Signal Malfunction: Procedure

WARNING: This page is about a different car, the 2012 Toyota Corolla. However, it is still accessible from the selected car via links, so may be relevant.
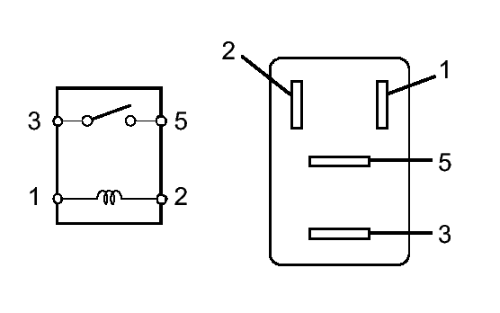
  1. INSPECT NO. 2 IGNITION RELAY (IG2) 
    1. Remove the IG2 relay from the engine room relay block.
      Fig 1: Identifying IG2 Relay Circuit With Terminals
      GTY195428Courtesy of © TOYOTA, LICENSE AGREEMENT TMS1002
    2. Measure the resistance according to the value(s) in the table below.

      Standard Resistance

      Tester Connection Condition Specified Condition
      3 - 5 Always 10 kΩ or higher
      3 - 5 When battery voltage is applied to terminals 1 and 2 Below 1 Ω

    NG → REPLACE NO. 2 IGNITION RELAY (IG2) 

    OK: Go to next step 

  2. CHECK HARNESS AND CONNECTOR (STEERING LOCK ACTUATOR ASSEMBLY - BODY GROUND) 
    1. Disconnect the E39 connector from the steering lock actuator assembly.
      Fig 2: Identifying GND And SGND Of E39 Connector Terminal
      GTY203091Courtesy of © TOYOTA, LICENSE AGREEMENT TMS1002
    2. Measure the resistance according to the value(s) in the table below.

      Standard Resistance

      Tester Connection Condition Specified Condition
      E39-1 (GND) - Body ground Always Below 1 Ω
      E39-2 (SGND) - Body ground Always Below 1 Ω

    NG → REPAIR OR REPLACE HARNESS OR CONNECTOR 

    OK: Go to next step 

  3. CHECK HARNESS AND CONNECTOR (STEERING LOCK ACTUATOR ASSEMBLY - BATTERY) 
    1. Measure the voltage according to the value(s) in the table below.
      Fig 3: Identifying Steering Lock Actuator Assembly Connector Terminals
      GTY203092Courtesy of © TOYOTA, LICENSE AGREEMENT TMS1002

      Standard Voltage

      Tester Connection Switch Condition Specified Condition
      E39-6 (IG2) - E39-1 (GND) Engine switch on (IG) 11 to 14 V
      E39-6 (IG2) - E39-2 (SGND) Engine switch on (IG) 11 to 14 V
    2. Measure the resistance according to the value(s) in the table below.

      Standard Resistance

      Tester Connection Switch Condition Specified Condition
      *E39-6 (IG2) - E39-7 (B) Engine switch off 10 kΩ or higher

      *: This measurement is performed with the engine switch off to check for a short between IG2 and battery.

    NG → REPAIR OR REPLACE HARNESS OR CONNECTOR (STEERING LOCK ACTUATOR ASSEMBLY - BATTERY) 

    OK → See step   4 

  4. REPLACE STEERING LOCK ACTUATOR ASSEMBLY (STEERING LOCK ECU). Refer to  DISASSEMBLY