LEMON Manuals: Even more car manuals for everyone: 1960-2025
Home >> Toyota >> 2012 >> Matrix Base, Automatic Trans >> Repair and Diagnosis >> External Pages >> Different car >> Section 61 (Can Communication System (Diagnostic Codes & Circuit Tests)) >> Can Communication System >> Symptom Tests >> Check CAN Bus Line >> Wiring Diagram
April 5, 2026: LEMON Manuals is launched! Read the announcement.

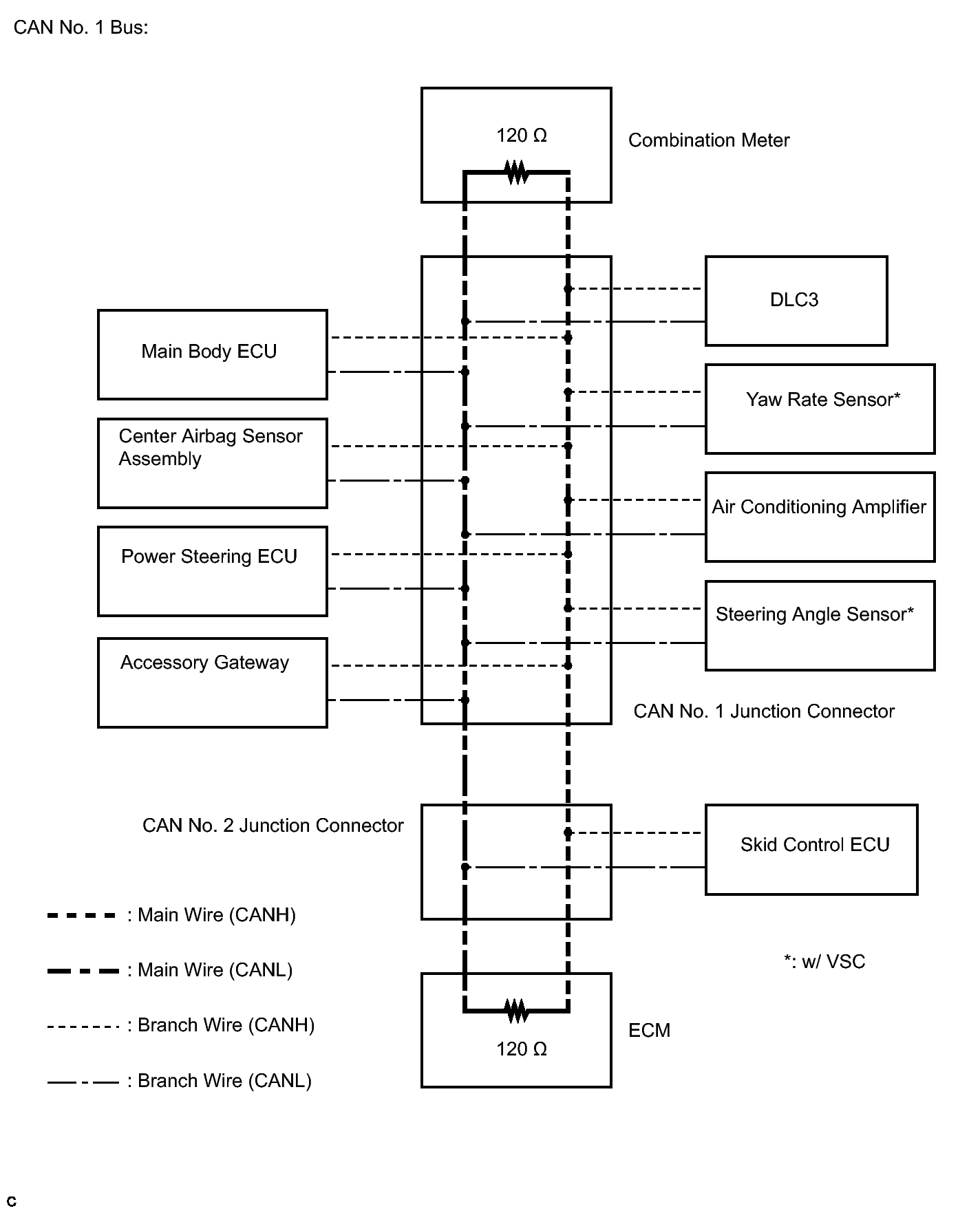
Check CAN Bus Line: Wiring Diagram

WARNING: This page is about a different car, the 2011 Toyota Corolla. However, it is still accessible from the selected car via links, so may be relevant.
Fig 1: CAN No. 2 Junction Connector Wiring Diagram
GTY290450Courtesy of © TOYOTA, LICENSE AGREEMENT TMS1002