LEMON Manuals: Even more car manuals for everyone: 1960-2025
Home >> Toyota >> 2012 >> Matrix Base, Automatic Trans >> Repair and Diagnosis >> External Pages >> Different car >> Section 69 (Cruise Control System (Diagnostic Codes & Circuit Tests)) >> Cruise Control System >> Circuit Tests >> Cruise Control Switch Circuit >> Wiring Diagram
April 5, 2026: LEMON Manuals is launched! Read the announcement.

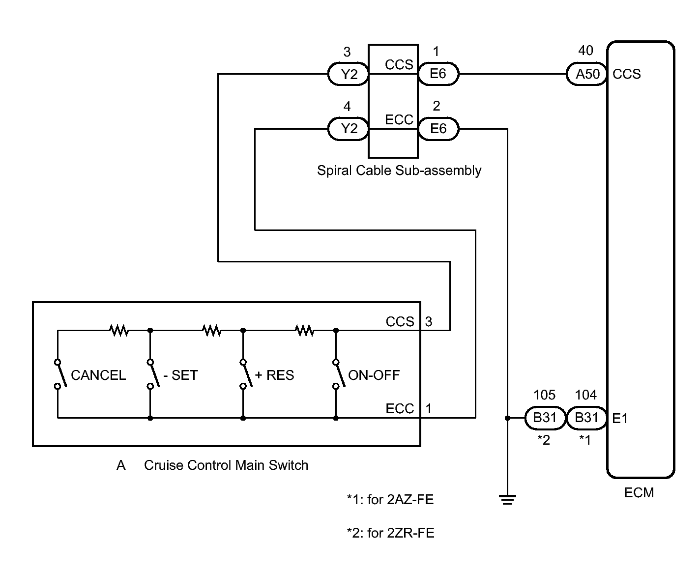
Cruise Control Switch Circuit: Wiring Diagram

WARNING: This page is about a different car, the 2011 Toyota Corolla. However, it is still accessible from the selected car via links, so may be relevant.
Fig 1: Cruise Control Switch Wiring Diagram
GTY292899Courtesy of © TOYOTA, LICENSE AGREEMENT TMS1002