LEMON Manuals: Even more car manuals for everyone: 1960-2025
Home >> Toyota >> 2012 >> Matrix Base, Automatic Trans >> Repair and Diagnosis >> External Pages >> Different variant/trim >> Section 14 (Engine Mechanical (2AZ-FE) (Service Information)) >> Engine Unit >> Reassembly >> Reassembly
April 5, 2026: LEMON Manuals is launched! Read the announcement.

Engine Unit: Reassembly: Reassembly

WARNING: This page is about a different variant/trim than selected.
  1. INSTALL NO. 1 BALANCESHAFT BEARING 
    1. Align the bearing claw with the claw groove, and push in the 8 bearings.
      Fig 1: Removing/Installing No. 1 Balanceshaft Bearings
      GTY232599Courtesy of © TOYOTA, LICENSE AGREEMENT TMS1002
      NOTE:

      Do not apply engine oil to the contact surfaces of the balanceshaft bearing and balanceshaft housing.

    2. Apply a light coat of the engine oil to the bearings.
  2. INSTALL NO. 1 AND NO. 2 BALANCESHAFTS 
    1. Rotate the No. 1 driven gear of the No. 1 balanceshaft in the rotating direction until it hits the stopper.
      Fig 2: Aligning Matchmarks On No. 1 And No. 2 Driven Gears
      GTY182688Courtesy of © TOYOTA, LICENSE AGREEMENT TMS1002
      NOTE:

      Confirm that the matchmarks on the No. 1 and No. 2 driven gears are matched.

    2. Confirm that the alignment marks on the No. 1 and No. 2 balanceshafts are aligned.
      Fig 3: Aligning Marks On No. 1 And No. 2 Balanceshafts
      GTY192400Courtesy of © TOYOTA, LICENSE AGREEMENT TMS1002
    3. Align the alignment marks on the No. 1 and No. 2 balanceshafts as shown in the illustration.
      Fig 4: Aligning Marks On No. 1 And No. 2 Balanceshafts
      GTY194803Courtesy of © TOYOTA, LICENSE AGREEMENT TMS1002
    4. Place the No. 1 and No. 2 balancshafts onto the crankcase.
    5. Apply a light coat of engine oil to the threads and under the heads of the bolts.
    6. Using several steps, uniformly install and tighten the 8 bolts in the sequence shown in the illustration.
      Fig 5: Tightening Bolts In Sequence
      GTY161456Courtesy of © TOYOTA, LICENSE AGREEMENT TMS1002

      Torque: 22 N*m (220 kgf*cm, 16 ft.*lbf) 

    7. Mark the front of the bolts with paint.
      Fig 6: Identifying Paint Mark
      GTY164311Courtesy of © TOYOTA, LICENSE AGREEMENT TMS1002
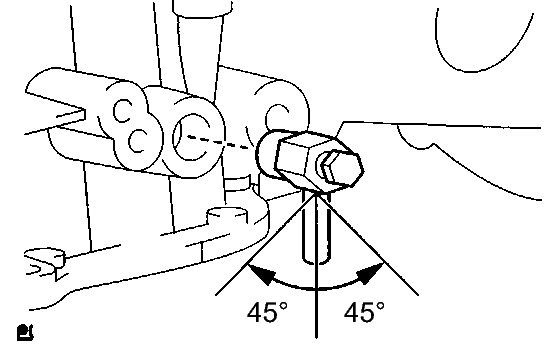
    8. Further tighten the bolts 90° as shown in the illustration.
      Fig 7: Identifying Paint Mark
      GTY161958Courtesy of © TOYOTA, LICENSE AGREEMENT TMS1002
    9. Check that the paint mark is now at a 90° angle to the front.
  3. INSTALL STIFFENING CRANKCASE ASSEMBLY 
    1. Place a new O-ring on the cylinder block as shown in the illustration.
      Fig 8: Identifying O-Ring From Cylinder Block
      GTY176160Courtesy of © TOYOTA, LICENSE AGREEMENT TMS1002
    2. With the No. 1 crank pin of the crankshaft placed at the TDC position, install the No. 1 and No. 2 balanceshafts and align the adjusting holes as shown in the illustration.
      Fig 9: Aligning Adjusting Holes
      GTY162886Courtesy of © TOYOTA, LICENSE AGREEMENT TMS1002
    3. Apply a continuous bead of seal packing (Diameter 2.5 to 3.0 mm (0.098 to 0.118 in.)) as shown in the illustration.
      Fig 10: Applying Bead Of Seal Packing
      GTY165271Courtesy of © TOYOTA, LICENSE AGREEMENT TMS1002

      Seal Packing

      Toyota Genuine Seal Packing Black, Three Bond 1207B or equivalent

      NOTE:
      • Remove any oil from the contact surfaces.
      • Install the crankcase within 3 minutes of applying seal packing.
      • Do not add engine oil for at least 2 hours after installing the crankcase.
    4. Temporarily install the crankcase with the 11 bolts.
      Fig 11: Identifying Crankcase Bolts
      GTY161631Courtesy of © TOYOTA, LICENSE AGREEMENT TMS1002
      Item Bolt Length
      A 125 mm (4.92 in.)
      B 45 mm (1.77 in.)
    5. Uniformly tighten the bolts.
      Fig 12: Uniformly Tighten Bolts
      GTY161526Courtesy of © TOYOTA, LICENSE AGREEMENT TMS1002

      Torque: 24 N*m (245 kgf*cm, 18 ft.*lbf) 

    6. Confirm that the timing marks on the balanceshafts are aligned when the key groove is placed at the TDC position, as shown in the illustration.
      Fig 13: Identifying Timing Marks Of Balance Shafts
      GTY161867Courtesy of © TOYOTA, LICENSE AGREEMENT TMS1002
  4. INSTALL OIL PUMP ASSEMBLY  . Refer to INSTALLATION - Step 1
  5. INSTALL REAR CRANKSHAFT OIL SEAL  See step  1
  6. INSTALL NO. 1 TAPER HEAD SCREW PLUG 
    1. Apply adhesive to 2 or 3 threads of the plug, and install it.
      Fig 14: Identifying No. 1 Taper Head Screw Plug
      GTY161387Courtesy of © TOYOTA, LICENSE AGREEMENT TMS1002

      Torque: 26 N*m (265 kgf*cm, 19 ft.*lbf) 

      Adhesive

      Toyota Genuine Adhesive 1324, Three Bond 1324 or equivalent

      NOTE:
      • Install the plug within 3 minutes of applying adhesive.
      • Do not add coolant for at least an hour after installing the plug.
  7. INSTALL OIL CONTROL VALVE FILTER 
    1. Check that there are no foreign objects on the mesh part of the oil control valve filter.
    2. Using an 8 mm socket hexagon wrench, install a new gasket and the oil control valve filter with the plug.
      Fig 15: Identifying Gasket And Oil Control Valve Filter With Plug
      GTY165065Courtesy of © TOYOTA, LICENSE AGREEMENT TMS1002

      Torque: 30 N*m (306 kgf*cm, 22 ft.*lbf) 

  8. INSTALL CYLINDER BLOCK WATER DRAIN COCK SUB-ASSEMBLY 
    1. Apply adhesive to 2 or 3 threads of the drain cock.
      Fig 16: Applying Adhesive To Threads Of Drain Cock
      GTY163586Courtesy of © TOYOTA, LICENSE AGREEMENT TMS1002

      Adhesive

      Toyota Genuine Adhesive 1344, Three Bond 1344 or equivalent

    2. Install the water drain cock within the range shown in the illustration.
      Fig 17: Identifying Drain Cock
      GTY163102Courtesy of © TOYOTA, LICENSE AGREEMENT TMS1002

      Torque: 25 N*m (255 kgf*cm, 18 ft.*lbf) 

      NOTE:

      Do not rotate the drain cocks more than 1 revolution (360°) after tightening the drain cock to the specified torque.

    3. Install the water drain cock plug to the water drain cock.

      Torque: 13 N*m (130 kgf*cm, 9 ft.*lbf) 

  9. INSTALL CYLINDER BLOCK WATER JACKET SPACER 
    1. Install the water jacket spacer as shown in the illustration.
      Fig 18: Identifying Water Jacket Spacer
      GTY172456Courtesy of © TOYOTA, LICENSE AGREEMENT TMS1002

      HINT: 

      Be sure to face the slope to the front of the engine.

  10. INSTALL CYLINDER HEAD GASKET  See step  1
  11. INSTALL CYLINDER HEAD SUB-ASSEMBLY  See step  2
  12. INSTALL CAMSHAFT TIMING OIL CONTROL VALVE ASSEMBLY 
    1. Apply a light coat of engine oil onto a new O-ring.
    2. Install the O-ring to the camshaft timing oil control valve.
      Fig 19: Identifying O-Ring
      GTY166171Courtesy of © TOYOTA, LICENSE AGREEMENT TMS1002
    3. Install the camshaft timing oil control valve with the bolt.
      Fig 20: Locating Camshaft Timing Oil Control Valve Bolt
      GTY161450Courtesy of © TOYOTA, LICENSE AGREEMENT TMS1002

      Torque: 9.0 N*m (92 kgf*cm, 80 in.*lbf) 

  13. INSTALL CAMSHAFT TIMING GEAR ASSEMBLY  See step  1
  14. INSTALL CAMSHAFT TIMING GEAR OR SPROCKET 
    1. Clamp the camshaft in a vise, then install the camshaft timing sprocket with the bolt.
      Fig 21: Remove/Install Camshaft Timing Sprocket
      GTY191079Courtesy of © TOYOTA, LICENSE AGREEMENT TMS1002

      Torque: 54 N*m (551 kgf*cm, 40 ft.*lbf) 

  15. INSTALL NO. 1 CAMSHAFT BEARING 
    1. Clean the installation surfaces and the inner and outer surfaces of the bearing.
      NOTE:

      Keep the installation surfaces and the back surfaces of the bearing free of engine oil.

    2. Align the claws and install the No. 1 camshaft bearing onto the No. 1 camshaft bearing cap.
      Fig 22: Aligning Claws
      GTY164160Courtesy of © TOYOTA, LICENSE AGREEMENT TMS1002
  16. INSTALL NO. 2 CAMSHAFT BEARING 
    1. Clean the installation surfaces and the inner and outer surfaces of the bearing.
      NOTE:

      Keep the installation surfaces and the back surfaces of the bearing free of engine oil.

    2. Install the No. 2 camshaft bearing onto the cylinder head.
      Fig 23: Identifying No. 2 Camshaft Bearing Installation Position
      GTY191082Courtesy of © TOYOTA, LICENSE AGREEMENT TMS1002
  17. INSTALL CAMSHAFT 
    1. Apply a light coat of engine oil to the journal portion.
    2. Examine the front marks and numbers, and check that the order is as shown in the illustration. Then install the bearing caps into the cylinder head.
      Fig 24: Identifying Bearing Cap Numbers
      GTY191721Courtesy of © TOYOTA, LICENSE AGREEMENT TMS1002
    3. Apply a light coat of engine oil to the threads and under the heads of the bearing cap bolts.
    4. Using several steps, uniformly tighten the 10 bearing cap bolts in the sequence shown in the illustration.
      Fig 25: Tightening Bearing Cap Bolts In Sequence
      GTY191722Courtesy of © TOYOTA, LICENSE AGREEMENT TMS1002

      No. 1 bearing cap 

      Torque: 30 N*m (301 kgf*cm, 22 ft.*lbf) 

      No. 3 bearing cap 

      Torque: 9.0 N*m (92 kgf*cm, 80 in.*lbf) 

  18. INSTALL NO. 2 CAMSHAFT 
    1. Apply a light coat of engine oil to the journal portion of the No. 2 camshaft.
    2. Examine the front marks and numbers, and check that the order is as shown in the illustration. Then install the bearing caps onto the cylinder head.
      Fig 26: Identifying Front Marks And Numbers Order
      GTY189858Courtesy of © TOYOTA, LICENSE AGREEMENT TMS1002
    3. Apply a light coat of engine oil to the threads and under the heads of the bearing cap bolts.
    4. Using several steps, uniformly tighten the 10 bearing cap bolts in the sequence shown in the illustration.
      Fig 27: Tightening Bearing Cap Bolts In Sequence
      GTY190990Courtesy of © TOYOTA, LICENSE AGREEMENT TMS1002

      No. 2 bearing cap 

      Torque: 30 N*m (301 kgf*cm, 22 ft.*lbf) 

      No. 3 bearing cap 

      Torque: 9.0 N*m (92 kgf*cm, 80 in.*lbf) 

  19. INSTALL KEYS 
    1. Install the 2 keys.
      Fig 28: Identifying Pulley Set Keys
      GTY182093Courtesy of © TOYOTA, LICENSE AGREEMENT TMS1002
  20. INSTALL NO. 2 CHAIN SUB-ASSEMBLY  See step  11
  21. INSTALL CRANKSHAFT TIMING GEAR OR SPROCKET  See step  12
  22. INSTALL NO. 1 CHAIN VIBRATION DAMPER  See step  13
  23. INSTALL CHAIN SUB-ASSEMBLY  See step  14
  24. INSTALL CHAIN TENSIONER SLIPPER  See step  15
  25. INSTALL TIMING CHAIN GUIDE  See step  16
  26. INSTALL NO. 1 CRANKSHAFT POSITION SENSOR PLATE  See step  17
  27. INSTALL FRONT CRANKSHAFT OIL SEAL  . Refer to INSTALLATION - Step 12
  28. INSTALL TIMING CHAIN OR BELT COVER SUB-ASSEMBLY  . Refer to INSTALLATION - Step 13
  29. INSTALL NO. 1 CHAIN TENSIONER ASSEMBLY  See step  19
  30. INSTALL V-RIBBED BELT TENSIONER ASSEMBLY  See step  20
  31. INSTALL CRANKSHAFT POSITION SENSOR 
    1. Apply a light coat of engine oil to the O-ring of the sensor.
      Fig 29: Identifying Crankshaft Position Sensor O-Ring
      GTY166187Courtesy of © TOYOTA, LICENSE AGREEMENT TMS1002
    2. Confirm that the wire harness of the sensor is placed as shown in the illustration.
      Fig 30: Identifying Wire Harness
      GTY177638Courtesy of © TOYOTA, LICENSE AGREEMENT TMS1002
    3. Install the sensor with the 2 bolts.
      Fig 31: Locating Sensor And Bolts
      GTY191157Courtesy of © TOYOTA, LICENSE AGREEMENT TMS1002

      Torque: 9.0 N*m (92 kgf*cm, 80 in.*lbf) 

    4. Install the clamp of the crankshaft position sensor onto the water pump.
  32. INSTALL OIL PAN SUB-ASSEMBLY  See step  22
  33. INSTALL OIL PAN DRAIN PLUG 
    1. Install the oil pan drain plug with a new gasket.
      Fig 32: Locating Oil Pan Drain Plug
      GTY161451Courtesy of © TOYOTA, LICENSE AGREEMENT TMS1002

      Torque: 25 N*m (255 kgf*cm, 18 ft.*lbf) 

  34. INSTALL WATER PUMP ASSEMBLY  . Refer to INSTALLATION - Step 1
  35. INSTALL WATER PUMP PULLEY  . Refer to INSTALLATION - Step 2
  36. INSTALL CRANKSHAFT PULLEY  See step  21
  37. INSPECT VALVE CLEARANCE  See step  7
  38. ADJUST VALVE CLEARANCE  See step  8
  39. INSTALL CAMSHAFT POSITION SENSOR 
    1. Apply a light coat of engine oil onto the O-ring of the sensor.
      Fig 33: Identifying Camshaft Position Sensor O-Ring
      GTY161777Courtesy of © TOYOTA, LICENSE AGREEMENT TMS1002
    2. Install the camshaft position sensor with the bolt.
      Fig 34: Locating Camshaft Position Sensor Bolt
      GTY165641Courtesy of © TOYOTA, LICENSE AGREEMENT TMS1002

      Torque: 9.0 N*m (92 kgf*cm, 80 in.*lbf) 

  40. INSTALL CYLINDER HEAD COVER GASKET 
    1. Install the cylinder head cover gasket onto the cylinder head cover.
      Fig 35: Identifying Cylinder Head Cover Gasket
      GTY187453Courtesy of © TOYOTA, LICENSE AGREEMENT TMS1002
  41. INSTALL CYLINDER HEAD COVER SUB-ASSEMBLY 
    1. Remove any old packing material from the contact surface.
    2. Apply seal packing to the 2 locations shown in the illustration.
      Fig 36: Identifying Seal Packing Applying Locations
      GTY161359Courtesy of © TOYOTA, LICENSE AGREEMENT TMS1002

      Seal Packing

      Toyota Genuine Seal Packing Black, Three Bond 1207B or equivalent

      NOTE:
      • Remove any oil from the contact surfaces.
      • Install the cylinder head cover within 3 minutes of applying seal packing.
      • Do not start the engine for at least 2 hours after installing the cylinder head cover.
    3. Install the cylinder head cover with the 8 bolts and 2 nuts.
      Fig 37: Locating Cylinder Head Cover Bolts
      GTY163616Courtesy of © TOYOTA, LICENSE AGREEMENT TMS1002

      Bolt A 

      Torque: 11 N*m (112 kgf*cm, 8 ft.*lbf) 

      Bolt B 

      Torque: 14 N*m (143 kgf*cm, 10 ft.*lbf) 

      Nut 

      Torque: 11 N*m (112 kgf*cm, 8 ft.*lbf) 

  42. INSTALL OIL FILTER UNION 
    1. Using a 12 mm socket hexagon wrench, install the oil filter union.
      Fig 38: Locating Oil Filter Union
      GTY166123Courtesy of © TOYOTA, LICENSE AGREEMENT TMS1002

      Torque: 30 N*m (306 kgf*cm, 22 ft.*lbf) 

  43. INSTALL OIL FILTER SUB-ASSEMBLY  . Refer to REPLACEMENT - Step 3
  44. INSTALL SPARK PLUG  . Refer to INSTALLATION - Step 1
  45. INSTALL VENTILATION VALVE SUB-ASSEMBLY 
    1. Apply adhesive to the threads of the ventilation valve.
      Fig 39: Applying Adhesive To Threads Of Ventilation Valve
      GTY161853Courtesy of © TOYOTA, LICENSE AGREEMENT TMS1002

      Adhesive

      Toyota Genuine Adhesive 1324, Three Bond 1324 or equivalent

    2. Using a 22 mm deep socket wrench, install the ventilation valve onto the cylinder head cover.
      Fig 40: Locating Ventilation Valve
      GTY167096Courtesy of © TOYOTA, LICENSE AGREEMENT TMS1002

      Torque: 19 N*m (194 kgf*cm, 14 ft.*lbf) 

  46. INSTALL OIL FILLER CAP GASKET 
    1. Install the oil filler cap gasket onto the oil filler cap.
      Fig 41: Locating Oil Filler Cap Gasket
      GTY161447Courtesy of © TOYOTA, LICENSE AGREEMENT TMS1002
  47. INSTALL OIL FILLER CAP SUB-ASSEMBLY 
    1. Install the oil filler cap onto the cylinder head cover.
      Fig 42: Locating Oil Filler Cap
      GTY164542Courtesy of © TOYOTA, LICENSE AGREEMENT TMS1002