LEMON Manuals: Even more car manuals for everyone: 1960-2025
Home >> Toyota >> 2012 >> Matrix Base, Standard Trans >> Repair and Diagnosis (Single Page) >> External Pages >> Different car >> Section 344 (Windows / Glass (Service Information)) >> Windshield Glass >> Installation >> Installation
April 5, 2026: LEMON Manuals is launched! Read the announcement.

Windshield Glass: Installation: Installation

WARNING: This page is about a different car, the 2012 Toyota Corolla. However, it is still accessible from the selected car via links, so may be relevant.
  1. INSTALL NO. 2 WINDSHIELD GLASS STOPPER 
    1. Using a brush or sponge, coat the application area of the 2 No. 2 windshield glass stoppers with Primer G.
      NOTE:
      • Do not apply too much primer.
      • Allow the primer coating to dry for 3 minutes or more.
      • Throw away any leftover Primer G.

      HINT: 

      If an area other than that specified is coated by accident, apply a non-reusable part solvent to a clean cloth and wipe off the primer.

    2. Install 2 new No. 2 windshield glass stoppers onto the windshield glass as shown in the illustration.
      Fig 1: Identifying Windshield Glass Stoppers Installation Position
      GTY197906Courtesy of © TOYOTA, LICENSE AGREEMENT TMS1002

      HINT: 

      Only 2-piece type No. 2 windshield glass stoppers are supplied. Use the 2-piece type stoppers even if a 1-piece type was used.

      Standard Dimension

      Area Dimension
      a 13.6 mm (0.535 in.)
      b 40.0 mm (1.57 in.)
  2. INSTALL NO. 1 WINDSHIELD GLASS STOPPER (for 2-piece Type) 
    1. Install 2 new No. 1 windshield glass stoppers to the vehicle body as shown in the illustration.
      Fig 2: Identifying New No. 1 Windshield Glass Stoppers
      GTY175490Courtesy of © TOYOTA, LICENSE AGREEMENT TMS1002

      HINT: 

      Only 2-piece type No. 1 windshield glass stoppers are supplied. Use the 2-piece type stoppers even if a 1-piece type was used.

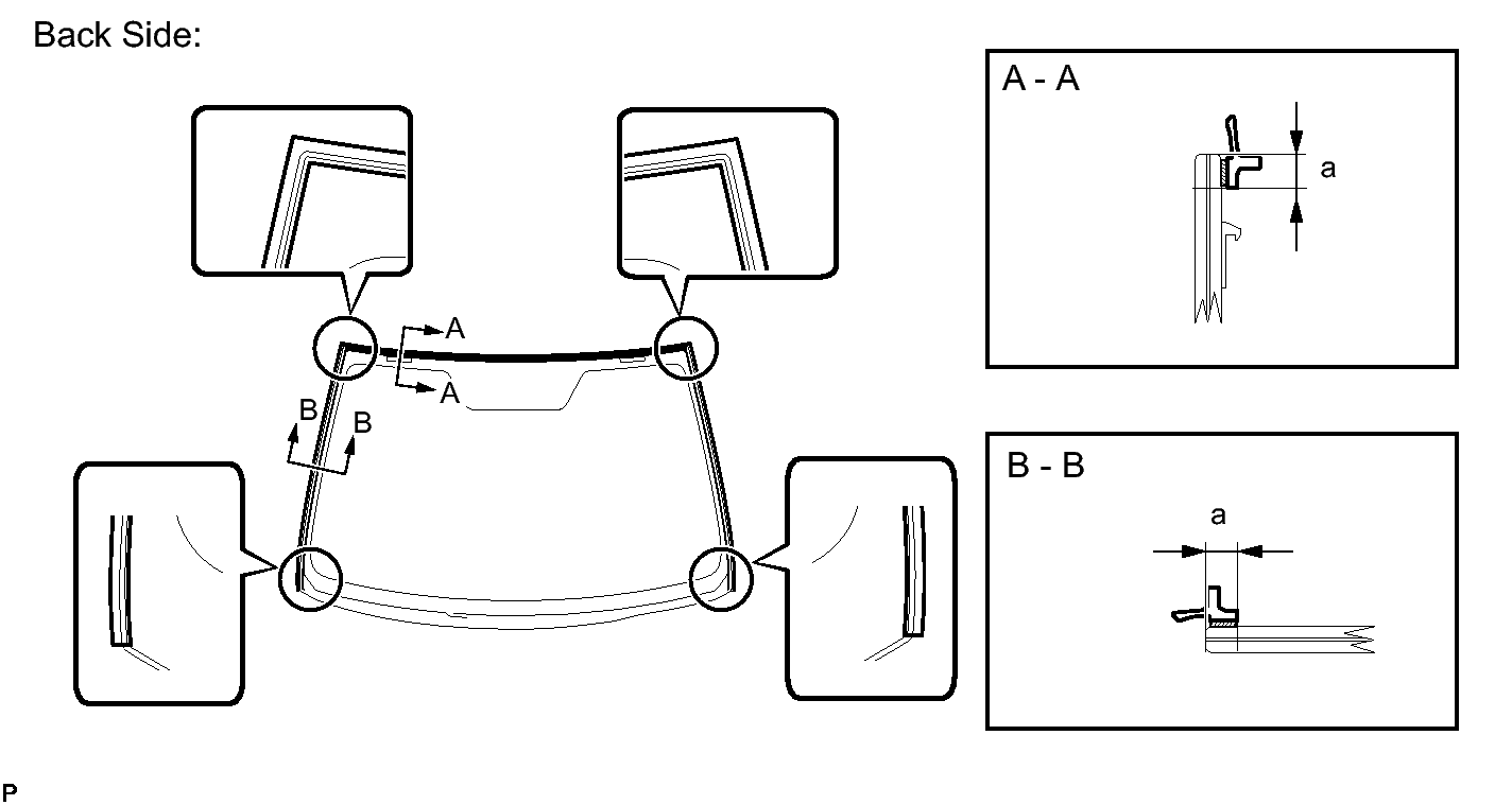
  3. INSTALL WINDSHIELD OUTSIDE MOLDING 
    1. Using a brush or sponge, coat the application area of the windshield outside molding with Primer G.
      Fig 3: Identifying Windshield Outside Molding Application Area
      GTY199551Courtesy of © TOYOTA, LICENSE AGREEMENT TMS1002

      Standard Dimension

      Area Dimension
      a 7.0 mm (0.276 in.)
      NOTE:
      • Do not apply too much primer.
      • Allow the primer coating to dry for 3 minutes or more.
      • Throw away any leftover Primer G.

      HINT: 

      If an area other than that specified is coated by accident, apply a non-residue solvent to a clean cloth and wipe off the excess primer.

    2. Install a new windshield outside molding onto the windshield glass as shown in the illustration.
  4. INSTALL WINDSHIELD GLASS ADHESIVE DAM 
    1. Using a brush or sponge, coat the application area of the windshield glass adhesive dam with Primer G.
      NOTE:
      • Do not apply too much primer.
      • Allow the primer coating to dry for 3 minutes or more.
      • Throw away any leftover Primer G.

      HINT: 

      If the primer is applied to an area that specified is coated by accident, apply a non-residue solvent to a clean cloth and wipe off the excess primer.

    2. Install a new windshield glass adhesive dam onto the windshield glass as shown in the illustration.
      Fig 4: Identifying Windshield Glass Adhesive Dam
      GTY189917Courtesy of © TOYOTA, LICENSE AGREEMENT TMS1002
      NOTE:

      Install the a adhesive dam along the dam reference line.

  5. INSTALL WINDSHIELD GLASS 
    1. Position the windshield glass assembly.
      Fig 5: Identifying Matchmarks On Windshield Glass Assembly
      GTY197908Courtesy of © TOYOTA, LICENSE AGREEMENT TMS1002
      1. Using suction cups, place the windshield glass assembly in the correct position.
      2. Check that the entire contact surface of the windshield glass rim is perfectly even.
      3. Place matchmarks on the windshield glass and vehicle body on the locations indicated in the illustration.

        HINT: 

        • Placing matchmarks is necessary only when installing a new glass. If it is the reused glass, matchmarks should already be present.
        • When reusing the glass, check and correct the matchmark positions.
        NOTE:

        Check that the stoppers are attached to the vehicle body correctly.

      4. Using suction cups, remove the windshield glass assembly.
    2. Using a brush, coat the installation surface on the vehicle body with Primer M.
      Fig 6: Applying Primer M
      GTY178844Courtesy of © TOYOTA, LICENSE AGREEMENT TMS1002
      NOTE:
      • Do not coat the adhesive with Primer M.
      • Allow the primer to dry for 3 minutes or more.
      • Throw away any leftover Primer G.

      HINT: 

      If an area other than that specified is coated by accident, apply a non-residue solvent to a clean cloth and wipe off the excess primer.

    3. Using a brush or sponge, coat the application area of adhesive with Primer G.
      Fig 7: Identifying Primer G Application Area
      GTY175288Courtesy of © TOYOTA, LICENSE AGREEMENT TMS1002

      Standard Dimension

      Area Dimension
      a 9.5 mm (0.374 in.)
      b 4.6 mm (0.181 in.)
      c 9.5 mm (0.374 in.)
      d 7.0 mm (0.276 in.)
      e 7.5 mm (0.295 in.)
      NOTE:
      • Do not apply too much primer.
      • Allow the primer to dry for 3 minutes or more.
      • Throw away any leftover Primer G.

      HINT: 

      If an area other than that specified is coated by accident, apply a non-residue solvent to a clean cloth and wipe off the excess primer.

      1. Apply adhesive to the glass.

        Adhesive

        Toyota Genuine Windshield Glass Adhesive or equivalent

      2. Cut off the tip of the cartridge nozzle, as shown in the illustration.

        HINT: 

        After cutting off the tip, use all adhesive within the time described in the table below.

        Tack-Free Time

        Temperature Tack-Free Time
        35°C (95°F) 15 minutes
        20°C (68°F) 1 hour and 40 minutes
        5°C (41°F) 8 hours
      3. Load the sealer gun with the cartridge.
      4. Apply adhesive to the windshield glass as shown in the illustration.
        Fig 8: Applying Adhesive To Windshield Glass Using A Sealer Gun
        GTY197909Courtesy of © TOYOTA, LICENSE AGREEMENT TMS1002

        Standard Dimension

        Area Dimension
        a 9.5 mm (0.374 in.)
        b 9.5 mm (0.374 in.)
        c 7.5 mm (0.295 in.)
        d 8.0 mm (0.315 in.)
        e 12.0 mm (0.472 in.)

        HINT: 

        Apply adhesive onto the ceramic notches.

    4. Install the windshield glass assembly.
      Fig 9: Identifying Matchmarks On Windshield Glass Assembly
      GTY197908Courtesy of © TOYOTA, LICENSE AGREEMENT TMS1002
      1. Using suction cups, position the glass so that the matchmarks are aligned and press it in gently along the rim.
      2. Lightly press the outer surface of the windshield glass to ensure that it is securely attached to the vehicle body.
        NOTE:
        • Check that the windshield glass stoppers are attached to the vehicle body correctly.
        • Check the clearance between the vehicle body and windshield glass.

        HINT: 

        Press the glass with force of 98 N (10 kgf, 22 lbf) or more.

      3. If necessary, use a scraper to correct the level or position of adhesive that has been applied.
        Fig 10: Applying Adhesive Onto Windshield Glass Rim
        GTY117605Courtesy of © TOYOTA, LICENSE AGREEMENT TMS1002
        NOTE:

        Apply adhesive onto the windshield glass rim.

      4. Hold the windshield glass using protective tape until applied adhesive becomes hard.
        NOTE:

        Do not drive the vehicle for the amount of time described in the table below.

        Minimum Time

        Temperature Minimum Time Prior to Driving Vehicle
        35°C (95°F) 1 hour and 30 minutes
        20°C (68°F) 5 hours
        5°C (41°F) 24 hours
  6. INSPECT FOR LEAK AND REPAIR 
    1. After the adhesive has hardened, apply water from the outside of the vehicle. Check that no water leaks into the cabin.
    2. If water leaks into the cabin, allow the water to dry and add adhesive.
    3. Remove the protective tape.
  7. INSTALL ROOF HEADLINING ASSEMBLY 

    Return the front section of the roof headlining assembly to the original position.

  8. INSTALL SUN ROOF OPENING TRIM MOLDING (w/ Sliding Roof)  . Refer to INSTALLATION - Step 16
  9. INSTALL INNER REAR VIEW MIRROR ASSEMBLY (w/o EC Mirror) 

    for TMC Made: Refer to INSTALLATION - Step 1

    except TMC Made: Refer to INSTALLATION - Step 2

  10. INSTALL INNER REAR VIEW MIRROR ASSEMBLY (w/ EC Mirror)  . Refer to INSTALLATION - Step 1
  11. INSTALL INNER REAR VIEW MIRROR COVER (w/ EC Mirror)  . Refer to INSTALLATION - Step 2
  12. INSTALL VISOR HOLDER  . Refer to INSTALLATION - Step 17
  13. INSTALL NO. 1 ROOM LIGHT ASSEMBLY  . Refer to INSTALLATION - Step 1
  14. INSTALL ASSIST GRIP SUB-ASSEMBLY  . Refer to INSTALLATION - Step 20
  15. INSTALL VISOR ASSEMBLY LH  . Refer to INSTALLATION - Step 21
  16. INSTALL VISOR ASSEMBLY RH  . Refer to INSTALLATION - Step 22
  17. INSTALL MAP LIGHT ASSEMBLY (w/o Sliding Roof)  . Refer to INSTALLATION - Step 3
  18. INSTALL MAP LIGHT ASSEMBLY (w/ Sliding Roof)  . Refer to INSTALLATION - Step 4
  19. INSTALL FRONT PILLAR GARNISH LH  . Refer to INSTALLATION - Step 61
  20. INSTALL FRONT PILLAR GARNISH RH  . Refer to INSTALLATION - Step 62
  21. INSTALL COWL TOP VENTILATOR LOUVER LH  . Refer to INSTALLATION - Step 4
  22. INSTALL CENTER NO. 1 COWL TOP VENTILATOR LOUVER  . Refer to INSTALLATION - Step 5
  23. INSTALL HOOD TO COWL TOP SEAL  . Refer to INSTALLATION - Step 6
  24. INSTALL FRONT WIPER ARM AND BLADE ASSEMBLY RH  . Refer to INSTALLATION - Step 7
  25. INSTALL FRONT WIPER ARM AND BLADE ASSEMBLY LH  . Refer to INSTALLATION - Step 8
  26. INSTALL FRONT WIPER ARM HEAD CAP  . Refer to INSTALLATION - Step 9
  27. CONNECT CABLE TO NEGATIVE BATTERY TERMINAL