LEMON Manuals: Even more car manuals for everyone: 1960-2025
Home >> Toyota >> 2012 >> Matrix Base, Standard Trans >> Repair and Diagnosis (Single Page) >> External Pages >> Different variant/trim >> Section 14 (Automatic Transmission (U140F) (Service Information)) >> Automatic Transaxle Unit >> Reassembly >> Reassembly
April 5, 2026: LEMON Manuals is launched! Read the announcement.

Automatic Transaxle Unit: Reassembly: Reassembly

WARNING: This page is about a different variant/trim than selected.
  1. BEARING POSITION 
    1. Check each bearing position and installation direction.
      Fig 1: Locating Bearing Position
      GTY228446Courtesy of © TOYOTA, LICENSE AGREEMENT TMS1002

      Standard Bearing Position

      Mark Front Race Diameter (mm (in.))
      Inside/Outside
      Thrust Bearing Diameter (mm (in.))
      Inside/Outside
      Rear Race Diameter (mm (in.))
      Inside/Outside
      A - 57.2 (2.25)/84.96 (3.34) 56.4 (2.220)/83.0 (3.268)
      B - 37.73 (1.49)/58.0 (2.28) 29.9 (1.18)/55.5 (2.19)
      C - 33.85 (1.33)/52.2 (2.06) -
      D - 23.5 (0.925)/44.0 (1.73) -
      E - 36.3 (1.43)/52.2 (2.06) 34.5 (1.36)/48.5 (1.91)
      F - 34.6 (1.362)/52.2 (2.06) -
      G 40.3 (1.59)/58.0 (2.28) 38.6 (1.52)/60.0 (2.36) 38.6 (1.52)/58.0 (2.28)
      H - 53.6 (2.11)/69.6 (2.74) -
      I - 33.8 (1.33)/48.2 (1.90) 30.3 (1.19)/46.0 (1.81)
      J - 53.6 (2.11)/70.18 (2.76) or 69.6 (2.74) -
  2. INSTALL DIFFERENTIAL GEAR LUBE APPLY TUBE 
    1. Install the apply tube and clamp to the transaxle housing with the bolt.
      Fig 2: Installing Differential Gear Lube Apply Tube
      GTY157907Courtesy of © TOYOTA, LICENSE AGREEMENT TMS1002

      Torque: 9.8 N*m (100 kgf*cm, 87 in.*lbf) 

      NOTE:

      Make sure to insert the pipe to the stopper.

  3. INSTALL UNDERDRIVE OUTPUT SHAFT OIL SEAL RING 
    1. Install a new oil seal ring to the transaxle housing.
      Fig 3: Identifying Oil Seal Ring
      GTY162174Courtesy of © TOYOTA, LICENSE AGREEMENT TMS1002
  4. INSTALL UNDERDRIVE CYLINDRICAL ROLLER BEARING 
    1. Using SST and a press, press in the underdrive cylindrical roller bearing.
      Fig 4: Pressing In Underdrive Cylindrical Roller Bearing
      GTY149356Courtesy of © TOYOTA, LICENSE AGREEMENT TMS1002
      • SST: 09950-60020 
        • 09951-00810
      • SST: 09950-70010 
        • 09951-07100
      NOTE:

      Do not apply excessive pressure.

  5. INSTALL UNDERDRIVE CLUTCH DRUM OIL SEAL RING 
    1. Install 2 new oil seal rings to the transaxle.
      Fig 5: Installing Underdrive Clutch Drum Oil Seal Ring
      GTY157836Courtesy of © TOYOTA, LICENSE AGREEMENT TMS1002
  6. INSTALL UNDERDRIVE BRAKE PISTON 
    1. Wrap vinyl tape around SST 4.0 mm (0.157 in.) above from the bottom end until the thickness of the wrapped tape is about 5.0 mm (0.197 in.)
      Fig 6: Installing Underdrive Brake Piston
      GTY214830Courtesy of © TOYOTA, LICENSE AGREEMENT TMS1002
      • SST: 09950-60010 
        • 09951-00320
      NOTE:

      Clean SST to remove oil deposits before wrapping with vinyl tape.

    2. Using SST and a press, press in the needle-roller bearing to the transaxle until the wrapped vinyl tape contacts the transaxle case.
      Fig 7: Pressing In Needle-Roller Bearing To Transaxle Case
      GTY126673Courtesy of © TOYOTA, LICENSE AGREEMENT TMS1002
      • SST: 09950-60010 
        • 09951-00320
      • SST: 09950-70010 
        • 09951-07100
    3. Coat 2 new O-rings with ATF, and install them to the underdrive brake piston.
      Fig 8: Removing O-Rings From Underdrive Brake Piston
      GTY157822Courtesy of © TOYOTA, LICENSE AGREEMENT TMS1002
    4. Install the underdrive brake piston to the transaxle.
      Fig 9: Identifying Underdrive Brake Piston
      GTY166914Courtesy of © TOYOTA, LICENSE AGREEMENT TMS1002
    5. Using SST, a snap ring expander and press, press in the piston return spring and snap ring to the transaxle.
      Fig 10: Removing Snap Ring From Transaxle
      GTY165972Courtesy of © TOYOTA, LICENSE AGREEMENT TMS1002
      • SST: 09387-00020 
      NOTE:

      Do not apply excessive pressure.

  7. INSTALL NO. 2 BREATHER PLUG 
  8. INSTALL COUNTER DRIVE GEAR HOLE SNAP RING 
    1. Using a screwdriver, press in the snap ring to the transaxle.
      Fig 11: Installing Hole Snap Ring To Transaxle
      GTY157906Courtesy of © TOYOTA, LICENSE AGREEMENT TMS1002
  9. INSTALL COUNTER DRIVE GEAR 
    1. Using SST and a press, press in the 2 bearing outer races to the transaxle.
      Fig 12: Pressing In Bearings Outer Races
      GTY233486Courtesy of © TOYOTA, LICENSE AGREEMENT TMS1002
      • SST: 09950-60020 
        • 09951-00890
      • SST: 09950-70010 
        • 09951-07150
    2. Using SST and a press, press in the tapered roller bearing to the counter drive gear until the bearing race contacts the snap ring.
      Fig 13: Installing Tapered Roller Bearing To Counter Drive Gear
      GTY157795Courtesy of © TOYOTA, LICENSE AGREEMENT TMS1002
      • SST: 09649-17010 
      NOTE:

      Do not apply excessive pressure.

    3. Using SST and a press, install the counter drive gear and bearing to the transaxle.
      Fig 14: Installing Counter Drive Gear And Bearing To Transaxle
      GTY163809Courtesy of © TOYOTA, LICENSE AGREEMENT TMS1002
      • SST: 09950-70010 
        • 09951-07150
      • SST: 09950-60020 
        • 09951-00750
      NOTE:

      Do not apply excessive pressure.

  10. INSTALL 1ST AND REVERSE BRAKE PISTON 
    1. Coat 2 new O-rings with ATF.
      Fig 15: Remove/Install 1st And Reverse Brake Piston O-Rings
      GTY165484Courtesy of © TOYOTA, LICENSE AGREEMENT TMS1002
    2. Install the 2 O-rings to the 1st and reverse brake piston.
    3. Coat the 1st and reverse brake piston with ATF, and install it to the transaxle.
      Fig 16: Identifying 1st And Reverse Brake Piston
      GTY157828Courtesy of © TOYOTA, LICENSE AGREEMENT TMS1002
  11. INSTALL 1ST AND REVERSE BRAKE RETURN SPRING SUB-ASSEMBLY 
    1. Using SST, a press and snap ring expander, press the 1st and reverse brake return spring sub-assembly and snap ring to the transaxle.
      Fig 17: Compressing Return Spring Using SST
      GTY130506Courtesy of © TOYOTA, LICENSE AGREEMENT TMS1002
      • SST: 09387-00070 
      NOTE:
      • Stop the press when the spring seat is lowered 1 to 2 mm (0.0393 to 0.0787 in.) from the snap ring groove. This prevents the spring seat from being deformed.
      • Do not expand the snap ring excessively.
  12. INSTALL FRONT PLANETARY RING GEAR 
    1. Using a screwdriver, install the front planetary ring gear and snap ring to the brake hub.
      Fig 18: Installing Front Planetary Ring Gear And Snap Ring To Brake Hub
      GTY157796Courtesy of © TOYOTA, LICENSE AGREEMENT TMS1002
  13. INSTALL FRONT PLANETARY GEAR ASSEMBLY 
    1. Install the front planetary gear assembly to the brake hub.
      Fig 19: Remove/Install Front Planetary Gear From Brake Hub
      GTY157745Courtesy of © TOYOTA, LICENSE AGREEMENT TMS1002
    2. Using SST and a press, press-fit the front planetary gear.
      Fig 20: Pressing-Fit Front Planetary Gear
      GTY157837Courtesy of © TOYOTA, LICENSE AGREEMENT TMS1002
      • SST: 09950-60010 
        • 09951-00500
      • SST: 09950-70010 
        • 09951-07100
      NOTE:

      Do not apply excessive pressure.

    3. Install a new washer as shown in the illustration.
      Fig 21: Installing Front Planetary Gear Washer
      GTY157838Courtesy of © TOYOTA, LICENSE AGREEMENT TMS1002
    4. Using SST, install the nut.
      Fig 22: Removing/Installing Front Planetary Gear Nut
      GTY149342Courtesy of © TOYOTA, LICENSE AGREEMENT TMS1002
      • SST: 09387-00030 
      • SST: 09387-00080 

      Torque: 280 N*m (2855 kgf*cm, 206 ft.*lbf) 

    5. Using SST and a torque wrench, measure the turning torque of the bearing while rotating SST at 60 RPM. If the measured value is not within the specified value, gradually tighten the nut until it reaches the specified value.
      Fig 23: Measuring Turning Torque Of Bearing
      GTY135420Courtesy of © TOYOTA, LICENSE AGREEMENT TMS1002
      • SST: 09387-00080 

      Turning torque at 60 RPM 

      Torque: 0.5 to 1.0 N*m (5 to 10 kgf*cm, 4 to 9 in.*lbf) 

      for a new bearing

      Torque: 0.3 to 0.5 N*m (3 to 5 kgf*cm, 3 to 4 in.*lbf) 

      for a used bearing

      HINT: 

      Use a torque wrench with a fulcrum length of 160 mm (6.3 in.).

    6. Using a chisel and hammer, stake the washer.
      Fig 24: Staking Front Planetary Gear Washer
      GTY162889Courtesy of © TOYOTA, LICENSE AGREEMENT TMS1002
  14. INSTALL INPUT SUN GEAR 
    1. Install the 2 thrust bearings, bearing race and input sun gear to the front planetary gear.
      Fig 25: Identifying Thrust Bearings, Bearing Race And Input Sun Gear
      GTY163451Courtesy of © TOYOTA, LICENSE AGREEMENT TMS1002

      Standard Bearing and Race Diameter

      Item Inside (mm (in.)) Outside (mm (in.))
      Bearing 34.6 (1.362) 52.2 (2.055)
      Race 40.3 (1.587) 58.0 (2.283)
      Bearing 38.6 (1.52) 60.0 (2.362)
  15. INSTALL REAR PLANETARY GEAR ASSEMBLY 
    1. Coat the bearing race with ATF, and install it to the rear planetary gear assembly.
      Fig 26: Installing Rear Planetary Gear Assembly
      GTY163489Courtesy of © TOYOTA, LICENSE AGREEMENT TMS1002

      Standard Race Diameter

      Item Inside (mm (in.)) Outside (mm (in.))
      Race 38.6 (1.520) 58.0 (2.28)
    2. Install the No. 1 washer.
      Fig 27: Identifying Planetary Carrier Thrust Washer
      GTY157835Courtesy of © TOYOTA, LICENSE AGREEMENT TMS1002
    3. Install the rear planetary gear to the brake hub.
      Fig 28: Identifying Rear Planetary Gear
      GTY166856Courtesy of © TOYOTA, LICENSE AGREEMENT TMS1002
    4. Using a screwdriver, install the snap ring.
      Fig 29: Installing Snap Ring
      GTY162582Courtesy of © TOYOTA, LICENSE AGREEMENT TMS1002
  16. INSTALL 1ST AND REVERSE BRAKE CLUTCH DISC 
    1. Install the 5 plates and 5 discs.
      Fig 30: Installing Plates And Discs
      GTY158654Courtesy of © TOYOTA, LICENSE AGREEMENT TMS1002

      Install in order

      P - D - P - D - P - D - P - D - P - D

      HINT: 

      P = Plate

      D = Disc

    2. Using a vernier caliper, measure the distance between the disc surface and the contact surface of the 2nd brake cylinder and transaxle (Dimension A).
      Fig 31: Measuring Distance Between Disc Surface And Contact Surface Of 2nd Brake Cylinder And Transaxle
      GTY157797Courtesy of © TOYOTA, LICENSE AGREEMENT TMS1002
    3. Select an appropriate flange so that the pack clearance will meet the specified value.

      0.75 to 1.21 mm (0.0295 to 0.0476 in.)

      HINT: 

      Pack clearance = Dimension A - Flange thickness

      Flange Thickness

      Mark Thickness (mm (in.)) Mark Thickness (mm (in.))
      1 1.8 (0.0709) 5 2.2 (0.0866)
      2 1.9 (0.0748) 6 2.3 (0.0906)
      3 2.0 (0.0787) 7 2.4 (0.0945)
      4 2.1 (0.0827) 8 2.5 (0.0984)
    4. Install the flange.
      Fig 32: Identifying Flange
      GTY162823Courtesy of © TOYOTA, LICENSE AGREEMENT TMS1002
  17. INSTALL 2ND BRAKE PISTON O-RING 
    1. Coat 2 new O-rings with ATF, and install them into the 2nd brake piston.
      Fig 33: Identifying 2nd Brake Piston O-Ring
      GTY245582Courtesy of © TOYOTA, LICENSE AGREEMENT TMS1002
  18. INSTALL 2ND BRAKE PISTON 
    1. Press the 2nd brake piston into the 2nd brake cylinder by hand.
      Fig 34: Installing 2nd Brake Piston
      GTY236616Courtesy of © TOYOTA, LICENSE AGREEMENT TMS1002
  19. INSTALL 2ND BRAKE PISTON RETURN SPRING SUB-ASSEMBLY 
    1. Install the piston return spring.
      Fig 35: Identifying Piston Return Spring
      GTY245581Courtesy of © TOYOTA, LICENSE AGREEMENT TMS1002
    2. Place SST on the piston return spring, and compress the piston return spring with a press.
      Fig 36: Installing Snap Ring
      GTY165904Courtesy of © TOYOTA, LICENSE AGREEMENT TMS1002
      • SST: 09387-00060 
    3. Using a screwdriver, install the snap ring.
      NOTE:

      Be sure that the end gap of the snap ring is not aligned with the piston return spring claw.

  20. INSTALL 2ND BRAKE PISTON ASSEMBLY 
    1. Install the 2nd brake piston to the transaxle.
      Fig 37: Installing 2nd Brake Piston Assembly
      GTY229605Courtesy of © TOYOTA, LICENSE AGREEMENT TMS1002
    2. Install the snap ring and measure the inside diameter.

      Standard inside diameter

      More than 167 mm (6.57 in.)

      NOTE:
      • Check the direction of the tapered snap ring when installing it.
      • If the diameter does not satisfy the specified value, replace the snap ring with a new one.
  21. INSTALL ONE-WAY CLUTCH OUTER SLEEVE 
    1. Install the one-way clutch outer sleeve to the 2nd brake cylinder.
      Fig 38: Identifying 1-Way Clutch Outer Sleeve
      GTY157748Courtesy of © TOYOTA, LICENSE AGREEMENT TMS1002
      NOTE:

      Check the direction of the outer sleeve.

  22. INSTALL ONE-WAY CLUTCH ASSEMBLY 
    1. Install the inner race to the one-way clutch.
      Fig 39: Removing/Installing 1-Way Clutch Inner Race
      GTY163764Courtesy of © TOYOTA, LICENSE AGREEMENT TMS1002
      NOTE:

      Check the direction of the inner race.

    2. Check that the one-way clutch turns freely counterclockwise and locks when turned clockwise.
      Fig 40: Checking One-Way Clutch Rotation
      GTY245318Courtesy of © TOYOTA, LICENSE AGREEMENT TMS1002
    3. Install the one-way clutch and thrust bearing to the one-way clutch outer sleeve.
      Fig 41: Installing Thrust Bearing
      GTY225199Courtesy of © TOYOTA, LICENSE AGREEMENT TMS1002

      Standard Thrust Bearing Diameter

      Item Inside (mm (in.)) Outside (mm (in.))
      Thrust Bearing 53.6 (2.110) 69.6 (2.740)
      NOTE:

      Install the thrust bearing properly so that un-colored race will be visible.

  23. INSTALL REAR PLANETARY SUN GEAR ASSEMBLY 
    1. Coat the No. 2 washer with petroleum jelly, and install it onto the rear planetary sun gear.
      Fig 42: Identifying No. 1 Planetary Carrier Thrust Washer
      GTY245587Courtesy of © TOYOTA, LICENSE AGREEMENT TMS1002
    2. Coat the thrust bearing with petroleum jelly, and install it onto the rear planetary sun gear.
      Fig 43: Identifying Rear Planetary Sun Gear Thrust Bearing
      GTY157821Courtesy of © TOYOTA, LICENSE AGREEMENT TMS1002

      Standard Thrust Bearing Diameter

      Item Inside (mm (in.)) Outside (mm (in.))
      Thrust Bearing 33.8 (1.331) 48.2 (1.898)
    3. Install the rear planetary sun gear to the rear planetary gear.
      Fig 44: Identifying Rear Planetary Sun Gear
      GTY157902Courtesy of © TOYOTA, LICENSE AGREEMENT TMS1002
  24. INSTALL 2ND BRAKE CLUTCH DISC 
    1. Install the 3 discs and 3 plates to the transaxle.
      Fig 45: Installing Snap Ring
      GTY158655Courtesy of © TOYOTA, LICENSE AGREEMENT TMS1002

      Install in order

      P - D - P - D - P - D

      HINT: 

      P = Plate

      D = Disc

    2. Temporarily install the snap ring.
    3. Using a vernier caliper, measure the distance between the disc surface and snap ring surface.
      Fig 46: Measuring Distance Between Disc Surface And Snap Ring Surface
      GTY157766Courtesy of © TOYOTA, LICENSE AGREEMENT TMS1002
    4. Select an appropriate flange so that the pack clearance will meet the specified value.

      Standard pack clearance

      0.50 to 0.91 mm (0.0197 to 0.0358 in.)

      HINT: 

      Pack clearance = Clearance - Flange thickness - Snap ring thickness 1.6 mm (0.063 in.)

      Flange Thickness

      Mark Thickness (mm (in.)) Mark Thickness (mm (in.))
      1 3.0 (0.118) 5 3.4 (0.134)
      2 3.1 (0.122) 6 3.5 (0.138)
      3 3.2 (0.126) 7 3.6 (0.142)
      4 3.3 (0.130) 8 -
    5. Temporarily remove the snap ring, attach the selected flange and reinstall the snap ring.
      Fig 47: Identifying Snap Ring
      GTY157798Courtesy of © TOYOTA, LICENSE AGREEMENT TMS1002
      NOTE:

      Position the snap ring so that its gap is visible through the groove of the transaxle case.

  25. INSTALL DIRECT CLUTCH RETURN SPRING SUB-ASSEMBLY 
    1. Coat the direct clutch piston with ATF, and install it to the direct clutch drum.
      Fig 48: Installing Direct Clutch Return Spring Sub-Assembly
      GTY157815Courtesy of © TOYOTA, LICENSE AGREEMENT TMS1002
      NOTE:

      Be careful not to damage the lip seal of the direct clutch piston.

    2. Install the direct clutch return spring sub-assembly to the direct clutch drum.
      Fig 49: Remove/Install Piston Return Spring From Direct Clutch Drum
      GTY157753Courtesy of © TOYOTA, LICENSE AGREEMENT TMS1002
    3. Install the clutch balancer to the direct clutch drum.
      Fig 50: Removing Clutch Balancer From Direct Clutch Drum
      GTY167001Courtesy of © TOYOTA, LICENSE AGREEMENT TMS1002
      NOTE:

      Be careful not to damage the lip seal of the direct clutch balancer.

    4. Place SST on the clutch balancer and compress the piston return spring with a press.
      Fig 51: Removing/Installing Snap Ring
      GTY157814Courtesy of © TOYOTA, LICENSE AGREEMENT TMS1002
      • SST: 09387-00020 
    5. Using a snap ring expander, install the snap ring to the direct clutch drum.
      NOTE:
      • Be sure the end gap of the snap ring is not aligned with the clutch balancer claw.
      • Stop the press when the spring seat is lowered 1 to 2 mm (0.0393 to 0.0787 in.) from the snap ring groove. This prevents the spring seat from being deformed.
      • Do not expand the snap ring excessively.
  26. INSTALL DIRECT MULTIPLE DISC CLUTCH DISC 
    1. Install the 3 plates, 3 discs and flange to the direct clutch drum.
      Fig 52: Identifying Plates, Discs And Flange
      GTY163644Courtesy of © TOYOTA, LICENSE AGREEMENT TMS1002

      Install in order

      P - D - P - D - P - D - F

      HINT: 

      P = Plate

      D = Disc

      F = Flange

    2. Using a screwdriver, install the snap ring.
      Fig 53: Remove/Install Snap Ring
      GTY166467Courtesy of © TOYOTA, LICENSE AGREEMENT TMS1002
    3. Check that the end gap of the snap ring is not aligned with one of the cutouts.
  27. INSPECT PACK CLEARANCE OF DIRECT CLUTCH  See step  15
  28. INSPECT DIRECT MULTIPLE DISC CLUTCH DISC  See step  16
  29. INSTALL DIRECT CLUTCH 
    1. Install the bearing race to the direct clutch.
      Fig 54: Identifying Bearing Race
      GTY245571Courtesy of © TOYOTA, LICENSE AGREEMENT TMS1002

      Standard Bearing Race Diameter

      Item Inside (mm (in.)) Outside (mm (in.))
      Bearing Race 30.3 (1.193) 46.0 (1.811)
    2. Install the direct clutch and thrust bearing to the rear planetary sun gear.
      Fig 55: Identifying Thrust Bearing And Direct Clutch
      GTY162523Courtesy of © TOYOTA, LICENSE AGREEMENT TMS1002
      NOTE:

      The discs in the direct clutch should be completely mated with the hub attached outside the rear planetary sun gear. Otherwise, the rear cover cannot be installed.

    3. Clean the connector part of the transaxle case and rear cover.
      Fig 56: Measuring Distance Between Transaxle Case And Straightedge
      GTY157799Courtesy of © TOYOTA, LICENSE AGREEMENT TMS1002
    4. As shown in the illustration, place a straightedge on the direct clutch drum and measure the distance between the transaxle case and the straightedge using a vernier caliper (Dimension B).
    5. Measure the 2 places of the rear cover as shown in the illustration. Calculate dimension C using the following formula:
      Fig 57: Measuring Places Of Rear Cover
      GTY157839Courtesy of © TOYOTA, LICENSE AGREEMENT TMS1002

      HINT: 

      Dimension C = Dimension (1) - Dimension (2)

    6. Calculate the end play value using the following formula:
      NOTE:

      Make sure that the colored race side is facing the direct clutch assembly.

      HINT: 

      End play = Dimension C - Dimension B

      End play

      0.20 to 0.93 mm (0.00787 to 0.0366 in.)

      Select a thrust bearing which satisfies the end play value and install it.

      Standard Bearing Thickness and Diameter

      Thickness Inside (mm (in.)) Outside (mm (in.))
      3.58 mm (0.1409 in.) 53.6 (2.110) 69.6 (2.740)
      3.88 mm (0.1528 in.) 53.6 (2.110) 70.18 (2.763)
  30. INSTALL NO. 1 GOVERNOR APPLY GASKET 
    1. Install 2 new governor apply gaskets.
      Fig 58: Locating Apply Gaskets
      GTY164589Courtesy of © TOYOTA, LICENSE AGREEMENT TMS1002
  31. INSTALL FRONT CLUTCH APPLY TUBE 
    1. Install the clamp to the front clutch apply tube.
      Fig 59: Installing Brake Apply Tube
      GTY163128Courtesy of © TOYOTA, LICENSE AGREEMENT TMS1002
      NOTE:

      Make sure to install the clamp to the apply tube before installing the apply tube to the transaxle case. This prevents the apply tube from being deformed or damaged.

  32. INSTALL BRAKE APPLY TUBE 
    1. Install the clamp to the brake apply tube.
      Fig 60: Installing Brake Apply Tube
      GTY163128Courtesy of © TOYOTA, LICENSE AGREEMENT TMS1002
      NOTE:

      Make sure to install the clamp to the apply tube before installing the apply tube to the transaxle case. This prevents the apply tube from being deformed or damaged.

    2. Install the 2 apply tubes and to the transaxle with the bolt.
      Fig 61: Installing Apply Tubes
      GTY163425Courtesy of © TOYOTA, LICENSE AGREEMENT TMS1002

      Torque: 5.4 N*m (55 kgf*cm, 48 in.*lbf) 

      NOTE:

      Each pipe should be securely inserted until it reaches the stopper.

  33. INSTALL NO. 1 TRANSAXLE CASE PLUG 
    1. Install 2 new O-rings to the 2 plugs.
      Fig 62: Identifying No. 1 Transaxle Case Plug
      GTY158682Courtesy of © TOYOTA, LICENSE AGREEMENT TMS1002
    2. Install the 2 plugs to the transaxle rear cover.

      Torque: 7.4 N*m (75 kgf*cm, 65 in.*lbf) 

  34. INSTALL TRANSAXLE REAR COVER SUB-ASSEMBLY 
    1. Using SST and a press, press in the needle roller bearing.
      Fig 63: Pressing In Bearing
      GTY166227Courtesy of © TOYOTA, LICENSE AGREEMENT TMS1002
      • SST: 09950-60010 
        • 09951-00230
        • 09952-06010

      Standard depth

      12.05 to 12.75 mm (0.474 to 0.501 in.)

      NOTE:
      • Face the inscribed side of the bearing race up.
      • Keep pressing until the specified value is obtained.
    2. Apply adhesive to the 2 screws.

      Adhesive

      Toyota Genuine Adhesive 1344, Three Bond 1344 or equivalent

    3. Using a T30 "TORX" socket wrench, install the transaxle rear cover plate with the 2 screws.
      Fig 64: Identifying Bolts And Transaxle Rear Cover Plate
      GTY162474Courtesy of © TOYOTA, LICENSE AGREEMENT TMS1002

      Torque: 7.5 N*m (76 kgf*cm, 66 in.*lbf) 

    4. Coat 2 new oil seal rings with ATF, and install them to the transaxle rear cover.
      Fig 65: Identifying Oil Seal Rings
      GTY217121Courtesy of © TOYOTA, LICENSE AGREEMENT TMS1002
    5. Remove any packing material and be careful not to get oil on the contact surfaces of the transaxle rear cover or the transaxle.
      Fig 66: Applying FIPG To Cover
      GTY220852Courtesy of © TOYOTA, LICENSE AGREEMENT TMS1002
    6. Apply FIPG to the cover.

      FIPG

      Toyota Genuine Seal Packing 1281, Three Bond 1281 or equivalent

    7. Coat the needle roller bearing with ATF.
    8. Apply adhesive to the threads of the bolts labeled A.
      Fig 67: Applying Adhesive To Threads Of Bolts Labeled A
      GTY157784Courtesy of © TOYOTA, LICENSE AGREEMENT TMS1002

      Adhesive

      Toyota Genuine Adhesive 1344, Three Bond 1344 or equivalent

    9. Install the 11 bolts.

      Bolt A. 

      Torque: 19 N*m (194 kgf*cm, 14 ft.*lbf) 

      Other bolts 

      Torque: 25 N*m (255 kgf*cm, 18 ft.*lbf) 

  35. INSTALL NO. 2 UNDERDRIVE CLUTCH DISC 
    1. Install the 3 discs and 3 plates to the transaxle.
      Fig 68: Identifying Discs And Plates
      GTY164958Courtesy of © TOYOTA, LICENSE AGREEMENT TMS1002

      Install in order

      P - D - P - D - P - D

      HINT: 

      P = Plate

      D = Disc

    2. Using a screwdriver, install the snap ring.
    3. Using a dial indicator, measure the underdrive brake pack clearance while applying and releasing compressed air (392 kPa, 4.0 kgf/cm2 , 57 psi).
      Fig 69: Measuring Underdrive Brake Pack Clearance
      GTY157749Courtesy of © TOYOTA, LICENSE AGREEMENT TMS1002

      Standard pack clearance

      1.59 to 2.20 mm (0.0626 to 0.0866 in.)

      HINT: 

      Select an appropriate flange from the table below so that it will meet the specified value.

      Standard Flange Thickness

      Mark Thickness (mm (in.)) Mark Thickness (mm (in.))
      1 3.0 (0.118) 3 3.4 (0.134)
      2 3.2 (0.126) - -
    4. Temporarily remove the snap ring and attach the flange. Reinstall the snap ring.
  36. INSPECT UNDERDRIVE ONE-WAY CLUTCH ASSEMBLY  See step  22
  37. INSTALL UNDERDRIVE ONE-WAY CLUTCH ASSEMBLY 
    1. Install the outer race retainer to the one-way clutch.
      Fig 70: Identifying Outer Race Retainer
      GTY210825Courtesy of © TOYOTA, LICENSE AGREEMENT TMS1002
    2. Install the one-way clutch to the transaxle.
      Fig 71: Remove/Install Underdrive 1-Way Clutch From Transaxle Case
      GTY245553Courtesy of © TOYOTA, LICENSE AGREEMENT TMS1002
      NOTE:

      Make sure that the mark on the one-way clutch outer race is visible.

    3. Using a screwdriver, install the snap ring to the transaxle.
      Fig 72: Installing Snap Ring To Transaxle Case
      GTY162350Courtesy of © TOYOTA, LICENSE AGREEMENT TMS1002
  38. INSTALL UNDERDRIVE CLUTCH PISTON SET 
    1. Coat the underdrive clutch piston with ATF, and install it to the underdrive clutch piston drum.
      Fig 73: Installing Underdrive Clutch Piston Set
      GTY162809Courtesy of © TOYOTA, LICENSE AGREEMENT TMS1002
      NOTE:

      Be careful not to damage the O-ring.

    2. Install the underdrive piston return spring sub-assembly to the underdrive clutch drum.
      Fig 74: Identifying Return Spring From Underdrive Clutch Drum
      GTY242652Courtesy of © TOYOTA, LICENSE AGREEMENT TMS1002
    3. Install the clutch balancer to the underdrive clutch drum.
      Fig 75: Removing Clutch Balancer From Underdrive Clutch Drum
      GTY242651Courtesy of © TOYOTA, LICENSE AGREEMENT TMS1002
      NOTE:

      Be careful not to damage the lip seal of the clutch balancer.

    4. Place SST on the clutch balancer and compress the piston return spring with a press.
      Fig 76: Removing Snap Ring
      GTY165447Courtesy of © TOYOTA, LICENSE AGREEMENT TMS1002
      • SST: 09350-32014 
        • 09351-32070
    5. Using a snap ring expander, install the snap ring to the underdrive clutch drum.
      NOTE:
      • Be sure the end gap of the snap ring is not aligned with the clutch balancer claw.
      • Stop the press when the spring seat is lowered 1 to 2 mm (0.0393 to 0.0787 in.) from the snap ring groove. This prevents the spring seat from being deformed.
      • Do not expand the snap ring excessively.
    6. Set the end gap of the snap ring in the underdrive clutch drum as shown in the illustration.
      Fig 77: Setting End Gap Of Snap Ring
      GTY245657Courtesy of © TOYOTA, LICENSE AGREEMENT TMS1002
      NOTE:

      Do not align the end gap of the snap ring with any of the stoppers.

  39. INSTALL UNDERDRIVE CLUTCH DRUM O-RING 
    1. Coat a new O-ring with ATF, and install it to the underdrive clutch drum.
      Fig 78: Identifying Underdrive Clutch Drum O-Ring
      GTY164662Courtesy of © TOYOTA, LICENSE AGREEMENT TMS1002
  40. INSTALL NO. 1 UNDERDRIVE CLUTCH DISC 
    1. Install the 3 plates, 3 discs and flange to the underdrive clutch drum.
      Fig 79: Identifying Plates, Discs And Flange
      GTY166291Courtesy of © TOYOTA, LICENSE AGREEMENT TMS1002

      Install in order

      P - D - P - D - P - D - F

      HINT: 

      P = Plate

      D = Disc

      F = Flange

    2. Using a screwdriver, install the underdrive clutch flange hole snap ring.
      Fig 80: Installing Underdrive Clutch Flange Hole Snap Ring
      GTY245568Courtesy of © TOYOTA, LICENSE AGREEMENT TMS1002
    3. Check that the end gap of the snap ring is not aligned with one of the cutouts.
  41. INSPECT PACK CLEARANCE OF UNDERDRIVE CLUTCH  See step  9
  42. INSTALL UNDERDRIVE CLUTCH ASSEMBLY 
    1. Coat the bearing and bearing race with petroleum jelly, and install them onto the underdrive clutch.
      Fig 81: Identifying Underdrive Clutch Assembly
      GTY157901Courtesy of © TOYOTA, LICENSE AGREEMENT TMS1002

      Standard Bearing and Race Diameter

      Item Inside (mm (in.)) Outside (mm (in.))
      Bearing 37.73 (1.4854) 58.0 (2.283)
      Race 29.9 (1.177) 55.5 (2.185)
    2. Install the underdrive clutch to the transaxle.
  43. INSTALL UNDERDRIVE PLANETARY RING GEAR 
    1. Install a new snap ring to the outer race of the angular ball bearing.
      Fig 82: Identifying Snap Ring
      GTY234962Courtesy of © TOYOTA, LICENSE AGREEMENT TMS1002

      HINT: 

      If replacing the bearing, also replace the counter driven gear with a new one.

    2. Using a piston ring compressor, squeeze the snap ring.
      Fig 83: Squeezing Snap Ring
      GTY121491Courtesy of © TOYOTA, LICENSE AGREEMENT TMS1002
    3. Using SST and a press, press in the outer race of the angular ball bearing.
      Fig 84: Pressing In Outer Race Of Angular Ball Bearing
      GTY243699Courtesy of © TOYOTA, LICENSE AGREEMENT TMS1002
      • SST: 09950-60020 
        • 09951-00890
      • SST: 09950-70010 
        • 09951-07100
      NOTE:

      Do not damage the snap ring during installation of the outer race.

    4. Install the underdrive planetary ring gear to the counter driven gear.
      Fig 85: Identifying Underdrive Planetary Ring Gear And Counter Driven Gear
      GTY202271Courtesy of © TOYOTA, LICENSE AGREEMENT TMS1002
    5. Using snap ring pliers, install the snap ring.
      Fig 86: Installing Snap Ring
      GTY245604Courtesy of © TOYOTA, LICENSE AGREEMENT TMS1002
  44. INSTALL UNDERDRIVE PLANETARY GEAR ASSEMBLY 
    1. Using SST and a press, press the angular ball bearing inner race (rear side) into the underdrive planetary gear.
      Fig 87: Pressing Angular Ball Bearing Inner Race
      GTY243700Courtesy of © TOYOTA, LICENSE AGREEMENT TMS1002
      • SST: 09726-40010 
      • SST: 09950-60010 
        • 09951-00260
      • SST: 09950-70010 
        • 09951-07100
    2. Install the counter driven gear with planetary ring gear to the underdrive planetary gear.
      Fig 88: Installing Counter Driven Gear With Planetary Ring Gear
      GTY243701Courtesy of © TOYOTA, LICENSE AGREEMENT TMS1002
    3. Using SST and a press, press in the angular ball bearing inner race (front side).
      Fig 89: Pressing In Angular Ball Bearing Inner Race
      GTY243702Courtesy of © TOYOTA, LICENSE AGREEMENT TMS1002
      • SST: 09726-40010 
      • SST: 09950-60010 
        • 09951-00260
      • SST: 09950-70010 
        • 09951-07100
      NOTE:

      Rotate the counter driven gear while pressing.

    4. Using SST and a press, press in the parking lock gear.
      Fig 90: Pressing In Parking Lock Gear
      GTY231621Courtesy of © TOYOTA, LICENSE AGREEMENT TMS1002
      • SST: 09316-20011 
      • SST: 09950-60010 
        • 09951-00260
      • SST: 09950-70010 
        • 09951-07100
      NOTE:

      Rotate the counter driven gear while pressing.

    5. Using SST and a press, press in the differential drive pinion.
      Fig 91: Pressing Differential Drive Pinion
      GTY122219Courtesy of © TOYOTA, LICENSE AGREEMENT TMS1002
      • SST: 09726-40010 
      • SST: 09950-60010 
        • 09951-00260
      • SST: 09950-70010 
        • 09951-07100
      NOTE:

      Rotate the counter driven gear while pressing.

  45. INSTALL CYLINDRICAL ROLLER BEARING INNER RACE 
    1. Using SST and a press, press in the cylindrical roller bearing inner race.
      Fig 92: Pressing In Cylindrical Roller Bearing Race Inner
      GTY221889Courtesy of © TOYOTA, LICENSE AGREEMENT TMS1002
      • SST: 09515-21010 
      • SST: 09950-60010 
        • 09951-00260
      • SST: 09950-70010 
        • 09951-07100
      NOTE:

      Rotate the counter driven gear while pressing.

  46. INSTALL UNDERDRIVE INPUT SHAFT NUT 
    1. Clamp the underdrive planetary gear in a soft jaw vise.
      Fig 93: Clamping Underdrive Planetary Gear In Soft Jaw Vise
      GTY245666Courtesy of © TOYOTA, LICENSE AGREEMENT TMS1002
      NOTE:

      Be careful not to damage the differential drive pinion.

    2. Using a socket wrench, install a new lock nut.

      Torque: 280 N*m (2855 kgf*cm, 207 ft.*lbf) 

      HINT: 

      Use a torque wrench with a fulcrum length of 750 mm (29.53 in.)

  47. INSPECT UNDERDRIVE PLANETARY GEAR PRELOAD  See step  8
  48. INSTALL UNDERDRIVE INPUT SHAFT NUT 
    1. Using a pin punch and a hammer, stake the lock nut.
      Fig 94: Staking Lock Nut
      GTY222288Courtesy of © TOYOTA, LICENSE AGREEMENT TMS1002
      NOTE:

      Make sure that there are no cracks on the nut.

  49. INSTALL UNDERDRIVE PLANETARY GEAR 
    1. Install the pawl pin and spring to the parking lock pawl.
      Fig 95: Identifying Parking Lock Pawl Pin And Torsion Spring
      GTY157782Courtesy of © TOYOTA, LICENSE AGREEMENT TMS1002
    2. Temporarily install the parking lock pawl, shaft and spring to the transaxle case as shown in the illustration.
      Fig 96: Installing Parking Lock Pawl
      GTY163706Courtesy of © TOYOTA, LICENSE AGREEMENT TMS1002
    3. Install the underdrive planetary gear to the transaxle.
      Fig 97: Removing/Installing Underdrive Planetary Gear From Transaxle Case
      GTY157900Courtesy of © TOYOTA, LICENSE AGREEMENT TMS1002
      NOTE:

      Firmly engage all the discs of the underdrive clutch with the hub splines of the underdrive planetary gear assembly.

    4. Install the parking lock pawl shaft.
      Fig 98: Installing Parking Lock Pawl Shaft
      GTY166149Courtesy of © TOYOTA, LICENSE AGREEMENT TMS1002
    5. Install the pawl shaft clamp with the bolt.
      Fig 99: Installing Pawl Shaft Clamp With Bolt
      GTY163719Courtesy of © TOYOTA, LICENSE AGREEMENT TMS1002

      Torque: 9.8 N*m (100 kgf*cm, 87 in.*lbf) 

    6. Using a straightedge and a vernier caliper as shown in the illustration, measure the gap between the top of the differential drive pinion in the underdrive planetary gear and contact surface of the transaxle and housing (Dimension D).
      Fig 100: Measuring Gap Between Top Of Differential Drive Pinion In Underdrive Planetary Gear And Contact Surface Of Transaxle And Housing
      GTY245584Courtesy of © TOYOTA, LICENSE AGREEMENT TMS1002
      NOTE:

      Make a note of dimension D as it is necessary for the following process.

    7. As shown in the illustration, measure the 2 places of the transaxle housing. Calculate dimension E using the following formula:
      Fig 101: Identifying Dimension 1 And 2
      GTY157727Courtesy of © TOYOTA, LICENSE AGREEMENT TMS1002
      NOTE:

      Make a note of dimension E as it is necessary for the following process.

      HINT: 

      Dimension E = Dimension (1) - Dimension (2)

  50. INSTALL MULTIPLE DISC CLUTCH HUB 
    1. Install the bearing race to the transaxle while checking its direction.
      Fig 102: Installing Thrust Bearing Race To Transaxle Case
      GTY157750Courtesy of © TOYOTA, LICENSE AGREEMENT TMS1002

      Standard Bearing Race Diameter

      Item Inside (mm (in.)) Outside (mm (in.))
      Bearing Race 34.5 (1.358) 48.5 (1.909)
    2. Coat the thrust bearing with petroleum jelly, and install them onto the multiple disc clutch hub.
      Fig 103: Identifying Thrust Needle Roller Bearing And Race
      GTY157801Courtesy of © TOYOTA, LICENSE AGREEMENT TMS1002

      Standard Thrust Bearing Diameter

      Item Inside (mm (in.)) Outside (mm (in.))
      Thrust Bearing 36.3 (1.429) 52.2 (2.055)
    3. Install the bearing to the multiple disc clutch hub.
      Fig 104: Identifying Input Shaft Thrust Bearing
      GTY165075Courtesy of © TOYOTA, LICENSE AGREEMENT TMS1002

      Standard Bearing Diameter

      Item Inside (mm (in.)) Outside (mm (in.))
      Bearing 23.5 (0.925) 44.0 (1.732)
    4. Install the multiple disc clutch hub to the transaxle.
  51. INSTALL INPUT SHAFT OIL SEAL RING 
    1. Compress the oil seal ring from both sides to reduce dimension A.
      Fig 105: Compressing New Input Shaft Oil Seal Ring From Both Sides To Reduce Dimension A
      GTY149401Courtesy of © TOYOTA, LICENSE AGREEMENT TMS1002

      Standard dimension A

      5 mm (0.197 in.)

    2. Coat the oil seal ring with ATF and install it to the input shaft.
  52. INSTALL FORWARD CLUTCH PISTON SUB-ASSEMBLY 
    1. Coat 2 new O-rings with ATF, and install them to the forward clutch piston.
      Fig 106: Installing Forward Clutch Piston Sub-Assembly
      GTY157811Courtesy of © TOYOTA, LICENSE AGREEMENT TMS1002
    2. Install the forward clutch piston to the forward clutch drum.
      Fig 107: Installing Forward Clutch Piston
      GTY157812Courtesy of © TOYOTA, LICENSE AGREEMENT TMS1002
  53. INSTALL FORWARD CLUTCH RETURN SPRING SUB-ASSEMBLY 
    1. Place the return spring onto the piston.
      Fig 108: Removing Piston Return Spring
      GTY245558Courtesy of © TOYOTA, LICENSE AGREEMENT TMS1002
    2. Place SST on the return spring, and compress the return spring with a press.
      Fig 109: Removing Snap Ring
      GTY162435Courtesy of © TOYOTA, LICENSE AGREEMENT TMS1002
      • SST: 09350-32014 
    3. Install the snap ring using a snap ring expander. Be sure that the end gap of the snap ring is not aligned with the spring retainer claw.
      NOTE:
      • Stop the press when the spring seat is lowered 1 to 2 mm (0.0393 to 0.0787 in.) from the snap ring groove. This prevents the spring seat from being deformed.
      • Do not expand the snap ring excessively.
    4. Set the end gap of the snap ring in the piston shown in the illustration.
      Fig 110: Setting End Gap Of Snap Ring
      GTY232453Courtesy of © TOYOTA, LICENSE AGREEMENT TMS1002
      NOTE:

      Do not align the end gap of the snap ring with any of the stoppers.

  54. INSTALL FORWARD MULTIPLE DISC CLUTCH DISC 
    1. Install the 5 plates, 5 discs and flange.
      Fig 111: Identifying Plates, Discs And Flange
      GTY158657Courtesy of © TOYOTA, LICENSE AGREEMENT TMS1002

      Install in order

      P - D - P - D - P - D - P - D - P - D - F

      HINT: 

      P = Plate

      D = Disc

      F = Flange

    2. Using a screwdriver, install the snap ring.
      Fig 112: Removing/Installing Snap Ring
      GTY164278Courtesy of © TOYOTA, LICENSE AGREEMENT TMS1002
    3. Check that the end gap of the snap ring is not aligned with one of the cutouts.
  55. INSPECT PACK CLEARANCE OF FORWARD CLUTCH  See step  3
  56. INSPECT FORWARD MULTIPLE DISC CLUTCH DISC  See step  4
  57. INSTALL FORWARD CLUTCH ASSEMBLY 
    1. Install the thrust bearing to the forward clutch.
      Fig 113: Installing Thrust Bearing
      GTY157786Courtesy of © TOYOTA, LICENSE AGREEMENT TMS1002

      Standard Thrust Bearing Diameter

      Item Inside (mm (in.)) Outside (mm (in.))
      Thrust Bearing 33.85 (1.333) 52.2 (2.055)
      NOTE:

      Install the thrust bearing properly so that the race "B" will be visible.

    2. Install the forward clutch to the multiple clutch hub.
      Fig 114: Identifying Forward Clutch
      GTY164543Courtesy of © TOYOTA, LICENSE AGREEMENT TMS1002
      NOTE:

      Align the splines of all discs in the forward clutch with those of the multiple clutch hub to assemble them securely.

  58. INSTALL OVERDRIVE BRAKE GASKET 
    1. Install 2 new overdrive brake gaskets.
      Fig 115: Installing Overdrive Brake Gaskets
      GTY157898Courtesy of © TOYOTA, LICENSE AGREEMENT TMS1002
  59. INSTALL DIFFERENTIAL GEAR ASSEMBLY 
    1. Install the differential gear to the transaxle.
      Fig 116: Remove/Install Front Differential From Transaxle
      GTY245544Courtesy of © TOYOTA, LICENSE AGREEMENT TMS1002
  60. INSTALL NO. 2 THRUST BEARING UNDERDRIVE RACE 
    1. Install the thrust bearing underdrive race to the underdrive planetary gear.
      Fig 117: Identifying Thrust Bearing Race
      GTY163766Courtesy of © TOYOTA, LICENSE AGREEMENT TMS1002
  61. INSTALL THRUST NEEDLE ROLLER BEARING 
    1. Calculate the end play value using the following formula and values of Dimensions D and E that were measured when installing the cylindrical roller bearing and underdrive planetary gear. Select and install the appropriate bearing race to satisfy the specified end play value.
      Fig 118: Identifying Thrust Needle Roller Bearing
      GTY157726Courtesy of © TOYOTA, LICENSE AGREEMENT TMS1002

      HINT: 

      End play = Dimension E - Dimension D - thrust bearing thickness 3.28 mm (0.1291 in.) - bearing race thickness.

      End play

      0.50 to 0.99 mm (0.0196 to 0.0389 in.)

      Standard Race Thickness

      E - D (mm (in.)) Thickness (mm (in.))
      Less than 7.64 (0.3008) 3.5 (0.138)
      7.64 (0.3008) 3.8 (0.150)

      Standard Bearing and Bearing Race Diameter

      Item Inside (mm (in.)) Outside (mm (in.))
      Bearing 57.2 (2.252) 84.96 (3.3449)
      Bearing Race 56.4 (2.220) 83.0 (3.268)
  62. INSTALL OIL PUMP ASSEMBLY 
    1. Install the oil pump to the transaxle with the 7 bolts.
      Fig 119: Locating Oil Pump Assembly Bolts
      GTY205666Courtesy of © TOYOTA, LICENSE AGREEMENT TMS1002

      Torque: 22 N*m (224 kgf*cm, 16 ft.*lbf) 

    2. Coat the O-ring of the oil pump with ATF.
      Fig 120: Coating O-Ring Of Oil Pump With ATF
      GTY245554Courtesy of © TOYOTA, LICENSE AGREEMENT TMS1002
  63. INSTALL TRANSAXLE HOUSING 
    1. Remove any packing material and be careful not to get oil on the contact surface of the transaxle housing.
      Fig 121: Identifying FIPG Application Area
      GTY210777Courtesy of © TOYOTA, LICENSE AGREEMENT TMS1002
    2. Apply FIPG to the transaxle.

      FIPG

      Toyota Genuine Seal Packing 1281, Three Bond 1281 or equivalent

    3. Install the transaxle housing to the transaxle with the 18 bolts.
      Fig 122: Identifying Transaxle Housing Bolts
      GTY234653Courtesy of © TOYOTA, LICENSE AGREEMENT TMS1002

      Bolt A and D 

      Torque: 22 N*m (225 kgf*cm, 16 ft.*lbf) 

      Bolt B and C 

      Torque: 29 N*m (300 kgf*cm, 22 ft.*lbf) 

      Bolt E 

      Torque: 10 N*m (102 kgf*cm, 7 ft.*lbf) 

      HINT: 

      Each bolt length is indicated below.

      Bolt length

      Bolt A 50 mm (1.969 in.)

      Bolt B 50 mm (1.969 in.)

      Bolt C 42 mm (1.654 in.)

      Bolt D 72 mm (2.834 in.)

      Bolt E 50 mm (1.969 in.)

      NOTE:

      Because the bolts labeled A are seal bolts, apply FIPG to new bolts and tighten them within 10 minutes after application.

      FIPG

      Toyota Genuine Seal Packing 1281, Three Bond 1281 or equivalent

  64. INSTALL NO. 1 TRANSAXLE CASE PLUG 
    1. Install 2 new O-rings to the 2 plugs.
      Fig 123: Identifying No. 1 Transaxle Case Plug And O-Rings
      GTY158681Courtesy of © TOYOTA, LICENSE AGREEMENT TMS1002
    2. Install the 2 plugs to the transaxle housing.

      Torque: 7.4 N*m (75 kgf*cm, 65 in.*lbf) 

  65. INSPECT INPUT SHAFT END PLAY  See step  2
  66. SECURE AUTOMATIC TRANSAXLE ASSEMBLY 
    1. Secure the automatic transaxle assembly on wooden blocks.
      Fig 124: Fixing Automatic Transaxle Assembly
      GTY157803Courtesy of © TOYOTA, LICENSE AGREEMENT TMS1002
  67. INSTALL MANUAL VALVE LEVER SHAFT OIL SEAL 
    1. Coat a new oil seal with ATF.
      Fig 125: Identifying Oil Seal
      GTY162864Courtesy of © TOYOTA, LICENSE AGREEMENT TMS1002
    2. Install the oil seal to the transaxle.
  68. INSTALL PARKING LOCK ROD SUB-ASSEMBLY 
    1. Install the parking lock rod to the manual valve lever.
      Fig 126: Remove/Install Parking Lock Rod From Manual Valve Lever
      GTY157832Courtesy of © TOYOTA, LICENSE AGREEMENT TMS1002
  69. INSTALL MANUAL VALVE LEVER SUB-ASSEMBLY 
    1. Install a new spacer and manual valve lever shaft to the transaxle.
      Fig 127: Remove/Install Manual Valve Lever Shaft And Manual Valve Lever
      GTY157896Courtesy of © TOYOTA, LICENSE AGREEMENT TMS1002
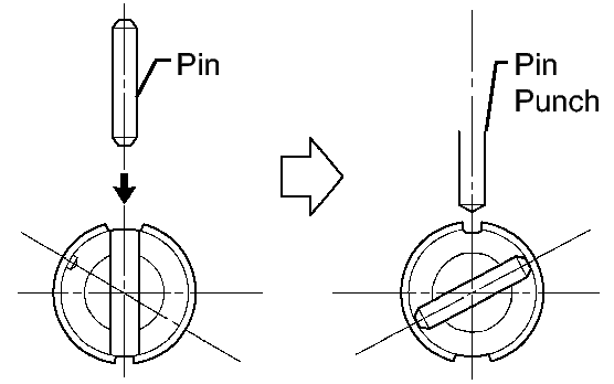
    2. Using a pin punch and hammer, tap in a new pin.
      Fig 128: Driving Out Pin
      GTY157895Courtesy of © TOYOTA, LICENSE AGREEMENT TMS1002
    3. Turn the spacer and the lever shaft to align the smaller hole of the spacer with the staking position mark on the lever shaft.
      Fig 129: Aligning Smaller Hole Of Spacer
      GTY232315Courtesy of © TOYOTA, LICENSE AGREEMENT TMS1002
    4. Using a pin punch, stake the spacer through the small hole.
    5. Check that the spacer does not turn.
  70. INSTALL MANUAL VALVE LEVER SHAFT RETAINER SPRING 
    1. Using needle-nose pliers, install the retainer spring.
      Fig 130: Remove/Install Manual Valve Lever Shaft Retainer Spring
      GTY157892Courtesy of © TOYOTA, LICENSE AGREEMENT TMS1002
  71. INSTALL PARKING LOCK PAWL BRACKET 
    1. Install the parking lock pawl bracket with the 2 bolts.
      Fig 131: Installing Parking Lock Pawl Bracket
      GTY162047Courtesy of © TOYOTA, LICENSE AGREEMENT TMS1002

      Torque: 20 N*m (204 kgf*cm, 15 ft.*lbf) 

      Bolt length

      25 mm (0.984 in.)

  72. INSTALL MANUAL DETENT SPRING SUB-ASSEMBLY 
    1. Install the manual detent spring and cover with the 2 bolts.
      Fig 132: Identifying Manual Detent Spring
      GTY157893Courtesy of © TOYOTA, LICENSE AGREEMENT TMS1002
      NOTE:

      Make sure to install the manual detent spring and cover in this order.

      Bolt A 

      Torque: 20 N*m (204 kgf*cm, 15 ft.*lbf) 

      Bolt B 

      Torque: 12 N*m (122 kgf*cm, 9 ft.*lbf) 

      HINT: 

      Each bolt length is indicated below.

      • Bolt A 27 mm (1.063 in.)
      • Bolt B 16 mm (0.630 in.)
  73. INSTALL B-3 ACCUMULATOR PISTON 
    1. Coat a new O-ring with ATF, and install it to the B-3 accumulator piston.
      Fig 133: Remove/Install O-Ring From B-3 Accumulator Piston
      GTY166522Courtesy of © TOYOTA, LICENSE AGREEMENT TMS1002
    2. Install the 2 springs to the transaxle.
      Fig 134: Identifying Accumulator B-3 Piston And Spring
      GTY164185Courtesy of © TOYOTA, LICENSE AGREEMENT TMS1002
    3. Coat the piston with ATF, and install it to the transaxle.

      Standard Accumulator Spring Length and Diameter

      Spring Free Length
      Outer Diameter (mm (in.))
      Color
      B-3 Inner 60.24 (2.3716)
      15.9 (0.626)
      Yellowish green
      B-3 Outer 74.61 (2.9374)
      21.7 (0.854)
      Blue
  74. INSTALL C-1 ACCUMULATOR PISTON 
    1. Coat 2 new O-rings with ATF, and install them to the C-1 accumulator piston.
      Fig 135: Locating O-Rings
      GTY157831Courtesy of © TOYOTA, LICENSE AGREEMENT TMS1002
    2. Install the spring to the transaxle.
      Fig 136: Installing Piston
      GTY212601Courtesy of © TOYOTA, LICENSE AGREEMENT TMS1002
    3. Coat the piston with ATF, and install it to the transaxle.

      Standard Accumulator Spring Length and Diameter

      Spring Free Length
      Outer Diameter (mm (in.))
      Color
      C-1 81.53 (3.2098)
      18.5 (0.728)
      Pink
  75. INSTALL C-3 ACCUMULATOR PISTON 
    1. Coat a new O-ring with ATF, and install it to the C-3 accumulator piston.
      Fig 137: Remove/Install O-Ring From C-3 Accumulator Piston
      GTY163902Courtesy of © TOYOTA, LICENSE AGREEMENT TMS1002
    2. Coat the piston with ATF, install it to the transaxle case.
      Fig 138: Installing C-3 Accumulator Piston With ATF
      GTY166023Courtesy of © TOYOTA, LICENSE AGREEMENT TMS1002

      Standard Accumulator Spring Length and Diameter

      Spring Free Length
      Outer Diameter (mm (in.))
      Color
      C-3 90.49 (3.5626)
      19.2 (0.756)
      White
    3. Install the spring to the C-3 accumulator piston.
      Fig 139: Removing Spring From C-3 Accumulator Piston
      GTY165222Courtesy of © TOYOTA, LICENSE AGREEMENT TMS1002
  76. INSTALL CHECK BALL BODY 
    1. Install the check ball body and spring.
      Fig 140: Identifying Check Ball Body And Spring
      GTY165783Courtesy of © TOYOTA, LICENSE AGREEMENT TMS1002
  77. INSTALL BRAKE DRUM GASKET 
    1. Coat a new brake drum gasket with ATF, and install it to the transaxle case.
      Fig 141: Locating Brake Drum Gasket
      GTY166079Courtesy of © TOYOTA, LICENSE AGREEMENT TMS1002
  78. INSTALL TRANSAXLE CASE 2ND BRAKE GASKET 
    1. Coat a new transaxle case 2nd brake gasket with ATF, and install it to the transaxle case.
      Fig 142: Locating Transaxle Case 2nd Brake Gasket
      GTY159183Courtesy of © TOYOTA, LICENSE AGREEMENT TMS1002
  79. INSTALL NO. 1 GOVERNOR APPLY GASKET 
    1. Coat a new No. 1 governor apply gasket with ATF, and install it to the transaxle case.
      Fig 143: Installing No. 1 Governor Apply Gasket
      GTY166716Courtesy of © TOYOTA, LICENSE AGREEMENT TMS1002
  80. INSTALL TRANSMISSION WIRE 
    1. Coat a new O-ring with ATF, and install it to the transmission wire.
      Fig 144: Installing Transmission Wire
      GTY225231Courtesy of © TOYOTA, LICENSE AGREEMENT TMS1002
    2. Install the transmission wire retaining bolt.
      Fig 145: Installing Transmission Wire Retaining Bolt
      GTY224366Courtesy of © TOYOTA, LICENSE AGREEMENT TMS1002

      Torque: 5.4 N*m (55 kgf*cm, 48 in.*lbf) 

  81. INSTALL TRANSMISSION VALVE BODY ASSEMBLY 
    1. Align the groove of the manual valve with the pin of lever.
      Fig 146: Tightening Bolts
      GTY231424Courtesy of © TOYOTA, LICENSE AGREEMENT TMS1002
    2. Install the 17 bolts.

      Torque: 11 N*m (112 kgf*cm, 8 ft.*lbf) 

      NOTE:
      • Push the valve body against the accumulator piston spring and the check ball body to install it.
      • Tighten the bolts marked by * in the illustration first temporarily because they are positioning bolts.

      HINT: 

      Each bolt length is indicated below.

      Bolt length

      Bolt A 25 mm (0.984 in.)

      Bolt B 41 mm (1.614 in.)

      Bolt C 45 mm (1.771 in.)

    3. Connect the 5 solenoid connectors.
      Fig 147: Disconnecting Transmission Wire
      GTY158670Courtesy of © TOYOTA, LICENSE AGREEMENT TMS1002
    4. Coat the O-ring of the temperature sensor with ATF.
    5. Install the ATF temperature sensor with the lock plate and bolt.

      Torque: 6.6 N*m (67 kgf*cm, 58 in.*lbf) 

  82. INSTALL VALVE BODY OIL STRAINER ASSEMBLY 
    1. Coat a new O-ring with ATF.
      Fig 148: Locating O-Ring
      GTY157769Courtesy of © TOYOTA, LICENSE AGREEMENT TMS1002
    2. Install the O-ring to the oil strainer.
    3. Install the oil strainer with the 3 bolts.
      Fig 149: Locating Oil Strainer Bolts
      GTY163516Courtesy of © TOYOTA, LICENSE AGREEMENT TMS1002

      Torque: 11 N*m (112 kgf*cm, 8 ft.*lbf) 

  83. INSTALL AUTOMATIC TRANSAXLE OIL PAN SUB-ASSEMBLY 
    1. Install the 3 magnets to the oil pan.
      Fig 150: Installing Automatic Transaxle Oil Pan Sub-Assembly
      GTY243709Courtesy of © TOYOTA, LICENSE AGREEMENT TMS1002
    2. Apply adhesive or equivalent to the 18 bolts.

      Adhesive

      Toyota Genuine Adhesive 1344, Three Bond 1344 or equivalent

      NOTE:

      Since the bolts are seal bolts, apply adhesive to the bolts and tighten them within 10 minutes of application.

    3. Using a new gasket, install the oil pan to the transaxle case with the 18 bolts.
      Fig 151: Fixing Automatic Transaxle Assembly
      GTY245610Courtesy of © TOYOTA, LICENSE AGREEMENT TMS1002

      Torque: 7.6 N*m (77 kgf*cm, 67 in.*lbf) 

  84. INSTALL NO. 1 TRANSAXLE CASE PLUG 
    1. Coat 4 new O-rings with ATF, and install them to the 4 plugs.
      Fig 152: Identifying No. 1 Transaxle Case Plugs
      GTY158680Courtesy of © TOYOTA, LICENSE AGREEMENT TMS1002
    2. Install the 4 plugs to the transaxle case.

      Torque: 7.4 N*m (75 kgf*cm, 65 in.*lbf) 

  85. INSTALL SPEED SENSOR 
    1. Coat 2 new O-rings with ATF, and install them to the 2 speed sensors.
      Fig 153: Installing Sensors
      GTY212389Courtesy of © TOYOTA, LICENSE AGREEMENT TMS1002
    2. Install the 2 speed sensors with the 2 bolts.

      Torque: 11 N*m (112 kgf*cm, 8 ft.*lbf) 

  86. INSTALL OIL COOLER INLET TUBE UNION 
    1. Coat a new O-ring with ATF, and install it to the union.
      Fig 154: Identifying Oil Cooler Inlet Tube Union
      GTY236101Courtesy of © TOYOTA, LICENSE AGREEMENT TMS1002
    2. Install the union to the transaxle.

      Torque: 27 N*m (276 kgf*cm, 20 ft.*lbf) 

  87. INSTALL OIL COOLER OUTLET TUBE UNION 
    1. Coat a new O-ring with ATF, and install it to the union.
      Fig 155: Installing Breather Plug Hose
      GTY216619Courtesy of © TOYOTA, LICENSE AGREEMENT TMS1002
    2. Install the union to the transaxle.

      Torque: 25 N*m (255 kgf*cm, 18 ft.*lbf) 

  88. INSTALL BREATHER PLUG HOSE 
  89. INSTALL PARK/NEUTRAL POSITION SWITCH ASSEMBLY 
    1. Install the park/neutral position switch to the manual valve shaft.
      Fig 156: Installing Park/Neutral Position Switch Assembly
      GTY245620Courtesy of © TOYOTA, LICENSE AGREEMENT TMS1002
    2. Temporarily install the 2 bolts.
    3. Install a new lock plate and tighten the manual valve shaft nut.

      Torque: 5.4 N*m (55 kgf*cm, 48 in.*lbf) 

    4. Temporarily install the control shaft lever.
      Fig 157: Installing Control Shaft Lever
      GTY230876Courtesy of © TOYOTA, LICENSE AGREEMENT TMS1002
    5. Turn the lever counterclockwise until it stops, and then turn it clockwise 2 notches.
      Fig 158: Removing Control Shaft Lever
      GTY232682Courtesy of © TOYOTA, LICENSE AGREEMENT TMS1002
    6. Remove the control shaft lever.
    7. Align the groove with the neutral basic line.
      Fig 159: Aligning Groove And Neutral Basic Line
      GTY220315Courtesy of © TOYOTA, LICENSE AGREEMENT TMS1002
    8. Hold the switch in this position and tighten the 2 bolts.

      Torque: 6.9 N*m (70 kgf*cm, 61 in.*lbf) 

    9. Using a screwdriver, stake the nut with the lock plate.
      Fig 160: Prying Off Lock Plate
      GTY245623Courtesy of © TOYOTA, LICENSE AGREEMENT TMS1002
    10. Install the control shaft lever with the washer and nut.
      Fig 161: Remove/Install Control Shaft Lever
      GTY245625Courtesy of © TOYOTA, LICENSE AGREEMENT TMS1002

      Torque: 13 N*m (133 kgf*cm, 10 ft.*lbf)